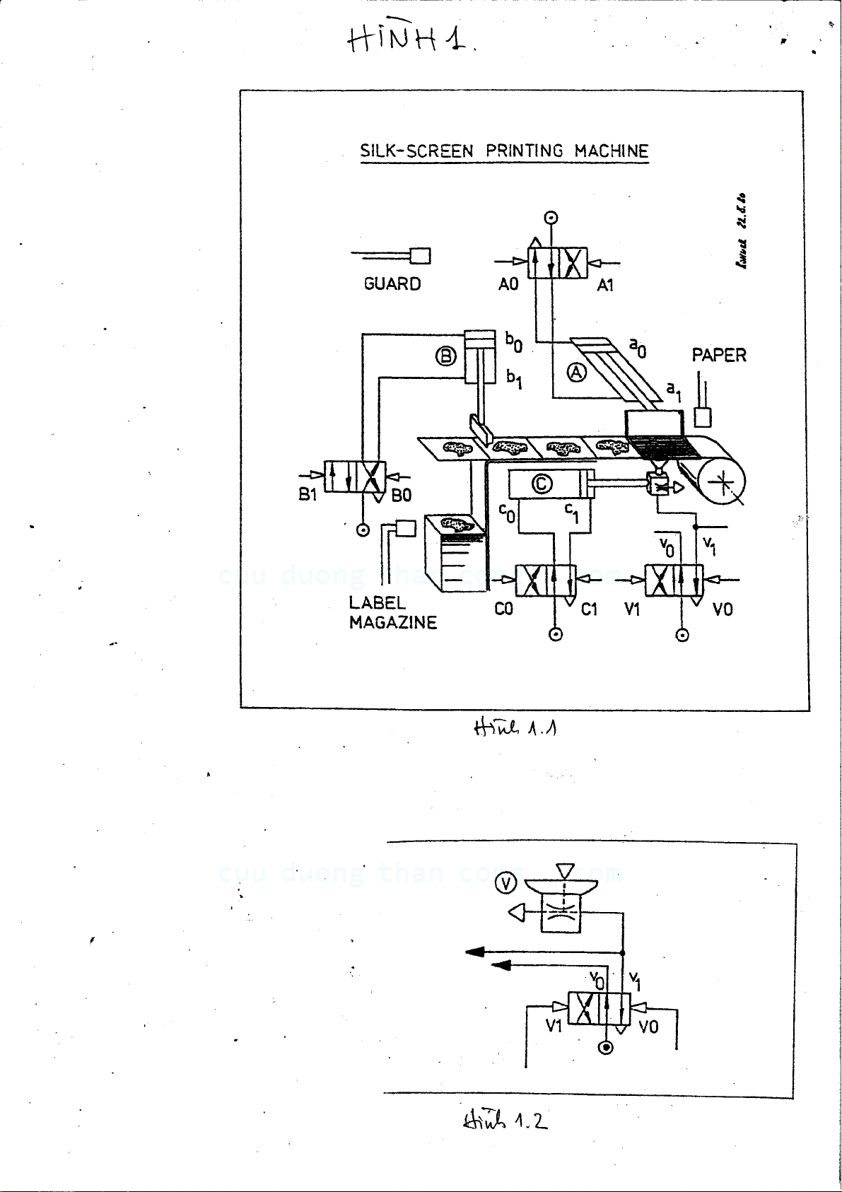
Đề thi học kỳ II năm 2015 - 2016 môn Hệ thống điều khiển thủy khí
Mời các bạn cùng tham khảo đề thi học kỳ II năm 2015 - 2016 môn Hệ thống điều khiển thủy khí của Trường Đại học Bách Khoa Tp.HCM. Đề thi gồm có 2 câu hỏi có kèm đáp án để người đọc làm quen với cấu trúc và cách làm bài. Cùng tìm hiểu và tham khảo nội dung thông tin tài liệu.

CuuDuongThanCong.com

CuuDuongThanCong.com

CuuDuongThanCong.com