
Chu trình máy l
ạnh hấp thụ
Máy lạnh dùng hơi có máy nén ở trên phải tiêu tốn điện năng để
chạy máy nén. ở những nơi có khó khăn về nguồn điện năng mà l
ại
dư thừa nguồn nhiệt khác.
Máy lạnh dùng hơi có máy nén ở trên phải tiêu tốn điện năng để
chạy máy nén.
ở những nơi có khó khăn về nguồn điện năng mà lại dư th
ừa nguồn
nhiệt khác. (như than, củi, khí thải, năng lượng mặt trời,...) máy
lạnh hấp thụ được sử dụng. ở máy lạnh hấp thụ, người ta thay quá
trình nén hơi trong máy nén bằng bình hấp thụ để hấp thụ hơi môi
chất ở áp suất p1 thành dung dịch rồi dùng bơm (tiêu tốn rất ít điện
năng so với máy nén) tăng áp suất đưa dung dịch lên bình tách hơi
(bình tách hơi) ở áp suất p2 để tạo ra hơi ở áp suất này.
Vậy trong máy lạnh hấp thụ phải dùng một cặp môi chất: chất tải
lạnh (ví dụ NH3), chất hấp thụ (ví dụ H2O).
Để có thể tách được hơi của chất tải lạnh khỏi chất hấp thụ, ở cùng
áp suất, nhiệt độ sôi của chất tải lạnh tsNH3 phải càng nhỏ hơn
nhiệt độ sôi của chất hấp thụ tsH2O càng tốt. Dưới đây ta xét chu
trình máy lạnh hấp thụ dùng cặp môi chất NH3- H2O.
ở đây nhiệt độ sôi của NH3 nhỏ hơn nhiệt độ sôi của H2O (ở cùng
áp suất) rất nhiều: ví dụ khi p = 6bar, tsNH3 = 10oC, tsH2O= 159oC.
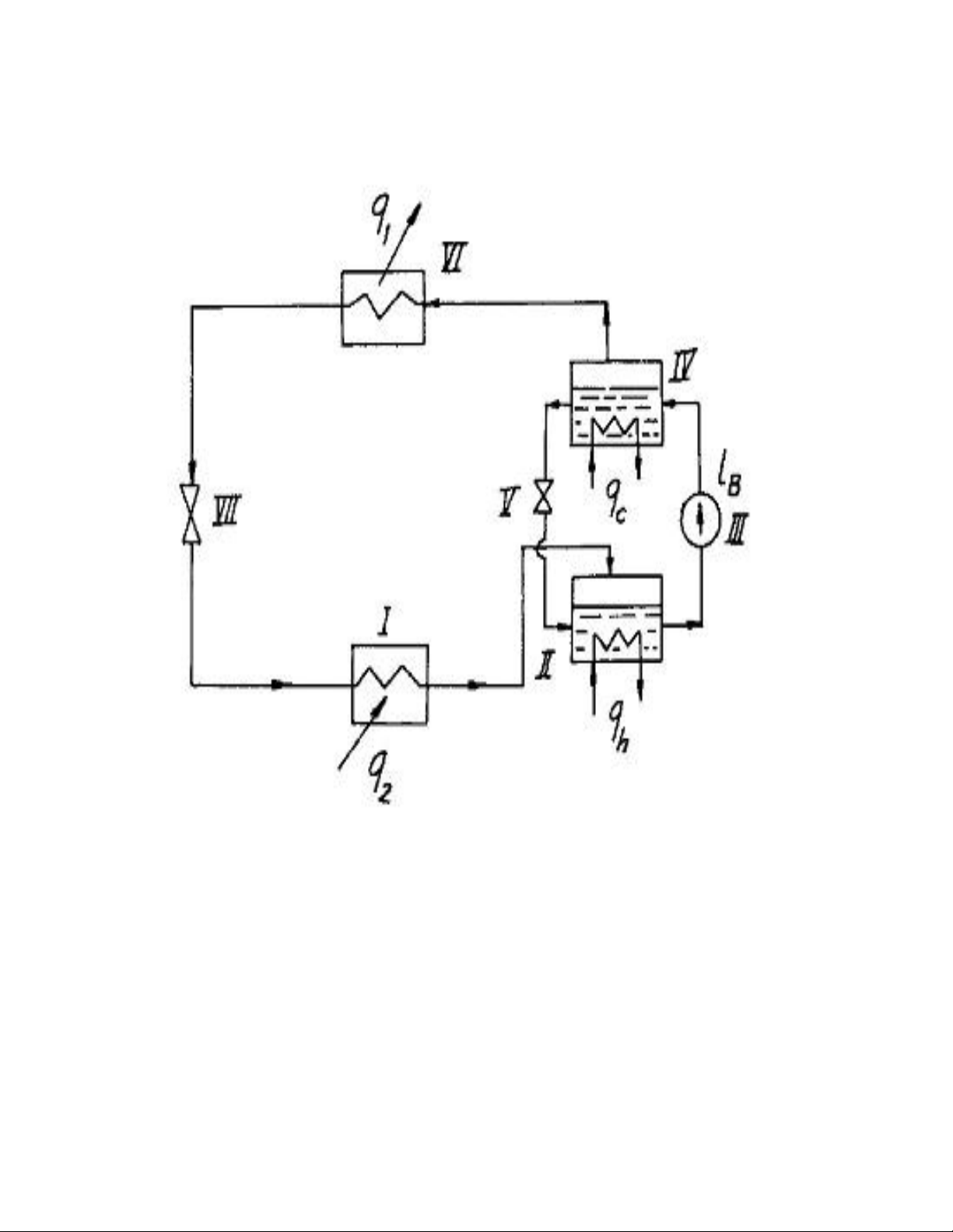
Sơ đồ nguyên lý của máy lạnh hấp thụ thể hiện theo hình vẽ dưới
đây

Hình vẽ: Sơ đồ nguyên lý máy lạnh hấp thụ
Hơi bão hoà ẩm NH3 ra khỏi van tiết lưu ở áp suất thấp p1 đi vào
buồng lạnh I, ở đây NH3 nhận nhiệt q2 của vật cần làm lạnh p1 =
const biến thành hơi bão hoà khô.
Hơi bão hoà khô NH3 ra khỏi buồng lạnh đi vào bình hấp thụ II. ở
đây được H2O hấp thụ tạo nên dung dịch NH3- H2O ở áp suất p1.
Vì phản ứng hấp thụ NH
3
- H
2
O toả nhiệt qh, nên để tăng khả năng

hấp thụ người ta phải lấy nhiệt đó đi (làm mát bình hấp thụ). Sau
đó dung dịch NH3- H2O được bơm III đưa đến bình sinh hơi IV ở
áp suất p2 lớn hơn p1. Trong quá trình hấp thụ, nồng độ của NH3
trong dung dịch ở bình hấp thụ tăng nên người ta đưa dung dịch có
nồng độ nhỏ hơn ở bình sinh hơi qua van V xuống bình hấp thụ để
làm giảm nồng độ ở bình hấp thụ và tăng khả năng hấp thụ.
Người ta phải cấp nhiệt qc cho bình sinh hơi IV (nhiệt có thể lấy từ
hơi nước, than, năng lượng mặt trời..) ở áp suất p2, ở đây do nhiệt
độ sôi của NH3 nhỏ hơn của H2O nhiều nên NH3 bốc thành hơi bão
hoà khô ở p2 và đi vào bình ngưng.
Hơi NH3 đi vào bình ngưng VI và ngưng tụ ở p2 = const nhả nhiệt
q1 cho nước hoặc không khí làm mát, biến thành chất lỏng.
Chất lỏng NH3ở p2 và nhiệt độ sôi tương ứng ts2, qua van tiết lưu
VII biến thành hơi bão hòa ẩm ở áp suất p1và nhiệt độ sôi ts1 nhỏ
hơn và đi vào buồng lạnh.
Để đánh giá mức độ hoàn thiện của chu trình máy lạnh hấp thụ
thuận nghịch người ta sử dụng đại lượng gọi là hệ số nhiệt x, đó là
tỷ số giữa nhiệt hữu ích q2 trong buồng lạnh với nhiệt cấp qc và
công bơm IB:
Thực tế công bơm lB rất bé so với qc nên có thể bỏ qua và ta
có:
Để đánh giá chu trình máy l
ạnh hấp thụ thực (không thuận nghịch),
ta sử dụng phương pháp phân tích execgi theo chiều thuận. Hiệu
suất execgi:

ở đây:
eq2 - execgi của nhiệt q2 của vật cần làm lạnh ở nhiệt độ Tv (Tv -
nhiệt độ môi trường), được xác định theo:
eqc - execgi của nhiệt cấp qc ở nhiệt độ nguồn cấp Tc (Tc > T0
)
Từ đó ta có biểu thức hiệu suất execgi của chu trình máy lạnh hấp
thụ thực:
Chúng ta nhận thấy, he tăng lên khi hệ số nhiệt x tăng, nhiệt độ của
vật cần làm lạnh Tv có giá trị nhỏ và nhiệt độ nguồn nhiệt cấp Tc
có giá trị nhỏ.
Trước đây máy lạnh hấp thụ được sử dụng khá rộng rãi nhưng sau
khi máy l
ạnh d
ùng hơi có máy nén ra đ
ời th
ì máy l
ạnh hấp thụ bị

thu hẹp phạm vi sử dụng, vì máy lạnh hấp thụ có hệ số nhiệt x nhỏ,
kết cấu cồng kềnh. Hiện nay máy lạnh hấp thụ còn được dùng ở
những nơi có nguồn nhiệt dư thừa (khí thải, năng lượng mặt
trời,...)

