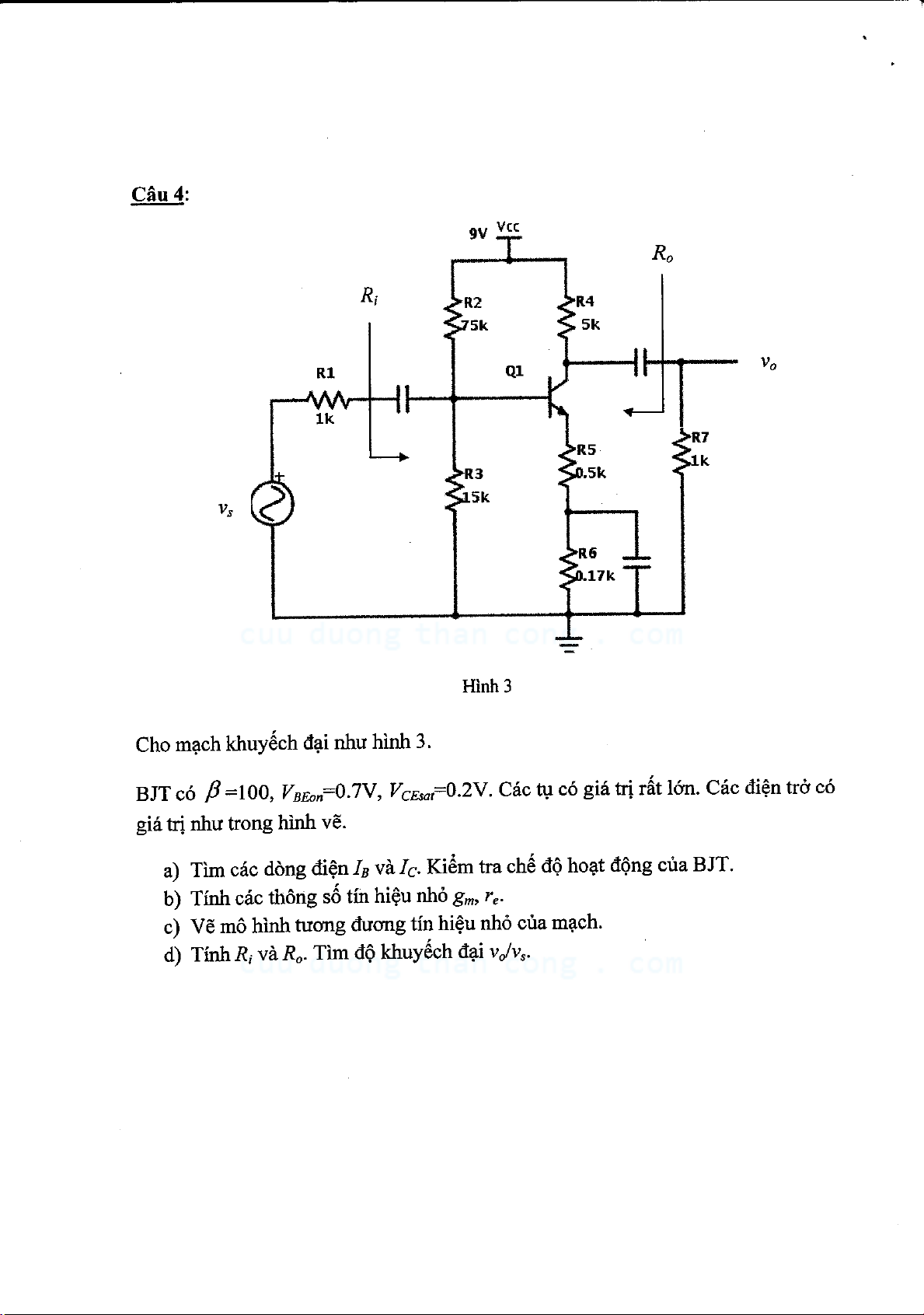
Đề kiểm tra giữa kỳ môn Mạch điện tử
Đề kiểm tra giữa kỳ môn Mạch điện tử có cấu trúc gồm 4 câu hỏi khái quát chương trình môn học Mạch điện tử. Đây là một tài liệu hữu ích giúp người học ôn tập và củng cố kiến thức, chuẩn bị cho kỳ thi sắp tới. Mời các bạn cùng tham khảo.

CuuDuongThanCong.com

CuuDuongThanCong.com

CuuDuongThanCong.com

CuuDuongThanCong.com