
Máy l
ạnh hấp thụ khuếch tán
Có hai loại máy lạnh hấp thụ khuếch tán.
Máy lạnh hấp thụ khuếch tán của Mauri người Thụy Điển có công suất lớn
sử dụng trong công nghiệp.
Máy này có nhiệt độ sôi thay đổi phù hợp với việc hạ thấp nhiệt độ không
khí dần xuống nhiệt độ yêu cầu nhằm nâng cao hiệu suất máy lạnh. Máy
lạnh hấp thụ khuếch tán công suất lớn vẫn có bơm dung dịch là chi tiết
chuyển động.
Nhưng ngày nay nói đến loại máy lạnh hấp thụ khuếch tán người ta thường
nghĩ đến tủ lạnh hấp thụ gia đình, với công suất lạnh nhỏ.
Sự ra đời của máy lạnh hấp thụ kiểu này xu
ất phát từ ý nghĩ chế tạo một máy
lạnh hấp thụ hoàn toàn không có chi tiết chuyển động. Để thực hiện điều đó
phải dùng một loại khí trơ nạp vào hệ thống để cân bằng áp suất bay hơi với
phần ngưng tụ và sinh hơi.
Sự tuần hoàn dung dịch trong hệ thống được thực hiện bằng b
ơm xiphông do
sự sai khác nhiệt độ dẫn tới chênh lệch khối lượng riêng và độ chênh cột
lỏng.
Đầu tiên người ta sử dụng nitơ làm khí trơ nhưng thất bại vì nó có phân tử
lượng gần bằng của amoniăc. Ngày nay người ta dùng hyđrô. Hyđrô có tính
khuếch tán tốt. Phân tử lượng nhỏ hơn nhiều của amôniăc. Trong cùng áp
suất và nhiệt độ, amôniăc có xu thế lắng xuống còn hyđrô chuyển động lên
do tỷ trọng khác nhau.
Đó là điều kiện tiên quyết cho việc tuần hoàn chất trong hệ thống và cũng là
lý do thử nghiệm thành công đối với hyđrô để cân bằng áp suất của hai kỹ s
ư
Thuỵ Điển Platen và Munter. Hình 1 mô tả sơ đồ nguyên lý của máy lạnh
hấp thụ khuếch tán.

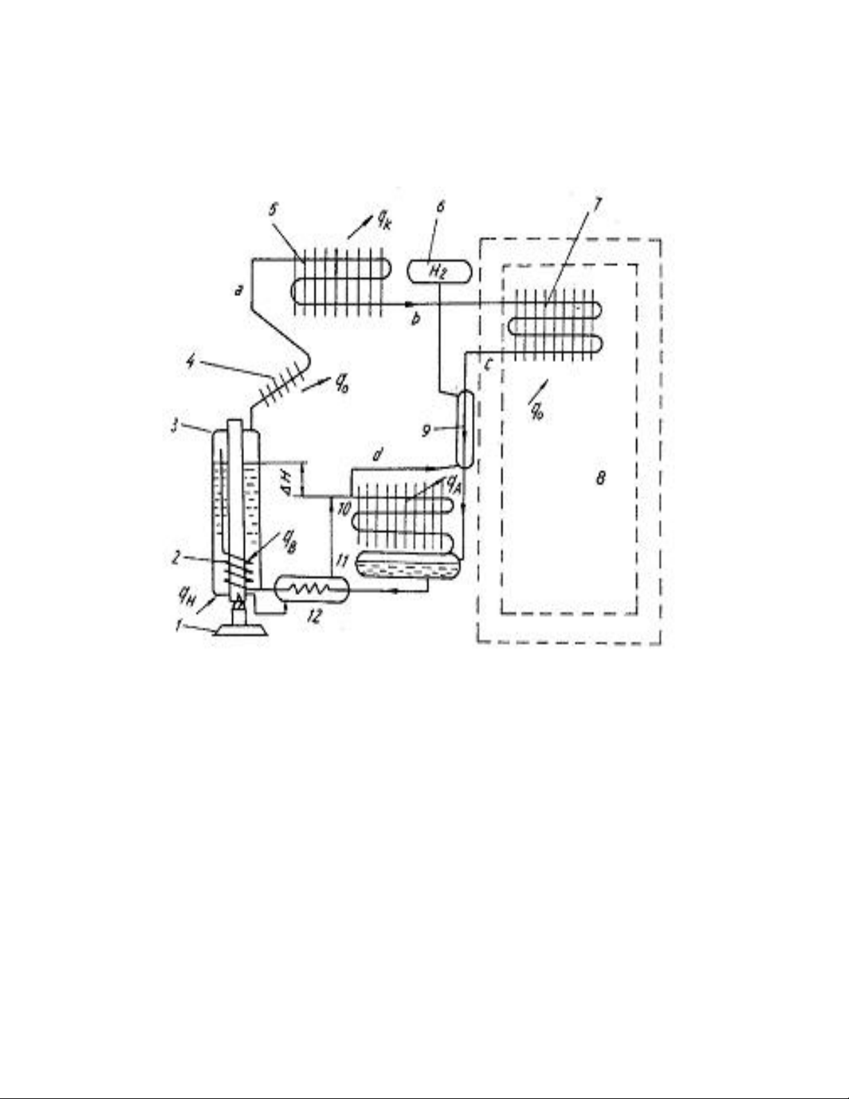
Hình 1. Sơ đồ nguyên lý máy lạnh hấp thụ khuếch tán
1. Đèn 2. Xiphông
3. Bình sinh hơi 4. Ngưng tụ hồi lưu

5. Dàn ngưng 6. Bình chứa H2
7. Dàn bay hơi 8. Tủ cách nhiệt
9. Hồi nhiệt dòng hơi 10. Dàn hấp thụ
11. Bình chứa dung dịch 12. Hồi nhiệt dung
dịch lỏng
Trong máy lạnh hấp thụ khuếch tán có ba vòng tuần hoàn.
1. Vòng tuần hoàn thứ nhất là của môi chất lạnh amôniăc. Môi chất lạnh từ
bình sinh hơi vào dàn ngưng, ngưng tụ rồi chảy vào dàn bay hơi hay còn gọi
là dàn khuếch tán. Hơi NH3 sẽ khuếch tán vào khí H2 từ áp suât riêng phần
bằng không lên đến áp suất tương ứng với nhiệt độ buồng lạnh sau đó theo
khí H2 lắng dần về dàn hấp thụ vì hỗnhợp NH3 + H2 nặng hơn.
Sau khi được hấp thụ NH3 dung dịch trở thành đậm đặc và được bơm
xiphông bơm trở lại bình sinh hơi.
2. Vòng tuần hoàn thứ 2 là của dung dịch. Vòng tuần hoàn này cũng giống
như ở máy lạnh hấp thụ bình thường.
Dung dịch đậm đặc được bơm xiphông bơm từ dàn hấp thụ vào bình sinh
hơi. Dung dịch sau khi sinh hơi amôniắc, trở thành dung dịch loãng. Do
chênh lệch cột lỏng dung dịch loãng tự chảy về dàn hấp thụ.
3. Vòng tuần hoàn thứ ba là của hyđrô.
Khí hyđrô trong dàn khuếch tán theo hơi NH3 lắng về dàn hấp thụ. Hơi NH3
được dung dịch hấp thụ dần. Hỗn hợp càng ít hơi NH3 càng nhẹ.
Dòng hỗn hợp chuyển động dần lên đỉnh dàn hấp thụ. Khi hết hơi NH3,
hyđrô chuyển động trở lại dàn bay hơi. Bình chứa hyđrô dùng để cân bằng
áp suất khi nhiệt độ bên ngoài thay đổi.
Trong máy lạnh hấp thụ khuếch tán có bố trí hai thiết bị hồi nhiệt, một giữa
NH3, H2 vào và ra khỏi dàn bay hơi, một cho dung dịch loãng và dung địch
dậm đặc vào và ra khỏi bình sinh hơi. Bơm xi phông làm việc theo nguyên
tắc thay đổi tỷ trọng. Dung địch được đốt nóng sinh ra những bọt hơi nhỏ,
bọt hơi có tác dụng kéo theo cả lỏng chảy và bình sinh hơi.

Trong thực tế người ta không thể đạt được các vòng tuần hoàn lý tưởng như
đã nếu. Thí dụ ở dàn ngưng lý thuyết là không có hyđrô nhưng thực tế là vẫn
có lẫn một ít hyđrô, hoặc khi ra khỏi dàn hấp thụ hơi đó là hơi hyđrô tinh
khiết nhưng thực chất vẫn có lẫn hơi amôniắc và nước, tuy nhiên có thể bỏ
qua khi tính toán.
Thí dụ:
tổng áp suất thiết bị là 1,6MPa nếu ta chọn nhiệt độ ngưng tụ là 40o
C và yêu
cầu nhiệt độ ở cúôi giàn bay hơi là to = 0oC thì áp suất riêng của hơi NH3ở
đó phải là 0,45MPa.
Áp suất này có thể tra theo đồ thị h - x.
Với áp suất PNH3 = 0,45MPa và nhiệt độ tk ta có thể xác định được xr của
dung dịch là 0,46kg NH3/kg dung dịch. Nếu chọn tH = 150oC kết hợp với pk
= 1,6MPa ta xác định được xa= 0,18kg/kg.
Dung dịch loãng từ bình sinh hơi chảy tự do về bình hấp thụ với xa =
0,18kg/kg. ở trạng thái cân bằng với pha lỏng, pha hơi sẽ có nồng độ xa =
0,9(tra theo đồ thị h - x). Và nếu hơi NH3 trong bình hấp thụ bị hấp thụ đến
áp suất riêng 0,1MPa (đó là đường sôi đi qua giao điểm của xa và tk) thì áp
suất riêneg của nước sẽ là PH2O = 0,01MPa.
Như vậy dòng hơi đi ra khỏi dàn hấp thụ bao gồm khoảng 93%H2, 6% NH3
và 1% H2O theo tỷ lệ thể tích.
Phương trình cân bằng nhiệt của máy lạnh hấp thụ khuếch tán là:
qH + qo + qB = qk + qA + qD
Trong đó: qH- nhiệt lượng gia nhiệt riêng; qo- năng suất lạnh riêng
qB- nhiệt lượng riêng cấp cho bơm xiphông
qk- nhiệt ngưng tụ riêng
qA- nhiệt hấp thụ riêng
qD- nhiệt lượng riêng ngưng tụ hồi lưu

Tuy rằng cấp nhiệt cho bơm xiphông, một phần hơi amôniăc đã được hình
thành nhưng khi so sánh với máy không có bơm xiphông thì tổng nhiệt này
vẫn lớn hơn là công suất đốt nóng cho máy hấp thụ bình thường.
Hệ số nhiệt z của máy lạnh hấp thụ khuếch tán đạt khoảng 0,3 khi làm mát
bằng không khí và bằng 0,4 khi làm mát bằng nước.

