
Nhóm 4:
1. Đào Văn Ho tạ
2. Phan Văn Hóa
3. Phan Tu n Hùngấ
CÁC LO I LASER KHÁC NHAUẠ
Hi n nay có r t nhi u lo i laser có nh ng kh năng khá đa d ng, th c t là bao trùmệ ấ ề ạ ữ ả ạ ự ế
toàn b ph t vùng h ng ngo i xa đ n vùng t ngo i. Các nhà v t lý quang h c quangộ ổ ừ ồ ạ ế ử ạ ậ ọ
ph còn có th s d ng các y u t phi tuy n ph i h p v i các laser đ m nh đ t o raổ ể ử ụ ế ố ế ố ợ ớ ủ ạ ể ạ
đ c các b c x nhân t n s (có t n s g p đôi hay g p 3…) hay t o b c x phát thôngượ ứ ạ ầ ố ầ ố ấ ấ ạ ứ ạ
s v i hi u su t chuy n đ i cao và không làm gi m ch t l ng k t h p không gian c aố ớ ệ ấ ể ổ ả ấ ượ ế ợ ủ
chùm tia laser. Ng i ta cũng còn có kh năng làm d ch chuy n t n s v phía sóng dàiườ ả ị ể ầ ố ề
hay sóng ng n h n (Hi u ng Raman c ng b c, hi u ng Brillouin).ắ ơ ệ ứ ưỡ ứ ệ ứ
I – Laser He-Ne (Hê-li – Nê-ông).
Laser He-Ne là laser khí đ u tiên trong l ch s . B c x laser x y ra do d ch chuy nầ ị ử ứ ạ ả ị ể
gi a các m c năng l ng c a nguyên t Ne trung hòa. Ngoài khí Ne, môi tr ng ho tữ ứ ượ ủ ử ườ ạ
ch t c a laser còn ch a khí Heli. H n h p có áp su t kho ng m t vài mmHg, áp su tấ ủ ứ ỗ ợ ấ ả ộ ấ
riêng ph n c a Heli cao g p kho ng 5-10 l n áp su t Neon.ầ ủ ấ ả ầ ấ
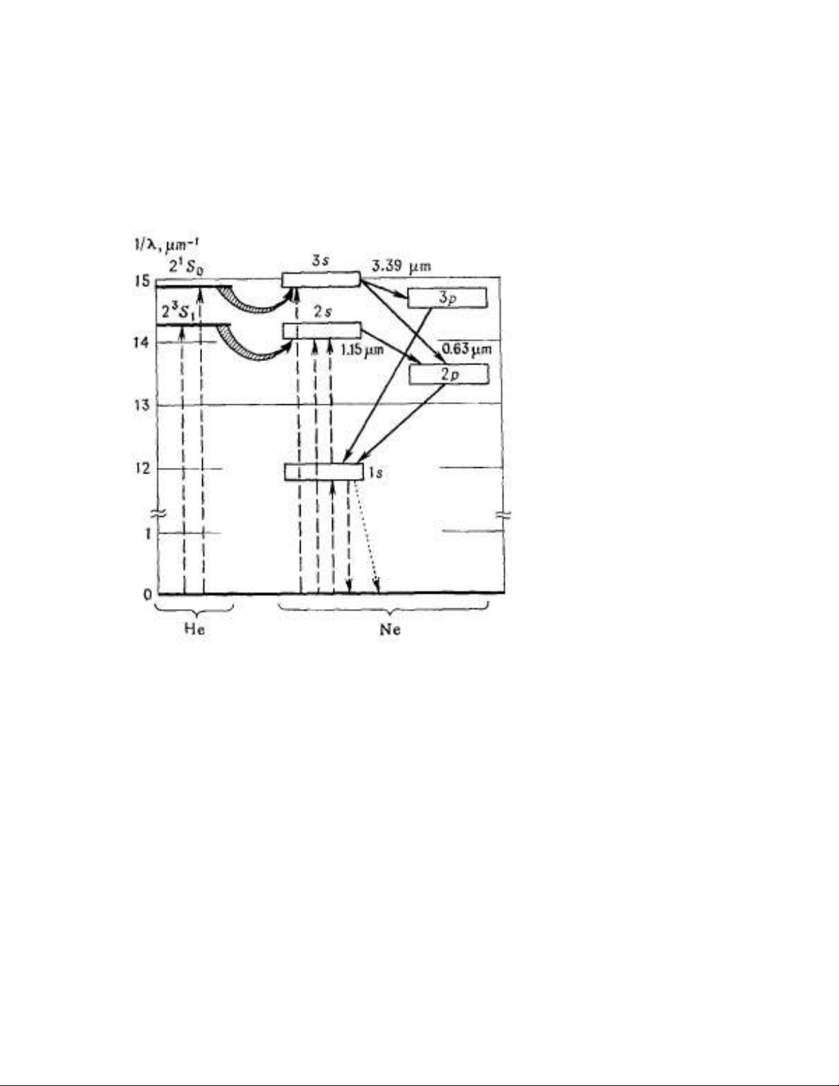
Laser He-Ne đ c kích thích b ng s phóng đi n dòng m t chi u. Hình 1 trình bàyượ ằ ự ệ ộ ề
các chuy n d i trong laser He-Ne. Các đ ng nét đ t th hi n các chuy n d i kích thíchể ờ ườ ứ ể ệ ề ờ
và h i ph c, đ ng nét th hi n các chuy n d i quang h c, đ ng ch m ch m thồ ụ ườ ể ệ ể ờ ọ ườ ấ ấ ể
hi n s ph c h i do va ch m v i thành ng, các mũi tên cong th hi n s truy n năngệ ự ụ ồ ạ ớ ố ể ệ ự ề
l ng c ng h ng t He sang Ne.ượ ộ ưở ừ
Các d i năng l ng c a nguyên t Ne t ng ng v i các c u hình đi n t nh t đ nh.ả ượ ủ ử ươ ứ ớ ấ ệ ử ấ ị
Trong hình v s d ng ký hi u Paschen:ẽ ử ụ ệ
D iảC u hìnhấ
1s 2p53s
1s 2p54s
3s 2p55s
2p 2p53p
3p 2p54p
M i d i s g m 4 m c, m i d i p g m 10 m c. Các d i 3s và 2s đóng vai trò m c laserỗ ả ồ ứ ỗ ả ồ ứ ả ứ
trên, các d i 3p và 2p đóng vai trò m c laser d i. Các chuy n d i laser ch y u là: 3s->ả ứ ướ ể ờ ủ ế
3p (3.39µm), 2s -> 2p (1.15µm), 3s->2p (0.6328µm) và chuy n d i 3sể ờ 2->2p (0.543nm).
S ngh ch đ o đ tích lũy c a laser He-Ne x y ra do t c đ tích lũy c a m c trên caoự ị ả ộ ủ ả ố ộ ủ ứ
h n nhi u t c đ tích lũy c a m c d i. Các nguyên t Ne đ c kích thích lên các m cơ ề ố ộ ủ ứ ướ ử ượ ứ
laser trên nh quá trình truy n năng l ng c ng h ng khi va ch m không đàn h i v iờ ề ượ ộ ưở ạ ồ ớ
các nguyên t He tr ng thái kích thích: N u va ch m v i nguyên t He tr ng tháiử ở ạ ế ạ ớ ử ở ạ
21S0, nguyên t Ne nh y lên d i 3s. N u va ch m v i nguyên t He tr ng thái 2ử ả ả ế ạ ớ ử ở ạ 3S1,
nguyên t Ne s nh y lên d i 2s.ử ẽ ả ả
V i ba đi u ki n làm quá trình truy n năng l ng kích thích t nguyên t He choớ ề ệ ề ượ ừ ử
nguyên t Ne x y ra hi u qu :ử ả ệ ả
i) S g n nhau gi a các m c năng l ng t ng ng c a He và Neự ầ ữ ứ ượ ươ ứ ủ
ii) S siêu b n c a các m c 2ự ề ủ ứ 1S0 và 23S1

iii) Áp su t cao h n c a He so v i Ne. Do v y s truy n năng l ng ng c tr l iấ ơ ủ ớ ậ ự ề ượ ượ ở ạ
t Ne t i He là r t nh .ừ ớ ấ ỏ
Do các chuy n d i t đ ng t các m c laser trên (d i 3p và 2p) xu ng m c d i là bể ờ ự ộ ử ứ ả ố ứ ướ ị
c m trong g n đúng l ng c c, s ph c h i đ kh tích lũy c a m c laser d i (1S)ấ ầ ưỡ ự ự ụ ồ ể ử ủ ứ ướ
nh vào s d ch chuy n t phát và s va ch m c a Ne v i thành ng. Do đó các laserờ ự ị ể ự ự ạ ủ ớ ố
He-Ne có công su t phát l n thì hay c n có đ ng kính ng phóng đi n r t nh (maoấ ớ ầ ườ ố ệ ấ ỏ
d n).ẫ
Hình 1. Các chuy n d i trong laser He-Ne.ể ờ
Môi tr ng laser bao g m h n h p khí nguyên t He và Ne áp su t toàn ph n th pườ ồ ỗ ợ ử ở ấ ầ ấ
(m t – vài ch c Torr). Các d ch chuy n quang h c cho b c x laser x y ra trong cácộ ụ ị ể ọ ứ ạ ả
nguy n t Ne. Khí He làm vai trò khí đ m, ti p nh n năng l ng kích thích do quá trìnhể ử ệ ế ậ ượ
phóng đi n trong ng laser và truy n năng l ng kích thích này cho các nguyên t khí Neệ ố ề ượ ử
đang tr ng thái c b n nh va ch m không đàn h i. S trao đ i năng l ng th c hi nở ạ ơ ả ờ ạ ồ ự ổ ượ ự ệ
gi a m c siêu b n 2ữ ứ ề 1S c a He v i m c 3s c a Nê-ông. S dích chuy n t 3s xu ng cácủ ớ ứ ủ ự ể ừ ố
m c c a 2p có th cho các b c x b c sóng 6328, 6320, 5941 và 5435 (s d chứ ủ ể ứ ạ ở ướ Ȧ ự ị
chuy n t 3s xu ng 3p cho b c x 3,39 µm). Công su t b c x v i các v ch trong vùngể ừ ố ứ ạ ấ ứ ạ ớ ạ
kh ki n th ng là nh t 1 đ n 10 mW ch đ liên t c; n u ng i ta tăng dòngả ế ườ ỏ ừ ế ở ế ộ ụ ế ườ
phóng đi n hay áp su t c a khí thì s xu t hi n các c ch phá h y m c siêu b n. Laserệ ấ ủ ẽ ấ ệ ơ ế ủ ứ ề
này có th ho t đ ng ch đ đa mode; đó là tr ng h p các laser th ng th y v i giáể ạ ộ ở ế ộ ườ ợ ườ ấ ớ
thành kho ng d i 1000 USD. Nó có th ho t đ ng ch đ đ n mode đ thu đ cả ướ ể ạ ộ ở ế ộ ơ ể ượ
t n s khá n đ nh.ầ ố ổ ị
S chuy n c ng h ng năng l ng là r t đ c bi t trong tr ng h p He-Ne. Theo cácự ể ộ ưở ượ ấ ặ ệ ườ ợ
đi u ki n phóng đi n, m t trong các c ch chuy n có th là r t d dàng và ta thu đ cề ệ ệ ộ ơ ế ể ể ấ ễ ượ
các phát x ho c 1,14 µm ho c 0,632 µm và 3,39 µm.ạ ặ ở ặ ở

II – Laser khí cac-bô-nic
Môi tr ng laser th ng là h n h p phân t khí các-bô-nic và khí Nit . Các d ch chuy nườ ườ ỗ ợ ử ơ ị ể
quang h c cho b c x laser x y ra trong các phân t khí các-bô-nic. Phân t khí Ni đ cọ ứ ạ ả ử ử ượ
s d ng đ tăng c ng kh năng kích thích phân t các-bô-nic. Tr ng thái đi n t cử ụ ể ườ ả ử ạ ệ ử ơ
b n c a phân t khí cac-bô-nic g m nhi u mode dao đ ng liên k t v i chuy n đ ngả ủ ử ồ ề ộ ế ớ ể ộ
quay thành m t s l n m c dao đ ng quay thành m t s m c dao đ ng quay. Toàn bộ ố ớ ứ ộ ộ ố ứ ộ ộ
các m c t ng ng v i m t mode dao đ ng nào đó có th đ c tích lũy b i m t quáứ ươ ứ ớ ộ ộ ể ượ ở ộ
trình truy n năng l ng gi a phân t khí Ni đ c kích thích do dao đ ng v i phân t khíề ượ ữ ử ượ ộ ớ ử
cac-bô-nic tr ng thái c b n: ở ạ ơ ả
Khi phóng đi n huỳnh quang trong Ni-t t l s n sinh ra đ c bi t cao do k t qu c aệ ơ ỷ ệ ả ặ ệ ế ả ủ
c ch :ơ ế
=>Môi tr ng laser s là m t h n h p Ni-t – khí cac-bô-nic; và b c x laser s th cườ ẽ ộ ỗ ợ ơ ứ ạ ẽ ự
hi n trên m t s d ch chuy n nào đó xu t phát t các tr ng thái quay khác nhau c a m cệ ộ ố ị ể ấ ừ ạ ủ ứ
0001. Các b c x laser có th bao ph khá r ng t 9,1 đ m 10,7 µm, nghĩa là trong h ngứ ạ ể ủ ộ ừ ế ồ
ngo i v i m t hi u su t bi n đ i năng l ng c c kỳ cao đ i v i m t laser, t vài ph nạ ớ ộ ệ ấ ế ổ ượ ự ố ớ ộ ừ ầ
trăm đ n vài ch c ph n trăm.Vi c dùng khí COế ụ ầ ệ 2 t các đ ng v khác nhau c a C và c aừ ồ ị ủ ủ
O cho phép tăng s d ch chuy n có th s d ng trong vùng h ng ngo i.ố ị ể ể ử ụ ồ ạ
Các tâm ho t ch t là các phân t COạ ấ ử 2, b c x x y ra do các chuy n d i gi a các m cứ ạ ả ể ờ ữ ứ
dao đ ng – quay tr ng thái đi n t c b n c a phân t COộ ở ạ ệ ử ơ ả ủ ử 2. Laser CO2 có th choể
công su t cao t i 10kW ho c h n trong ch đ liên t c và có hi u su t khá cao (t i 40-ấ ớ ặ ơ ế ộ ụ ệ ấ ớ
60%). Môi tr ng ho t ch t c a lo i này th ng là h n h p c a m t s thành ph n:ườ ạ ấ ủ ạ ườ ỗ ợ ủ ộ ố ầ
Khí CO2, N2, và m t s khí khác nh He, h i n c… Vai trò c a phân t khí ph , nóộ ố ư ơ ướ ủ ử ụ
truy n c ng h ng năng l ng kích thích c a nó cho phân t COề ộ ưở ượ ủ ử 2.
T o s đ o m t đ trong laser COạ ự ả ậ ộ 2:
Phân t COử2 có 4 b c dao đ ng t do ng v i 3 ki u dao đ ng: Ki u đ i x ng, k uậ ộ ự ứ ớ ể ộ ể ố ứ ể
bi n d ng và ki u b t đ i x ng. Các tr ng thái dao đ ng c a phân t COế ạ ể ấ ố ứ ạ ộ ủ ử 2 đ c bi uượ ể
di n b ng t p h p ba s l ng t vễ ằ ậ ợ ố ượ ử 1, v2, v3 t ng ng b ng h s kích thích c a cácươ ứ ằ ệ ố ủ
ki u dao đ ng trên.ể ộ
C ch t o thành s đ o m t đ đ c bi u di n trên hình 2. M c laser trên là (001), cácơ ế ạ ự ả ậ ộ ượ ể ễ ứ
m c (020) và (100) là các m c laser d i. Các chuy n d i laser (001)->(100) cho b c xứ ứ ướ ể ờ ứ ạ
10,4µm và chuy n d i (001)->(020) cho b c x 9,4µm.ể ờ ứ ạ
Các kích thích m c (001) x y ra do va ch m không đàn h i c a phân t COứ ả ạ ồ ủ ử 2 v i cácớ
đi n t (kích thích đi n t ) và s truy n năng l ng c ng h ng cho chúng t các phânệ ử ệ ử ự ề ượ ộ ưở ừ
t Nử2 đã đ c kích thích.ượ

Hình 2. C ch ho t đ ng và các chuy n d i c a laser phân t COơ ế ạ ộ ể ờ ủ ử 2
S ph c h i c a các m c (020) và (100) ch y u di n ra do s truy n năng l ng c ngự ụ ồ ủ ứ ủ ế ễ ự ề ượ ộ
h ng t i các phân t COưở ớ ử 2 ch a đ c kích thích. Đi u này d n t i tích lũy các phân tư ượ ề ẫ ớ ử
CO2 trên m c (010) (ký hi u r). C ch h i ph c chính đ i v i m c (010) là truy nứ ệ ơ ế ồ ụ ố ớ ứ ề
năng l ng (b ng va ch m không đàn h i) cho các phân t Hượ ằ ạ ồ ử 2O ho c nguyên t He (kýặ ử
hi u g).ệ
Quá trình đ o l n m t đ v a mô t trên v n còn có hi u qu ngay c áp su t cao,ả ộ ậ ộ ừ ả ở ẫ ệ ả ả ở ấ
nh v y có kh năng có đ c m t s l n phân t nên laser có th b c x m t công su tư ậ ả ượ ộ ố ớ ử ể ứ ạ ộ ấ
l n. Ng i ta có th th c hi n nh ng laser b c x nhi u kW ch đ lên t c, dùngớ ườ ể ự ệ ữ ứ ạ ề ở ế ộ ụ
trong công nghi p. Khi áp su t khí cac-bô-nic cao, các m c khác nhau b m r ng nênệ ấ ứ ị ở ộ
b c x c a laser có th liên t c đ c đi u ch nh trong vùng ph r ng đã nói trên.ứ ạ ủ ể ụ ượ ề ỉ ổ ộ ở
C n thi t ph i đ m b o t s E/P (E là c ng đ tr ng trong c t phóng đi n d ngầ ế ả ả ả ỷ ố ườ ộ ườ ộ ệ ươ
và P là áp su t c a c a h n h p khí) sao cho ti t di n kích thích đi n t c a Nấ ủ ủ ỗ ợ ế ệ ệ ử ủ 2 và m cứ
(001) c a COủ2 là l n nh t, còn ti t di n kích thích các m c (100), (020) và (010) c aớ ấ ế ệ ứ ủ
CO2 là nh . Vi c đ a vào laser COỏ ệ ư 2 khí Nit và m t s khí khác cũng nh vi c ch n t iơ ộ ố ư ệ ọ ố
u t s E/P là nh ng v n đ th c ti n quan tr ng trong m i laser đ đ m b o choư ỷ ố ữ ấ ề ự ễ ọ ỗ ể ả ả
laser ho t đ ng t t nh t.ạ ộ ố ấ
Laser CO2 đ c kích thích b ng ph ng pháp phóng đi n xung hay liên t c. Các laserượ ằ ươ ệ ụ
CO2 s d ng s phóng đi n trong h n h p COử ụ ự ệ ỗ ợ 2 + N2 là khá ph bi n, thay vì s phóngổ ế ự
đi n ch trong th tích ch a khí Nệ ỉ ể ứ 2 nh tr c đây. Trong c hau s đ d i, h n h p khíư ướ ả ơ ồ ướ ỗ ợ
ho c m i ch t khí đ c b m theo chu trình, khí này cho phép tránh đ c nh ng thay đ iặ ỗ ấ ượ ơ ượ ữ ổ
không mong mu n trong thành ph n hóa h c c a h n h p khí. Hi n nay, các laser COố ầ ọ ủ ỗ ợ ệ 2
đóng kín có năng l ng và tu i th cao là ph bi n.ượ ổ ọ ổ ế

Hình 3. Vài c u trúc ng phóng đi n c a laser COấ ố ệ ủ 2
III – Các lo i laser liên quan đ n quá trình va ch mạ ế ạ
S đ o l n đ tích lũy trong h các m c nguyên t hay phân t là k t qu c aự ả ộ ộ ệ ứ ử ử ế ả ủ
quá trình kích thích do va ch mạ
S phóng đi n trong ch t khí là m t hi n t ng ph c t p đó x y ra s c nh tranhự ệ ấ ộ ệ ượ ứ ạ ở ả ự ạ
gi a nhi u c ch : Kích thích, ion hóa, tái t h p đi n t - ion trao đ i đi n tích… Th cữ ề ơ ế ổ ợ ệ ử ổ ệ ự
nghi m cho th y trong m t s đi u ki n nào đó, m t ki u riêng đ t o nguyên t ệ ấ ộ ố ề ệ ộ ể ể ạ ử ở
tr ng thái kích thích có th tr thành chi m u th và m t s đ o l n đ tích lũy có thạ ể ở ế ư ế ộ ự ả ộ ộ ể
x y ra. Ph n ng ion hóa Penning: S phóng đi n trong m t h n h p A, B trong đó B làả ả ứ ự ệ ộ ỗ ợ
m t khí hi m, t o ra m t l ng l n tr ng thái siêu b n B* c a khí hi m nê ta có:ộ ế ạ ộ ượ ớ ạ ề ủ ế
i-ông A* có th tr ng thái kích thích và d i đây là các lo i laser liên quan đ n quáể ở ạ ướ ạ ế
trình va ch m nh v y:ạ ư ậ
1. Laser Ar-gông (hay Kryp-tông) ion hóa
Hình thành s đ o m t đ trong laser ion Argon:ự ả ậ ộ
Hình 4 trình bày nh ng chuy n d i quan tr ng trong ho t đ ng laser và s hình thànhữ ể ờ ọ ạ ộ ự
ngh ch đ o đ tích lũy trong laser ion Arị ả ộ +. Các đ ng nét đ t ng v i các d ch chuy nườ ứ ứ ớ ị ể
kích thích đi n t , đ ng nét li n ng v i các chuy n d i quang h c. Nhóm m c cóệ ử ườ ề ứ ớ ể ờ ọ ứ
c u hình đi n t 3pấ ệ ử 44s t ng ng v i các m c laser d i (m c 4s). Nhóm m c có c uươ ứ ớ ứ ướ ứ ứ ấ
hình 3p44p t ng ng v i các m c laser trên (m c 4p). Nhóm m c có c u hình 3pươ ứ ớ ứ ứ ứ ấ 43p
ng v i các m c c b n (m c 3p).ứ ớ ứ ơ ả ứ
Các chuy n d i 4p->4s cho xu t hi n 8 v ch (0,455; 0466; 0,473; 0,488; 0,497; 0,502µmể ờ ấ ệ ạ
và 0,515µm), trong đó các v ch màu l c (0,488µm) và màu lam (0,515µm) có đ chóiạ ụ ộ
cao nh t (c ng đ t ng đ i l n l t là 45% và 35%).ấ ườ ộ ươ ố ầ ượ
M c laser trên đ c kích thích nh các quá trình sau: (a) chuy n d i 3p->4d->4p; (b)ứ ượ ờ ể ờ
chuy n d i 3p->3d->4p; (c) chuy n d i 3p->4pể ờ ể ờ

