
Ch ng 5: C s c a giao th cươ ơ ở ủ ứ Nhóm 10
M C L CỤ Ụ
1. KI M SOÁT L I Ể Ỗ
1.1 Ki m soát l i b ng tay: ể ỗ ằ
- Khi nh p d li u vào máy tính t bàn phím, m i phím đ c n thì s có m t tậ ữ ệ ừ ỗ ượ ấ ẽ ộ ừ
mã đ c truy n vào máy theo t ng bit n i ti p thông qua m t UART theo ch đượ ề ừ ố ế ộ ế ộ
truy n b t đ ng b . Ch ng trình trong máy tính s đi u khi n quá trình nh p, đ c,ề ấ ồ ộ ươ ẽ ề ể ậ ọ
l u ký t và xu t ra màn hình.ư ự ấ
- N u c n xóa m t ký t , ta ch c n gõ m t ký t đi u khi n xóa thích h p (ví dế ầ ộ ự ỉ ầ ộ ự ề ể ợ ụ
phím backspace). Khi này ch ng trình s xóa ký t tr c đó ra kh i màn hình.ươ ẽ ự ướ ỏ
1.2 Ki m tra d i l i:ể ộ ạ (Echo checking)
1

Ch ng 5: C s c a giao th cươ ơ ở ủ ứ Nhóm 10
- Khi m t thi t b đ u cu i k t n i đ n m t máy tính xa thông qua PSTN vàộ ế ị ầ ố ế ố ế ộ ở
modem. Nh ng ký t đ c nh p t i máy đ u cu i s đ c g i đ n máy tính xaữ ự ượ ậ ạ ầ ố ẽ ượ ử ế ở
đ c, l u gi và truy n l i đ u cu i đ hi n th lên màn hình.ọ ư ữ ề ạ ầ ố ể ể ị
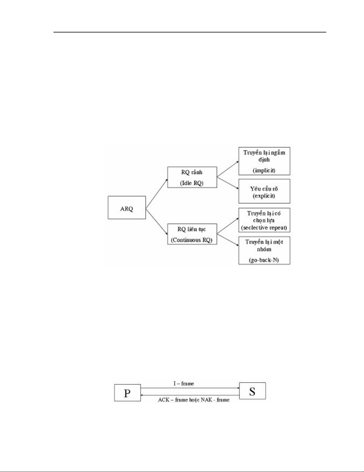
1.3 ARQ (Automatic Repeat Request)
- Máy tính s t đ ng ki m tra đ phát hi n l i truy n, sau đó g i l i cho ngu nẽ ự ộ ể ể ệ ỗ ề ử ạ ồ
tin m t thông đi p ng n đ báo nh n thành công ho c yêu c u g i l i m t b n saoộ ệ ắ ể ậ ặ ầ ử ạ ộ ả
c a frame v a đ n (do l i).ủ ừ ế ỗ
- Có 2 lo i ARQ c b n là idle RQ và continuous RQ. ạ ơ ả
+ Primary – P (phía s c p): là phía phát các khung d li u ơ ấ ữ ệ
+ Secondary – S (th c p): thu nh n các khung d li u t P. ứ ấ ậ ữ ệ ừ
+ I – frame (Information frame): khung thông tin là các khung ch a d li u màứ ữ ệ
phía phát truy n cho phía thu. M i khung có ch a s danh đ nh c a khung đó.ề ỗ ứ ố ị ủ
+ ACK – frame (Acknowledge frame): là nh ng khung đ c S truy n đ n P đữ ượ ề ế ể
báo là đã nh n đ c d li u t t (không b l i).ậ ượ ữ ệ ố ị ỗ
+ NAK – frame (Negative Acknowledge frame): là nh ng khung đ c S truy nữ ượ ề
đ n P đ báo là khung nh n đ c b l i.ế ể ậ ượ ị ỗ
2

Ch ng 5: C s c a giao th cươ ơ ở ủ ứ Nhóm 10
2. IDLE RQ
Đ c đi m c a l c đ idle RQ:ặ ể ủ ượ ồ
- S d ng trong ki u truy n d li u đ nh h ng ký tử ụ ể ề ữ ệ ị ướ ự
- Ho t đ ng theo ch đ bán song công, vì sau khi p g i I- frame ,nó ph i đ i choạ ộ ế ộ ử ả ợ
đ n khi nh n 1 thông báo t phía S cho bieetsI- frame đó nh n đ c thành công. Sauế ậ ừ ạ ượ
đó, P g i I- frame k ti p n u khung tr c đó nh n đúng ho c truy n l i khung cũử ế ế ế ướ ậ ặ ề ạ
n u I- frame không đ c nh n thành công.ế ượ ậ
Có 2 lo i Idle RQ:ạ
3

Ch ng 5: C s c a giao th cươ ơ ở ủ ứ Nhóm 10
- Truy n l i ng m đ nh( không t ng minh- implicit retansmission): S báo ACK-ề ạ ầ ị ườ
frame n u nh n đ c I- frame đúng và s không báo ACK- frame n u nh n sai. Do đó,ế ậ ượ ẽ ế ậ
n u P không nh n đ c ACK- Frame thì hi u là I- frame đã b l i và ph i truy n l i.ế ậ ượ ể ị ỗ ả ề ạ
th i gian ch ACK- frame c a P đ c xác đ nh tr c và không đ c lâu h n th i gianờ ờ ủ ượ ị ướ ượ ơ ờ
quá h n( time expires)ạ
- Truy n l i t ng minh(yêu c u rõ- Implicit retransmission): S báo ACK- frameề ạ ườ ầ
n u nh n I- frame đúng và báo NAK n u nh n I= frame b l i.ế ậ ế ậ ị ỗ
Idle ng m đ nh:ầ ị
Ho t đ ng c a idle RQ: (a) truy n l i ng m đ nhạ ộ ủ ề ạ ầ ị
Trong hình trên
a/ truy n đúngề
b/ I- frame b l iị ỗ
c/ Ack- frame b l iị ỗ
- P ch có m t I – frame đang ch ACK – frame. Khi P nh n đ c ACK- frameỉ ộ ờ ậ ượ
c a khung I(N), P s ti p t c truy n đi khung k ti p I(N+1).ủ ẽ ế ụ ề ế ế
- Khi S nh n đ c m t I – frame b l i, S s b qua và không g i l i ACK –ậ ượ ộ ị ỗ ẽ ỏ ử ạ
frame.
4

Ch ng 5: C s c a giao th cươ ơ ở ủ ứ Nhóm 10
- Khi P b t đ u truy n I – frame, nó s kh i đ ng b đ nh th i, n u quá kho ngắ ầ ề ẽ ở ộ ộ ị ờ ế ả
th i gian gi i h n thì P s truy n l i I – frame đó.ờ ớ ạ ẽ ề ạ
- N u P không nh n đ c ACK – frame trong kho ng th i gian đ nh tr c thì Pế ậ ượ ả ờ ị ướ
s truy n l i I – frame đó nh ng S s lo i b b ng sao này do b trùng l p. đi u nàyẽ ề ạ ư ẽ ạ ỏ ả ị ặ ề
th c hi n là do trong m i I – frame đi u truy n theo s tu n t c a khung.ự ệ ỗ ề ề ố ầ ự ủ
Idle t ng minhườ
- S s tr v ACK – frame n u nh n I – frame đúng.ẽ ả ề ế ậ
- N u P nh n đ c ACK- frame thì P s d ng b đ nh th i và kh i đ ng l iế ậ ượ ẽ ừ ộ ị ờ ở ộ ạ
đ ng truy n I – frame khácườ ề
- N u S nh n đ c m t I – frame b l i thì I – frame đó s b lo i và S s tr l iế ậ ượ ộ ị ỗ ẽ ị ạ ẽ ả ờ
b ng m t NAK-frame.ằ ộ
N u P không nh n đ c 1 ACK-frame(ho c NAK-frame) trong kho ng th i gianế ậ ượ ặ ả ờ
đ nh tr c thì P s truy n l i I – frame đó nh ng S s lo i b b ng ao này do b trùngị ướ ẽ ề ạ ư ẽ ạ ỏ ả ị
l p.ặ
5

