
Khoa cơ khí động lực Giáo viên ra đề
TRƯỜNG KỸ THUẬT CAO THẮNG ĐỀ THI HỌC KỲ II
BỘ MÔN KỸ THUẬT CƠ SỞ MÔN: Sức bền vật liệu
HỆ: Cao đẳng CK, Ôtô 19
(SV không sử dụng tài liệu, nộp lại đề) ĐỀ SỐ: 02 Thời gian: 90 phút
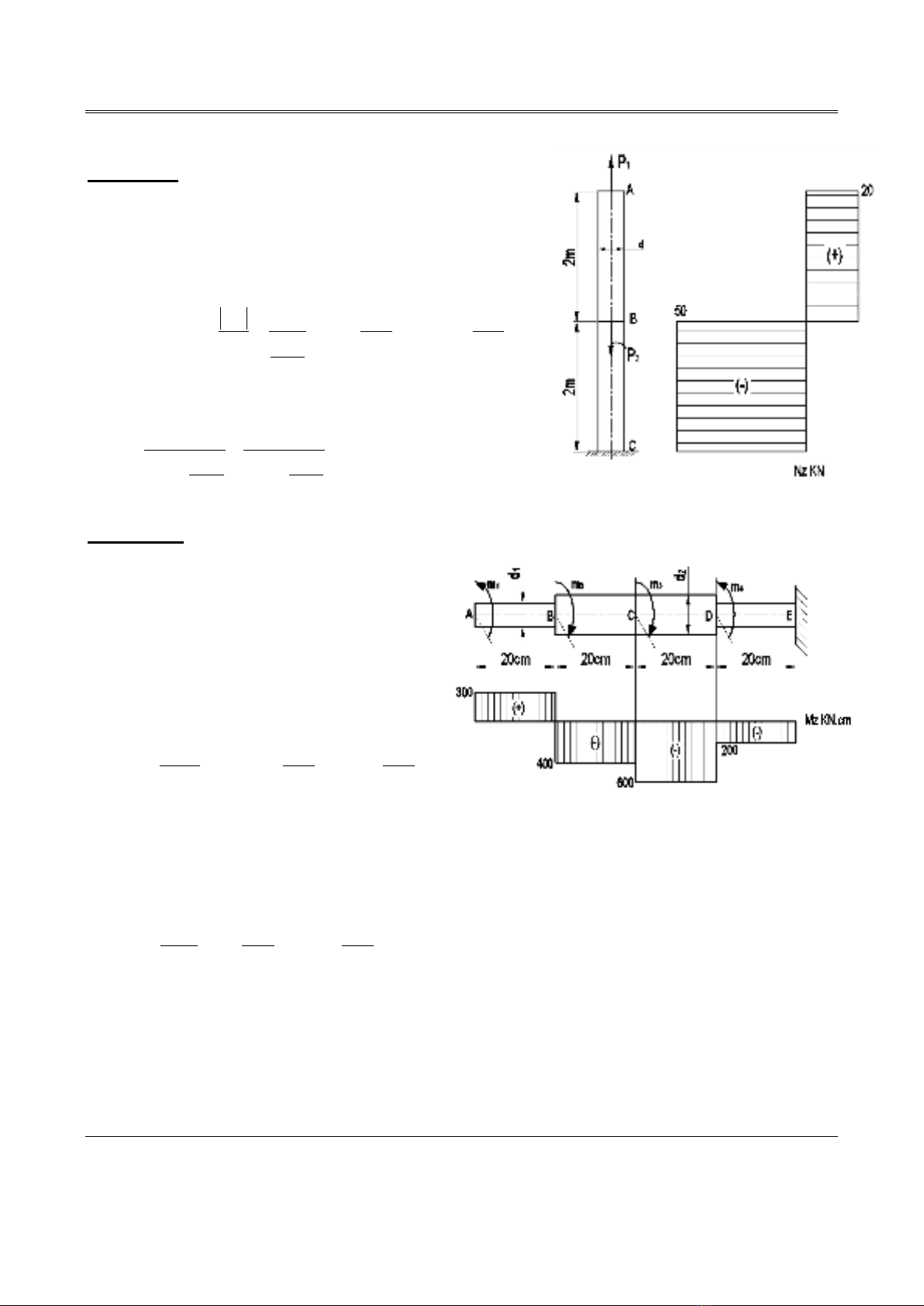
Bài 1: (3đ) Cho thanh AC chịu kéo nén đúng tâm như hình 1 với các tải
trọng P1=20KN đặt tai A; P2=70KN đặt tại B, thanh có đường kính d=3cm.
[σ]=10KN/cm²; E=20MN/cm².
a. Vẽ biểu đồ nội lực Nz
b. Kiểm tra thanh theo điều kiện bền.
c. Tính biến dạng dọc tuyệt đối thanh AC.
Bài 2: (2đ)
Cho thanh tròn đặc AE, có đường kính thay đi với đoạn AB và DE có
đường kính d1=7cm; đoạn BD có đường kính d2=10cm. Thanh chịu xoắn như
hình vẽ với đu E bị ngàm chặt. Các momen tác dng
cmKNm.300
1
;
cmKNm.700
2
;
cmKNm.200
3
;
cmKNm.400
4
.
a. Vẽ biểu đồ nội lực cho thanh AE.
b. Kiểm tra thanh AE theo điều kiện bền. Cho [ ]=6KN/cm2.
Bài 3: (5đ): Cho thanh AD có trọng lượng không đáng kể, chịu uốn ngang phẳng với các tải
trọng như hình 3. Với q=1KN/m; m=2KN.m đặt tại B; P=2KN đặt tại C. Cho
[σ]=12KN/cm². Hãy:
a. Vẽ biểu đồ lực cắt Qy và momen uốn Mx.
b. Bỏ qua ảnh hưởng của lực cắt. Kiểm tra thanh AD theo điều kiện bền với mặt cắt hình 3.1
c. Xác định kích thước mặt b của mặt cắt hình 3.2 theo điều kiện bền.
Hình 3
Hình 2
Hình 3.1
Hình 3.2
Hình 1

Khoa cơ khí động lực Giáo viên ra đề
TRƯỜNG KỸ THUẬT CAO THẮNG ĐÁP ÁN ĐỀ 2: SBVL
BỘ MÔN: KTCS HỆ: CĐ 19 HỌC KỲ II
Bài 1: (3đ)
a) Vẽ biểu nội lực và tính ứng suất lớn nhất
+ Vẽ biểu đồ nội lực (1đ)
+ Kiểm tra thanh theo điều kiện bền (1đ)
Thanh có đường kính d=3cm và nội lực
KNNZ50
max
Theo điều kiện bền:
22
2
1
max 10][07,7
4
3.
50
cm
KN
cm
KN
F
NZ
Thanh AC bền.
b) Tính biến dạng dọc tuyệt đối thanh AC. (1đ)
mlAC
4
2
4
2
4
10.24,4
4
3.
.10.2
2.50
4
3.
.10.2
2.20
Bài 2: (3 đ)
a. Vẽ biểu đồ (1 đ)
b. Kiểm tra thanh theo điều kiện bền xoắn:
(1đ)
* Xét đoạn AB và đoạn DE có đường kính
d1=7cm ta chọn momen xoắn
cmKNMAB
Z.300
để tính ứng suất
44
4
11 1,2047.1,0.1,0 cmdJO
Ta có:
22 637,45,3.
1,204
300
cm
KN
cm
KN
AB
.
Đoạn AB bền theo điều kiện bền xoắn.
* Xét đoạn BD có đường kính d2=10cm ta chọn momen xoắn
cmKNMCD
Z.600
để tính ứng
suất
44
4
22 100010.1,0.1,0 cmdJO
Ta có:
22 635.
1000
600
cm
KN
cm
KN
CD
. Đoạn BD bền theo điều kiện bền xoắn.
Vy thanh AE bền theo điều kiện bền.

Khoa cơ khí động lực Giáo viên ra đề
Bài 3: (5đ)
a. Tính phản lực (1đ): Y=4KN; N=4KN
Vẽ biểu đồ Qy (1đ)
Vẽ biểu đồ Mx (1đ)
b. Kiểm tra thanh AD theo điều kiện bền (1đ)
Từ biểu đồ ta có:
cmKNmKNMX.1000.10
max
;
2
10 cm
KN
Với tiết diện mặt cắt hình 3.1. Ta có:
4
3
500
12
10.6 cmJX
;
cmy5
max
Theo điều kiện bền:
max
max
max .y
J
M
X
X
22
max 12105.
500
1000
cm
KN
cm
KN
Thanh AD bền theo điều kiện bền.
c. Tính kích thước b của mặt cắt hình 3.2 theo điều kiện bền.
Với tiết diện mặt cắt hình chữ nht được làm rỗng như hình 3.2.
Ta có:
44
3
3
25,2500
12
3.
12
10.6 cmb
bb
JX
;
cmy5
max
Theo điều kiện bền:
max
max
max .y
J
M
X
X
cmb
cm
KN
b46,2125.
25,2500
1000
24
max
Vy chọn b=2,4cm

Khoa cơ khí động lực Giáo viên ra đề

