
Bài tập mạch 1 Biên soạn: Ths Phan Như Quân
SV Nguyễn Tấn Hòa (09DD111)
Trang 1
BÀI TẬP CHƯƠNG I
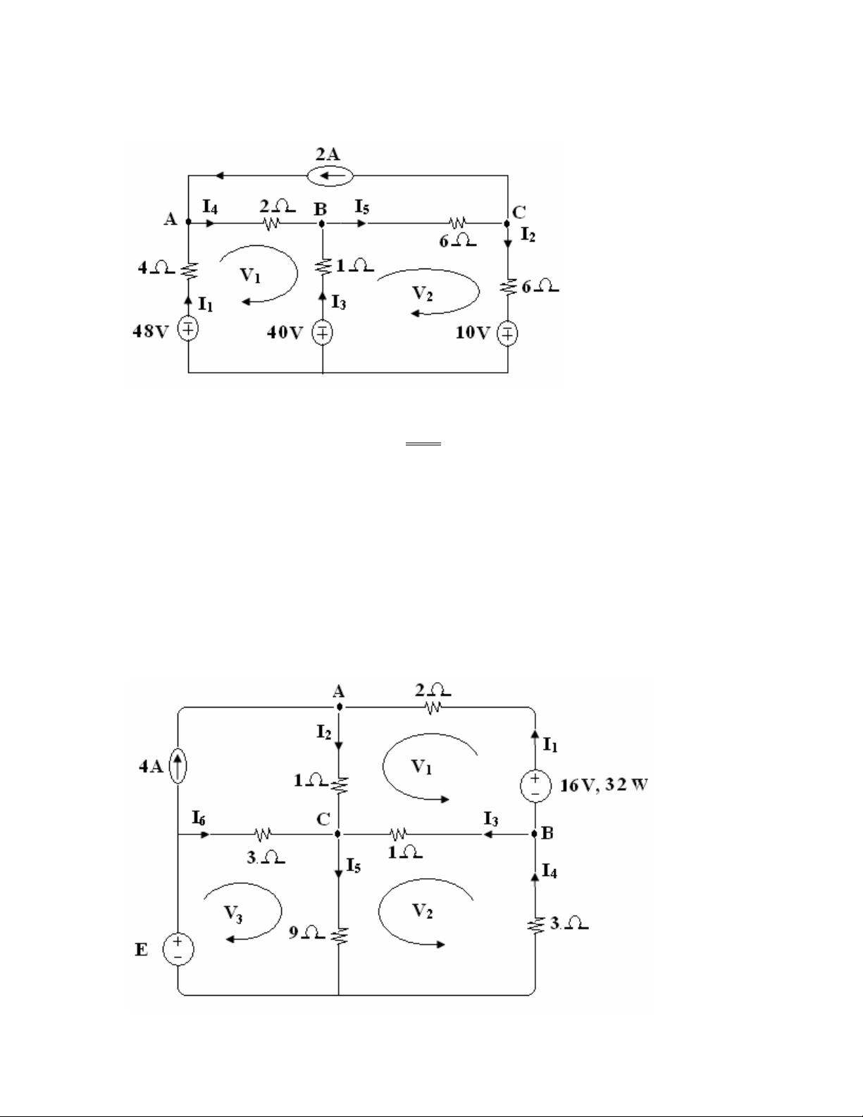
Bài 1:
Cho mạch điện sau như hình, biết I1=1A. xác định dòng điện trong các nhánh và công
suất cung cấp bởi nguồn dòng 2A.
GIẢI
K1A : I1- I4 + I2 = 0
I4 = 3A
K2V1 :4I1 + 2I4 –I3 = 48 – 40
I3 = 2A
K1B : I4 + I3 – I5 = 0
I5 = 5A
K1C : I5 – I2 – 2 = 0
I2 = 3A
P2A = UAC x 2
= ( UAB + UBC ) x 2 = ( 6 + 30 ) x 2 = ( 6 + 30 )x 2 = 72 ( W )
Bài 2:

Bài tập mạch 1 Biên soạn: Ths Phan Như Quân
SV Nguyễn Tấn Hòa (09DD111)
Trang 2
Xác định nguồn E để nguồn áp 16v cung cấp công suất 32 w
GIẢI
I1 =
16
32 = 2 ( A )
K1A: I1 + 4 – I2 = 0
I2 = 6 ( A )
K2V1: 2I1+1I2 – 1I3 =16
I3 = -6 ( A )
K1B: I4 = I3 + I1 = -6 + 2 = - 4 (A )
K2V2: 3I4 + 1I3 + 9I5 = 0
9I5 = 3( - 4 ) + ( - 6 )1
I5 = 2 ( A )
I6 = I5 – I3 – I2 = 2 – (-6 ) – 6 = 2 ( A )
K2V3: 3I6 + 9I5 = E
E = 2
3 + 9
2 = 24 ( V )
Bài 3: cho mạch điện như hình vẽ:
GIẢI
R56 =
3
6
63
= 2 (Ω)
R456 = 4 +2 = 6 (Ω)
R78 = 4 + 8 = 12 (Ω)
R 45678 =
18
126
= 4 (Ω)
R345678 = 4 +12 = 16 (Ω)
R2345678 =
32
1616
= 8 (Ω)
RTD = 2 + 8 = 10 (Ω)
I =
TD
R
U=
10
30 = 3 (A)
I1 =
3456782
345678
RR
RI
=
16
16
163
= 1.5 (A)

Bài tập mạch 1 Biên soạn: Ths Phan Như Quân
SV Nguyễn Tấn Hòa (09DD111)
Trang 3
I2 =
3456782
2
RR
RI
=
16
16
163
= 1.5 (A)
I3 =
45678
782
RR
RI
=
16
12
125.1
= 1 (A)
I4 = I2 – I3 = 1.5 – 1 = 0.5 (A)
Bài 4: cho mạch điện như hình vẽ:
Tính: a) I1, I2, I3 = ?
b) U1, U2, U3 = ?
E1 = 5
4 = 20 (V)
E2 = 3
2 = 6 (V)
E3 = 4
6 = 24 (V)

Bài tập mạch 1 Biên soạn: Ths Phan Như Quân
SV Nguyễn Tấn Hòa (09DD111)
Trang 4
K2: 4I + 4I + 2I = 24 – 20 + 6
10I = 10
I = 1
K1A: I – I3 + 5 = 0 I3 = 6 (A)
U1 = RI
3 = 6
4 = 24 (V)
K1B: I3 + I4 – 3 = 0 I4 = - 3 (A)
K1C: I4 – 5 + I2 = 0 I2 = 2 (A)
U2 = -I2
2 = - 4 (V)
K1D: -I – I1 + 6 = 0 I1 = 5 (A)
U3 = I1
4 = 20 ( V )
Bài 5: cho mạch điện như hình vẽ :
Tính : a) I1, I2, I3, I4 = ?
b) U = ?
GIẢI
R56 = 2 + 1 = 3 Ω
R456 =
2
6
36
= 2 Ω
R3456 = 2 + 2 = 4 Ω
R23456 =
4
12
412
= 3 Ω
RTD = 2 + 3 = 5 Ω
I =
TD
R
U=
5
60 = 12 (A)
I2 =
34562
34561
RR
RI
=
4
12
412
= 3 (A)
I3 = I1- I2 = 12-3 = 9 (A)
I4 =
564
43
RR
RI
=
3
9
69
= 6 (A)
U = I4
R6 = 1
6 = 6 (V)

Bài tập mạch 1 Biên soạn: Ths Phan Như Quân
SV Nguyễn Tấn Hòa (09DD111)
Trang 5
Bài 6: cho mạng diện như hình vẽ:
Tính: a) I1, I2,I3, I4 = ?
b) U = ?
GIẢI
R56 =
12
6
126
= 4 Ω
R456 = 4 + 8 = 12 Ω
R78 = 8 + 16 = 24 Ω
R45678 =
24
12
2412
= 8 Ω
R345678 = 8 + 24 = 32 Ω
R2345678 =
64
3232
= 16 Ω
RTD = 4 +16 = 20 Ω
I =
TD
R
U =
20
60 = 3 (A)
I3 =
3456782
2
RR
RI
=
32
32
323
= 1.5 (A)
I2 =
45678
783
RR
RI
=
12
34
345.1
= 1 (A)
I1 =
65
52
RR
RI
=
12
6
61
= 0.3 (A)
I4 = I3 – I2 = 0.5 (A)
U = I4
R8 = 0.5
16 = 8 (V)
Bài 7: cho mạch điện như hình vẽ:
Tính : I = ?

