
TRƢỜNG CAO ĐẲNG NGHỀ ĐÀ LẠT KHOA CƠ KHÍ
1
MODUN: SỬA CHỮA & BẢO DƢỠNG HỆ THỐNG NHIÊN LIỆU ĐỘNG CƠ XĂNG
Ngƣời biên soạn: LÊ THANH QUANG
CHƢƠNG TRÌNH MÔ ĐUN ĐÀO TẠO:
SỬA CHỮA VÀ BẢO DƢỠNG
HỆ THỐNG NHIÊN LIỆU ĐỘNG CƠ XĂNG
s m un MĐ 24
n m un 150 h; L t u t: 30 ; T ực n : 120
I. VỊ TRÍ, TÍNH CHẤT CỦA MÔ ĐUN:
- Vị trí của mô đun: mô đun đƣợc t ực iện sau k i ọc xong các môn ọc v mô đun
sau: Giáo dục t ể c ất; Giáo dục quốc p òng; Ngoại ngữ; Cơ kỹ t uật; Vật liệu cơ
k í; Vẽ kỹ t uật; T ực n nguội cơ bản; T ực n n cơ bản; Kỹ t uật c ung về
ô tô; Dung sai lắp g ép v đo lƣờng kỹ t uật; điện kỹ t uật, điện tử cơ bản, sửa c ữa -
bảo dƣỡng cơ cấu trục k uỷu t an tru ền...Mô đun n đƣợc bố trí giảng dạ ở ọc
kỳ III của k óa ọc v có t ể bố trí dạ song song với các môn ọc, mô đun sau:
c ín trị; p áp luật; sửa c ữa - bảo dƣỡng ệ t ống l m mát; sửa c ữa - bảo dƣỡng ệ
t ống n iên liệu động cơ diesel; sửa c ữa - bảo dƣỡng ệ t ống k ởi động v đán
lửa;...
- Tính chất của mô đun: mô đun c u ên môn ng ề bắt buộc.
II. MỤC TIÊU MÔ ĐUN:
Học xong mô đun n ọc viên sẽ có k ả n ng:
Tr n b đ đủ các êu c u, n iệm vụ c ung của ệ t ống n iên liệu động cơ
x ng.
Giải t íc đƣợc sơ đ cấu tạo v ngu ên tắc oạt động c ung của ệ t ống n iên
liệu động cơ x ng.
Tr n b đƣợc cấu tạo v ngu ên l oạt động các bộ p ận của ệ t ống n iên
liệu động cơ x ng.
P n tíc đ ng n ững iện tƣợng, ngu ên n n ƣ ng trong ệ t ống n iên liệu
động cơ x ng .
Tr n b đƣợc p ƣơng p áp bảo dƣỡng, kiểm tra v sữa c ữa n ững ƣ ng của
các bộ p ận ệ t ống n iên liệu động cơ x ng
T áo lắp, kiểm tra v bảo dƣỡng, sửa c ữa các c i ti t, bộ p ận đ ng qu tr n ,
qu p ạm v đ ng các tiêu c u n kỹ t uật trong sửa c ữa.
Sử dụng đ ng, ợp l các dụng cụ kiểm tra, bảo dƣỡng v sửa c ữa đảm bảo c ín
xác v an to n.
III. NỘI DUNG MÔ ĐUN:
1. Nộ dun tổn quát và p ân p t n
Số
T
T
Tên các bài trong mô đun
Thời gian
Tổng
số
Lý
thuyết
Thực
hành
Kiểm
tra*
1
Hệ t ống n iên liệu động cơ x ng dùng bộ
c òa k í
16
6
10
2
Sửa c ữa v bảo dƣỡng bơm x ng cơ k í
18
3
15
3
Sửa c ữa v bảo dƣỡng bơm x ng bằng
điện kiểu m ng bơm)
13
3
10
4
Sửa c ữa v bảo dƣỡng bộ c òa k í
24
4
20

TRƢỜNG CAO ĐẲNG NGHỀ ĐÀ LẠT KHOA CƠ KHÍ
2
MODUN: SỬA CHỮA & BẢO DƢỠNG HỆ THỐNG NHIÊN LIỆU ĐỘNG CƠ XĂNG
Ngƣời biên soạn: LÊ THANH QUANG
5
Sửa c ữa v bảo dƣỡng ệ t ống p un
chính của bộ c òa k í iện đại
12
2
10
6
Sửa c ữa v bảo dƣỡng ệ t ống k ông tải
của bộ c òa k í iện đại
12
2
10
7
Sửa c ữa v bảo dƣỡng cơ cấu ạn c tốc
độ của bộ c òa k í iện đai
7
2
5
8
Sửa c ữa v bảo dƣỡng cơ cấu l m đậm
của bộ c òa k í iện đại
12
2
10
9
Sửa c ữa v bảo dƣỡng cơ cấu t ng tốc của
bộ c òa k í iện đại
6
1
5
10
Sửa c ữa v bảo dƣỡng cơ cấu đóng, mở
bƣớm gió của bộ c òa k í iện đại
6
1
5
11
Sửa c ữa v bảo dƣỡng cơ cấu đóng mở
bƣớm ga của bộ c òa k í iện đại
6
1
5
12
Sửa c ữa v bảo dƣỡng t ùng n iên liệu v
b u lọc
12
2
10
13
Sửa c ữa v bảo dƣỡng đƣờng ống n iên
liệu v ống nạp ống xả
6
1
5
Cộng:
150
30
120
*Ghi chú: Thời gian kiểm tra được tích hợp giữa lý thuyết với thực hành được tính vào
giờ thực hành.

TRƢỜNG CAO ĐẲNG NGHỀ ĐÀ LẠT KHOA CƠ KHÍ
3
MODUN: SỬA CHỮA & BẢO DƢỠNG HỆ THỐNG NHIÊN LIỆU ĐỘNG CƠ XĂNG
Ngƣời biên soạn: LÊ THANH QUANG
2. Nộ dun t ết
Bài 1: HỆ THỐNG NHIÊN LIỆU ĐỘNG CƠ XĂNG
(dùng bộ chế hòa khí)
ụ t êu bà
Học xong b i n ngƣời ọc có k ả n ng:
- P át biểu đ ng êu c u, n iệm vụ ệ t ống n iên liệu dùng bộ c òa k í .
- Giải t íc đƣợc cấu tạo v ngu ên tắc oạt động của ệ t ống n iên liệu dùng c òa
k í .
- T áo lắp, n ận dạng v kiểm tra, bảo dƣỡng bên ngòai các bộ p ận của ệ t ống n iên
liệu đ ng êu c u kỹ t uật.
Nộ dun bài: Thời gian: 16 h (LT: 6; TH: 10 h)
1. Nhi m v , y u c u của h th ng nhi n li u ô tô
a, Nhi m v :
- Cung cấp òa k í ỗn ợp x ng v k ông k í sạc , đ ng đều về số lƣợng v
t n p n v o các x lan động cơ t eo êu c u về tốc độ v tải trọng của má .
- T ải sạc sản vật c á ra ngo i đảm bảo ô n iểm môi trƣờng cũng n ƣ g n ở
mức t ấp n ất.
b, êu c u:
- X ng v k ông k í p ải đƣợc lọc sạc trƣớc k i òa trộn với n au tạo t n òa
khí.
- Hỗn ợp x ng v k ông k í đƣợc òa trộn tốt dƣới dạng sƣơng.
- Tỷ lệ ỗn ợp x ng v k ông k í p ù ợp t eo mọi c độ l m việc của động cơ.
- Lƣợng ỗn ợp x ng v k ông k í v o các x lan đ ng đều n au.
* àn p ần ò k í: T ể iện tỷ lệ òa trộn giữa x ng v k ông k í, trong hòa
k í đƣợc đặc trƣng bằng ệ số dƣ lƣợng k ông k í α oặc λ oặc bằng số tỷ lệ k ông
khí- n iên liệu: l tỷ số giữa số lƣợng k ông k í Gk v số lƣợng x ng Gx c ứa trong òa
khí (m= Gk/Gx)
+ Với m = 14,7/1 đủ k ông k í ta có òa k í c u n l tƣởng
+ Với m > 14,7/1 dƣ k ông k í ta có òa k í n ạt ng èo x ng
+ Với m < 14,7/1 t i u k ông k í ta có òa k í đậm gi u x ng
- T n p n òa k í g ản ƣởng lớn đ n tín n ng oạt động của ôtô, mỗi c
độ oạt động của ôtô đòi i một t n p n òa k í n ất địn . L c k ởi động lạn êu
c u òa k í đậm m =9/1 , ở tốc độ trung b n bƣớm ga mở một p n m = 15/1, k i mở
đột ngột bƣớm ga để t ng tốc cũng p ải l m đậm tạm t ời c o òa k í đƣờng gạc gạc
n u k ông ôtô sẽ c t má , òa k í cũng đƣợc l m đậm m = 13/1 k i mở rộng oặc t
bƣớm ga v l c n c n đốt t ox trong bu ng c á để p át t công suất .
* P ản ứn áy n ên l ệu xăn và d esel dùn trên t
+ P ƣơng tr n p ản ứng óa ọc:
HC + N
2
+ O
2
= CO
2
+ H
2
O + CO + NO
x
+ HC + O
2
+ N
2
+ N u đƣợc đốt c á o n to n t sản p m c á g m có CO
2
, ơi nƣớc H
2
O,
k í nitơ N
2
c ứa trong k ông k í v k í ox t ừa. N u c á k ông o n to n t ngo i
các t n p n trên sản p m c á sẽ có ox tcacbon CO, nitơ ox t NO
x
v HC c ƣa
c á p n HC trong v p ải của p ƣơng tr n bao m cả ơi x ng từ ệ t ống t oát ra
ngo i trời k ông qua bu ng c á .

TRƢỜNG CAO ĐẲNG NGHỀ ĐÀ LẠT KHOA CƠ KHÍ
4
MODUN: SỬA CHỮA & BẢO DƢỠNG HỆ THỐNG NHIÊN LIỆU ĐỘNG CƠ XĂNG
Ngƣời biên soạn: LÊ THANH QUANG
+ Các k í độc ại g ô n iểm môi trƣờng, g ại c o con ngƣời, x c vật v c
cối g m: CO, HC, NO
x
Hình 1-01: Đƣờng biểu diễn sự liên ệ giữa vận tốc xe v tỷ lệ k í ỗn ợp
2 đ cấu t o và ho t đ ng của h th ng nhi n li u.
a, đ cấu t o
Hình 1-02: Hệ t ống cung cấp của động cơ x ng
1- b n x ng, 2- nắp b n x ng, 3- lƣới lọc, 4- b n lọc, 5- k óa x ng, 6- ống dẫn, 7- bộ
c òa k í, 8- b n lọc k ông k í, 9- bình tiêu âm, 10- động cơ, 11- ống xả, 12- bơm
x ng

TRƢỜNG CAO ĐẲNG NGHỀ ĐÀ LẠT KHOA CƠ KHÍ
5
MODUN: SỬA CHỮA & BẢO DƢỠNG HỆ THỐNG NHIÊN LIỆU ĐỘNG CƠ XĂNG
Ngƣời biên soạn: LÊ THANH QUANG
+ Hệ t ống cung cấp n iên liệu của động cơ g m: cấp k ông k í, cấp x ng v t ải
k í c á ra môi trƣờng, bao g m các cụm c i ti t n ƣ ở n vẽ trên.
+ P n loại:
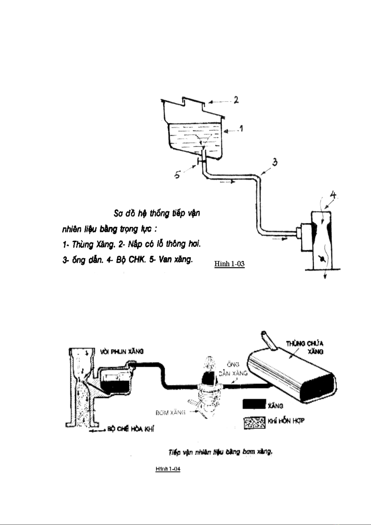
- Dựa v o p n cung cấp x ng ệ t ống cung cấp đƣợc c ia t n 2 loại, loại tự
c ả v loại cƣỡng bức. K ác n au c ín của 2 loại n l ở bơm c u ển x ng.
+ Loại tự c ả , b n x ng đặt cao ơn bộ c òa k í nên x ng từ b n c ứa tự
c ả v o BCHK (dùng trên môtô, xe máy).

