
1
Ch6 Analog 1
Ch 6. Analog Interfacing
• In this Chapter:
• Analog Signal Interface Overview
• Analog Electronics - Conditioner
• Digital to Analog Converters
• Analog to Digital Converters
• DAS - SCADA - DCS/QCS
Ch6 Analog 2
6.1. Analog signal Interface Overview:
• Là hàm của 1 (hoặc
nhiều) biếnđộc lập, đại
lượng vật lý theo thời
gian: như tiếng nói, nhiệt
độ... theo thời gian:
A=f(t,h)
• Xuất hiện liên tục trong
khoảng thời gian t0 - t1
• Giá trịbiến thiên liên tục
trong khoảng biên độ từ
A0 đến A1 , có thể đa trị.

2
Ch6 Analog 3
6.1. analog signal interface overview:
Trong thực tế: Rời rạc hóa
Trong Máy tính số, thông tin thu về:
Rời rạc vềthời gian
Rời rạc vềgiá trị
=> để máy tính thu thập, cần phải 'rời rạc hóa' các tín
hiệu vềthời gian và giá trị, dùng thiết bịchuyểnđổi
ADC tạo ra các tín hiệu số, để:
Xửlý, cất vào kho sốliệu
Truyền gửiđi xa
Tái tạo lại hay tổng hợp tín hiệu: dùng thiết bịDAC
tạo lại các tín hiệu analog.
6.1. Analog signal Interface Overview:
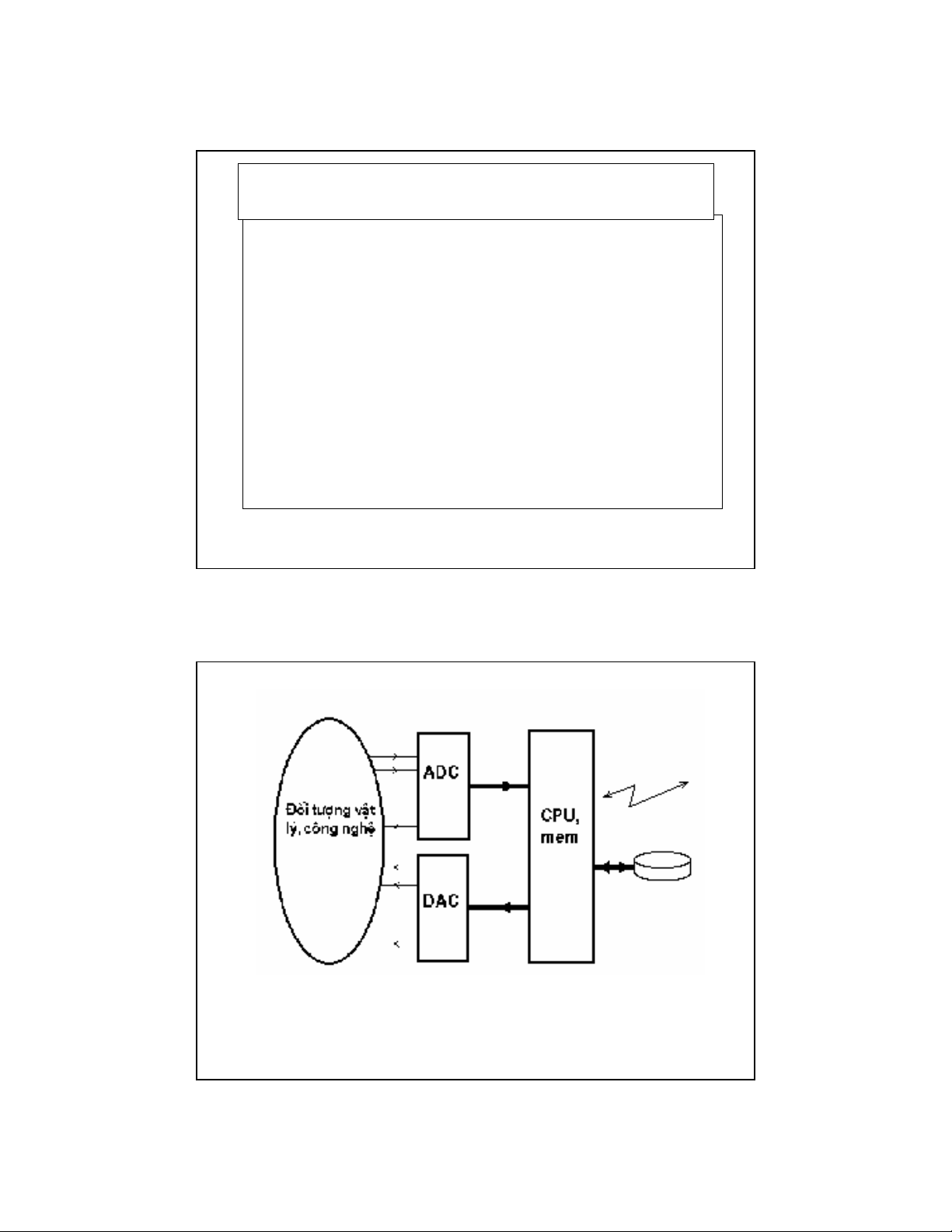
Ch6 Analog 4
Hình 6.02a. Mô hình ghép nối tín hiệu analog

3
Ch6 Analog 5
Hình 6.02-b. Mô hình Hệ Đo lường - Điều khiển số
Ch6 Analog 6
• Process:
– Là các quá trình công nghệ như: dây chuyền xeo giấy; phối-trộn-
nghiền-nung clinker => sản xuất cement; dây chuyền luyện-nung-
cán thép, sản xuất-trộn phân bón NPK, các nhà máy phát điện...
• Sensors:
– Là vật liệu/thiết bịdùng để chuyểnđổi các đạilượng vật lý không
điện từthếgiới thực (T, RH, p, L, v, a, F, pH,..) thành tín hiệuđiện
(u, i, R, f)
– Vật liệu: do đặc tính tựnhiên của vật chất – ví dụRTD Pt100, cặp
nhiệtđiện, piazo (titanate-bary), tenzometric; Cặp nhiêt Chromel –
Alumel => 40uV/oC…
– Thiết bị: có sựgia công/chếtác – ví dụLM135 precision
temperature sensor, bán dẫn
– Self generating và non generating
• Transducer: dùng để biếnđổi tín hiệu từdạng W này sang
dạng W khác.
• Conditioners:
– Vì tín hiệu từsensors thường rất nhỏ, có thểcó nhiễu và phi tuyến
=> có mạch điện tửanalog để xửlý tín hiệu: khuếch đại, lọc nhiễu,
bù phi tuyến... cho phù hợp.

4
Ch6 Analog 7
• MUX: analog multiplexer – bộdồn kênh
– Inputs: n bit chọn kênh, có 2nkênh số đo analog, đánh sốtừ
0..2n-1;
– Output: 1 kênh chung thông với 1 trong số2ninputs và duy
nhất;
–Như vậy chỉcần 01 hệVXL/MT và 01 ADC vẫn thu thập
được nhiềuđiểmđo công nghệ
• Trích mẫu và giữ- Sample & Hold:
– Dùng để trích mẫu của t/h khi có xung sample (100s ns.. vài
us) và giữnguyên giá trịcủa t/h trong khoảng thời gian lâu
hơn để ADC chuyểnđổiđượcổnđịnh;
– Chỉdùng trong các trường hợp tín hiệu biến thiên nhanh
tương đối so với thời gian c/đcủa ADC;
– Nâng cao độ chính xác và tần sốcủa th.
Ch6 Analog 8
• ADC: analog to digital convertor:
– Rời rạc hóa t/h vềthời gian và sốhóa t/h – lượng tửhóa
– Có nhiềuphương pháp/tốcđộ/địa chỉ ứng dụng của
chuyểnđổi
• Central system: hệnhúng/MT:
– CPU, mem, bus, IO port, có thểkết nối với CSDL, net;
– thu thập và xửlý số đo.
• DAC: digital to analog convertor
– Biếnđổi tín hiệu số=> liên tục vềtg nhưng vẫn rời rạc
vềgt;
– Nhiều loại: sốbit/1 hay 2 dấu/tốcđộ...

5
Ch6 Analog 9
• Mạch điện tửanalog:
– Có nhiều kiểu chứcnăng tùy thuộcứng dụng:
• Lọc – tái tạo, tổng hợp âm thanh;
• Khuếch đạiđể đến các cơ cấu chấp hành;
• Cách ly quang họcđề ghép nối với các thiết bịcông suất lớn
(motor, breaker, ...)
• Actuators: các cơ cấu chấp hành
– Là 1 lớp các thiết bị để tác động trởlại dây chuyền
công nghệ;
–Cơ học: motor (3 phase Sync/Async, single phase, dc,
step) như robot, printer’s motor, FDC/HDC motors...
–Điều khiển dòng năng lượng điện: SCR (thyristor),
Triac, Power MOSFET, IGBT...
–Điều khiển dòng chất lỏng/khí/gas: valves (percentage,
ON/OFF valves)
Ch6 Analog 10
H. 6.2c.
Mô hình hệ
DCS
Distributed
Control
System

