
Lý thuy t và bài t p máy đi n 2ế ậ ệ
MÁY ĐI N KHÔNG Đ NG BỆ Ồ Ộ
1. TÓM T T LÝ THUY TẮ Ế
C u t oấ ạ
Stator: bao g m các t m thép m ng có b m t bên trong đ c t o khe cho phùồ ấ ỏ ề ặ ượ ạ
h p v i cu n dây ba pha. Cu n dây này cũng gi ng nh cu n dây trong stator c a máyợ ớ ộ ộ ố ư ộ ủ
đi n đ ng b .ệ ồ ộ
V n t c c a đ ng c c m ng thì ph thu c vào s các c c mà cu n dây đó đ cậ ố ủ ộ ơ ả ứ ụ ộ ố ự ộ ượ
qu n.ấ
Rotor: S thi t k dây rotor thay đ i ph thu c vào nhu c u đi u khi n momentự ế ế ổ ụ ộ ầ ề ể
hay t c đ .ố ộ
Rotor l ng sóc: Nó bao g m các thanh đ ng ho c thanh nhôm r n đ c nhúngồ ồ ồ ặ ắ ượ
vào các khe rotor, m i m t c nh đ c đo n m ch b i các vành cu i.ỗ ộ ạ ượ ả ạ ở ố
Các v t d n đi n c a rotor có th song song v i tr c c a máy ho c đ c làmậ ẫ ệ ủ ể ớ ụ ủ ặ ượ
l ch nghiêng, đi u này cung c p moment quay đ ng nh t và gi m ti ng n.ệ ề ấ ồ ấ ả ế ồ
Rotor dây qu n: Theo ki u c u t o này thì rotor có m t vòng dây ba pha t ngấ ể ấ ạ ộ ươ
t nh stator và đ c qu n sao cho s c c gi ng h t nh s các c c trong stator. Cácự ư ượ ấ ố ự ố ệ ư ố ự
đ u cu i c a dây rotor đ c đúc trên tr c rotor.ầ ố ủ ượ ụ
Tr ng quayườ
p
f60
n
s
=
Trong đó:
ns: v n t c đ ng b , vòng/phútậ ố ồ ộ
f : t n s ngu n cung c p, Hzầ ố ồ ấ
p: s c p c cố ặ ự
H s tr t .ệ ố ượ
s
rs
n
nn
s−
=
Trong đó:
s : h s tr t.ệ ố ượ
ns: v n t c tr ng quay stator.ậ ố ườ
nr: v n t c quay rotor.ậ ố
Các ph ng trình c a đ ng c đi n không đ ng bươ ủ ộ ơ ệ ồ ộ
Ph ng trình đi n áp statorươ ệ
E1 = 4,44.f.kdq1.N1.Φm
Trong đó:
f : t n s dòng đi n, Hz ầ ố ệ
kdq1: h s qu n dâyệ ố ấ
N1: s vòng dây qu n trên m t c cố ấ ộ ự
Φm: t thông c c t , Wbừ ự ừ
1111
1
1
1
1
1
••••••
IZ+E=IjX+IR+E=U
Biên so n: Lê Vĩnh Tr ngạ ườ

Lý thuy t và bài t p máy đi n 2ế ậ ệ
Trong đó:
11
1jXRZ +=
là t ng tr m t pha dây qu n stator, Ωổ ở ộ ấ
R1: đi n tr m t pha dây qu n stator, Ωệ ở ộ ấ
X1: Đi n kháng m t pha dây qu n stator, Ωệ ộ ấ
Ph ng trình đi n áp Rotor.ươ ệ
Khi rotor đ ng yên ta có s c đi n đ ng c m ng là:ứ ứ ệ ộ ả ứ
E2 = 4,44.f.kdq2.N2 Φm
Vì rotor ng n m ch nên ph ng trình đi n áp rotor là: ắ ạ ươ ệ
222
2
2
2
2
••••
IZ=IjX+IR=E
Trong đó:
2
Z
: t ng tr m t pha dây qu n rotor, Ωổ ở ộ ấ
R2: Đi n tr m t pha dây qu n rotor, Ωệ ở ộ ấ
X2: đi n kháng t n m t pha dây qu n rotor, Ωệ ả ộ ấ
Khi rotor quay v i v n t c n t c h s tr t s; t tr ng stator quay đ i v iớ ậ ố ứ ệ ố ượ ừ ườ ố ớ
rotor v i v n t c t ng đ i là sn nên t n s dòng đi n rotor, đi n kháng t n rotor vàớ ậ ố ươ ố ầ ố ệ ệ ả
s c đi n đ ng c m ng rotor l n l t là:ứ ệ ộ ả ứ ầ ượ
f2s = sf
X2s = 2π(sf)L2 = sX2
E2s = 4,44(sf)Kdq2N2Φm= sE2
Ph ng trình đi n áp lúc rotor quay là ươ ệ
222
2
2
22
2
2
22
•
s
••
s
•
s
•
s
••
IZ=IjsX+IR=IjX+IR=E=Es
Chia hai v cho s ta đ c:ế ượ
2
22
2)/( ••
IjX+sR=E
M ch t ng đ ng rotor qui v statoạ ươ ươ ề
i
2
2ie
2
ie
2
ek
I
)Xkjk
s
R
kk(Ek
•
•+=
trong đó ke = ki = k : h s quy đ i áp, h s quy đ i dòng t rotor v stator.ệ ố ổ ệ ố ổ ừ ề
Biên so n: Lê Vĩnh Tr ngạ ườ
2
'
I
•
1
•
I
1
•
U
R1jX1
'
2
I
•
o
•
I
c
I
•
m
I
•
Gc-jBm
R’2jX’ 2
s
s1
R
'
2
−
(e)
jX’ 2
R2
’/s
(d)
2
•
E
2
I
•
R2/s
jX2
(c)
'
2
•
E
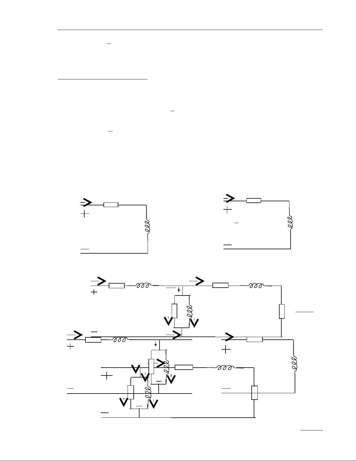
Hình 2.39 M ch t ng đ ng c a đ ng c không đ ng b . (a) Stato,ạ ươ ươ ủ ộ ơ ồ ộ
(b) Roto đ ng yên (t n s sf), (c) Roto đ ng yên (t n s f), (d) Roto quy v ứ ầ ố ứ ầ ố ề
stato, (e) m ch chính xác quy v stato, (f) m ch g n đúng qui v stato.ạ ề ạ ầ ề
'
2
I
•
o
•
I
c
I
•
m
I
•
Gc-jBm
RnjXn
s
s1
R
'
2
−
(f)
1
•
U
1
•
U
1
•
I
R1jX1
'
2
I
•
o
•
I
c
I
•
m
I
•
Gc-jBm
2
I
•
R2
jsX2
2
Es
•
(a) (b)

Lý thuy t và bài t p máy đi n 2ế ậ ệ
G i: ọ
122
'EEkE
••
•==
= s c đi n đ ng pha rotor quy v statorứ ệ ộ ề
k/II 22
'•
•=
= dòng rotor quy v stator.ề
2
2'
2Rk=R
= đi n tr dây qu n rotor quy v stator.ệ ở ấ ề
X’2 = k2X2 = đi n kháng dây qu n rotor quy v stator.ệ ấ ề
2
''
2
'
2
2
'I)jX
s
R
(E
•• +=
Rn = R1+R’2 : đi n tr t ng c a hai dây qu n, quy v stator.ệ ở ổ ủ ấ ề
Xn = X1+X’2 : đi n kháng t n t ng c a hai dây qu n, quy v stator.ệ ả ổ ủ ấ ề
Biên so n: Lê Vĩnh Tr ngạ ườ

Lý thuy t và bài t p máy đi n 2ế ậ ệ
Gi n đ công su t trong đ ng c không đ ng b :ả ồ ấ ộ ơ ồ ộ
- Công su t đi n nh n t ngu n: Pấ ệ ậ ừ ồ 1= 3U1.I1cosφ
- T n hao đ ng trong dây qu n stator: Pổ ồ ấ đ1= 3.R1.I21
- T n hao s t t trong lõi thép stator: Pổ ắ ừ t= 3RC.I2C
- Còn l i công su t đ a vào rotor g i là công su t đi n t : ạ ấ ư ọ ấ ệ ừ
- T n hao đ ng trong dây qu n rotor:ổ ồ ấ
Pđ2 = 3.R’2.I’22 = sPđt
- Công su t c trên tr c:ấ ơ ụ
dt
2'
2
'
2C P)s1(I
s
s1
R3P −=
−
=
- Công su t c sau khi tr đi t n hao c Pmq do ma sát, qu t gió và t n hao ph , sấ ơ ừ ổ ơ ạ ổ ụ ẽ
còn l i công su t có ích trên tr c, hay công su t ra:ạ ấ ụ ấ
P2 = PC - Pmq
- T ng t n hao công su t trong đ ng c là:ổ ổ ấ ộ ơ
Pth = Pđ1+Pt+Pđ2+Pmq
Hi u su t c a đ ng c :ệ ấ ủ ộ ơ
th
P+P
P
=
P
P
=η
2
2
1
2
Moment đi n t c a đ ng c đi n không đ ng b .ệ ừ ủ ộ ơ ệ ồ ộ
G i nọ1 và Ω1 = 2πn1 là v n t c t tr ng stator tính b ng vòng/giây và rad/ giây.ậ ố ừ ườ ằ
n = n1(1-s) và Ω = Ω1(1-s) là v n t c rotor tính b ng vòng/ giây và rad/giây.ậ ố ằ
Ta có Ω1= 2πf/p = ω/p; v i ω là t n s góc c a dòng đi n stator.ớ ầ ố ủ ệ
Moment quay c a đ ng c là:ủ ộ ơ
1
dt
1
2'
2
'
2
1
2'
2
'
2
CP
s
IR3
)s1(
I
s
s1
R3
P
MΩ
=
Ω
=
−Ω
−
=
Ω
=
Biên so n: Lê Vĩnh Tr ngạ ườ
P1
Pđt
PcP2
Pđ1
Pt
Pđ2
Pmq
Gi n đ công su t trong đ ng c không đ ng b .ả ồ ấ ộ ơ ồ ộ
2
2
'
'
2
3I
s
R
P
dt
=

Lý thuy t và bài t p máy đi n 2ế ậ ệ
Thay I2’ tính t m ch t ng đ ng g n đúng:ừ ạ ươ ươ ầ
2
N
2'
21
1
'
2X)S/RR(
U
I++
=
]X)s/RR[(s
UR3
M2
N
2'
211
2
1
'
2
++Ω
=
T đó ta có m i quan h gi a moment và h s tr t hay t c đ nh sau:ừ ố ệ ữ ệ ố ượ ố ộ ư
Đi m c c đ i trên hình có to đ cho b i dM/ds = 0 suy ra h s tr t t i h n:ể ự ạ ạ ộ ở ệ ố ượ ớ ạ
22
1
'
2
n
mXR
R
s+
=
Thay smax vào ph ng trình ta đ c moment c c đ i.ươ ượ ự ạ
)(2
.3
22
111
2
1
max
n
XRR
U
M++Ω
=
Nh n xét:ậ
- Moment max không ph thu c vào đi n tr c a rôtorụ ộ ệ ở ủ
- Đi n tr rotor R’ệ ở 2 càng l n thì sớm càng l nớ
- V i t n s cho tr c, Mớ ầ ố ướ max t l ngh ch v i đi n kháng Xỷ ệ ị ớ ệ n
Đ i v i đ ng c l ng sóc th ng các t s sau:ố ớ ộ ơ ồ ườ ỷ ố
7,11,1
M
M
dm
m÷=
;
5,26,1
M
M
dm
max ÷=
Quan h gi a M, Mệ ữ max và smax có th vi t g n đúng nh sau:ể ế ầ ư
s
s
s
s
M
M
max
max
max
2
+
=
Biên so n: Lê Vĩnh Tr ngạ ườ
s
St
M
0
Mmax
Mmm
Đ c tuy n Moment c a đ ng c không đ ng b 3 pha.ặ ế ủ ộ ơ ồ ộ

