
428
Y z h i X Y
i i i
11
[ ( ) ] (16.33)
ở đây Y-1 = 0.0 và Y-N = Y(z)
Chú ý rằng Y(z) là một trễ của tín hiệu đầu ra thực sự N+1 chu kỳ. Biểu
thức (16.31) và (16.33) xác định cấu trúc của phần tử xử lý và mảng tâm thu.
Chúng được giới thiệu trên hình 16.11. Hiển nhiên là cấu trúc này là một cấu
trúc tâm thu thực sự như là một cấu trúc pipeline. Vậy ưu điểm của cấu trúc là
gì? Nếu tìm hiểu lại cách xây dựng hệ thống pipeline tự động chúng ta thấy
thời gian trễ tổng sẽ tăng lên nếu tốc độ nạp vào tăng lên. Làm thế nào chúng
ta đạt được điều này? Chúng ta sẽ dùng một thực tế là Y(z) là X(z) có các trễ
bằng nhau và bị nhiễu gợn qua hệ thống ở cùng một tốc độ. Điều thực sự làm
cho hệ thống chậm lại là X(z) sẽ phải chờ để hoàn thành phép nhân cộng của
một từ trước khi một tín hiệu mẫu đầu vào mới được đưa vào.
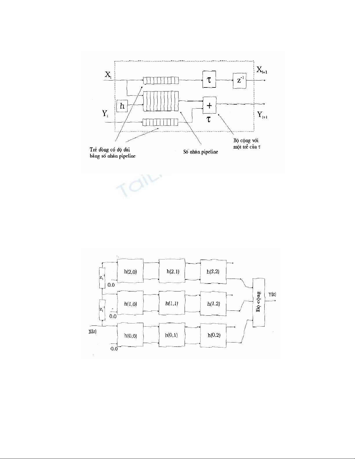
Cái mà chúng ta mong muốn làm bây giờ là chia nhỏ các PE thành các đơn
vị nhỏ hơn và điều này điều kiển tốc độ đưa vào và tác động tổng thể tăng thời
gian trễ. Hình 16.12 giới thiệu cách thay đổi PE để tăng tốc độ đưa vào. Phần
cần phải cộng thêm vào là các dây trễ cho Xi và Yi để là cho các đầu vào có thể
bắt kịp với xử lý của bộ nhân pipeline. Các dây trễ này đồng thời cũng được
đặt vào bus X cho phép Xi và Yi truyền đồng thời. Các bộ nhân được thiết kế
với tốc độ đưa vào vượt quá 300 Mhz, và thế cấu trúc bộ lọc FIR thiết kế dùng
kỹ thuật này có thể xử lý 300 triệu từ/giây. Thời gian trễ tổng cho hệ thống này
sẽ tăng lên như dự đoán.
Các PE có kiểu giới thiệu trong hình 16.12 thì thông thường không được
xây dựng từ các chip riêng lẻ, bao gồm các thanh ghi và các bộ nhân mà được
xây dựng từ các thiết kế tuỳ chọn VLSI (hầu hết các trường đại học ở Bắc Mỹ
có các cơ sở sản xuất các bo mạch này). Dựa trên yêu cầu của các thiết kế này,
các nhà sản xuất VLSI phải làm cho chúng có dạng giống các PE.
Hình 16.11 (a) Cấu trúc PE; (b) Cấu trúc tâm thu thực, pipeline thực của bộ
lọc FIR.

429
Hình 16.12 Đường ống PE.
Thực hiện của các cấu trúc FIR 2-D theo kiểu cấu trúc tâm thu như cấu trúc
pipeline có thể được tạo ra dùng nhiều loại cấu trúc tương tự như cấu trúc 1-D
FIR của hình 16.11 b và các PE như trong hình 16.12, có kèm theo các dây trễ
số (các thanh ghi dịch chiều dài, chiều rộng một từ chiều dài bằng chiều rộng
ảnh). Một cấu trúc tâm thu pipeline 2 2 FIR được giới thiệu trong hình
16.13. Cấu trúc này được thiết kế thích ứng cho xử lý tín hiệu video tốc độ
cao. Kiểu cấu trúc này, nếu thực hiện dùng PE của hình 16.12, được gọi là tâm
thu mức bit.
Hình 16.13 Bộ lọc FIR 2-D ống tâm thu.

430
16.5 Thực hiện tâm thu của các bộ lọc 2-D IIR
Các bộ lọc hai chiều IIR có thể chiếu lên các cấu trúc tâm thu dùng giả thiết
biến đổi z được mô tả ở trong phần trên. Tuy nhiên, có thể biến đổi các bộ lọc
IIR như một cấu trúc pipeline thực sự. Lý do là các tín hiệu ra quá khứ thì cần
để tính các tín hiệu ra hiện tại, và vì lý do đấy, pipeline về mặt vật lý là không
thể được. Các bộ lọc IIR có thể được thực hiện như cấu trúc tâm thu mức từ.
Một ví dụ cho thực hiện được cho ở dưới đây.
Chúng ta hãy xem xét một bộ lọc 2 2 FIR được cho bởi
2
01
2
0
2
0
022122121 ),(),(),(
i
i
jjij
j
ij
j
ij zzzzYbzzzXazzY (16.34)
Điều này có thể biểu diễn thành
i
iii
i
iioio
zzzYbzzXazzzYb
zzXazzzYbzzXazzY
1212212
1
2211
211
2
0
1
2212121
))}],(,(()),(
),(({)),()),([(),( (16.35)
Với b00 = 0.
Hình 16.14 (a) PE m
ột chốt ra; (b) PE không chốt ra;
(c) Ký hiệu của (a); (d) Ký hiệu của (b).
Biểu thức (16.35) xác định hai kiểu của các PE: một kiểu có một chốt ra, và
một kiểu khác không chốt ra. Hình 16.14 giới thiệu hai kiểu của các PE, và
chiếu của biểu thức (16.35) lên một cấu trúc tâm thu là hình 16.15. Cấu trúc là

431
một kiểu giả tâm thu. Có thể dễ dàng nhận ra đây không phải là một cấu trúc
pipeline.
Tốc độ đưa vào của cấu trúc giới thiệu trong hình 16.15 được quyết định
bởi thời gian trễ của một phép nhân-cộng của chiều dài một từ. Các bộ nhân có
khả năng làm việc với thời gian trễ tổng 20 nano giây (50 MHz). Xử lý các tín
hiệu HDTV sẽ yêu cầu tốc độ đưa vào vào khoảng 44 triệu điểm/giây, phù hợp
với thiết kế này.
Có một số dạng khác của thiết kế này. Cho ví dụ biểu thức (16.35) có thể
viết lại dưới dạng:
))()(()(
)()()(),(
12
1
211
1
220
2
122
1
1212021
zYzzYzzY
zzYzzYzYzzY
(16.36)
Ở đây Y0(z2), Y1(z2), Y2(z2) được xác định bằng biểu thức (16.35). Kết quả
thực hiện được cho trong hình 16.16. Các phần tử PE được định nghĩa như
trong hình 16.14.
16.6 Lấy mẫu và lưu giữ chức năng của các bộ lọc FIR
Các yếu tố ảnh hưởng đến hoạt động của các bộ lọc 2-D IIR dùng cấu trúc
như trong hình 16.15 và 16.16 là chất lượng của phần cứng và tốc độ đưa vào.
Một số các ứng dụng yêu cầu tốc độ đưa vào vượt ra ngoài khoảng 40 triệu
điểm/giây như các ứng dụng trong radar. Một số các yếu tố có thể thực hiện
với giá thành thấp hơn bằng cách dùng các phần tử tương tự. Các CCD có thể
thay thế các thanh ghi dịch dòng (z1-1), và các phần tử lấy mẫu có thể thay
bằng các chốt số. Các bộ nhân tương tự có thể thay các bộ nhân số. Bởi vì tốc
độ xử lý của các mạch điện tương tự có thể lớn hơn rất nhiều tốc độ xử lý của
các mạch điện số nên có thể rất dễ dàng áp dụng cho các ứng dụng HDTV.
Chúng ta sẽ giả thiết rằng tín hiệu đầu vào các cấu trúc lọc là một dòng quét
trên ảnh TV, x(kT1, t). Một mạch điện lấy mẫu, đặt tại cổng đầu vào, lấy mẫu
và làm tròn tín hiệu từ một chu kỳ xung nhịp trở đi, sẽ chuyển tín hiệu tương
tự sang tín hiệu dưới dạng lấy mẫu (xem hình 16.17). Cấu trúc của các PE
tương tự được cho trong hình 16.18. Ba dạng xung nhịp điều khiển xử lý và
nạp lại. Các xung này được ký hiệu là
1,
2 và
sync.
1 và
2 là các tín hiệu
xung không trùng nhau và
sync là xung đồng bộ dòng của tín hiệu lấy vào
(xem hình 16.17).

432
Hình 16.15 Thực hiện nửa tâm thu cho bộ lọc IIR.
Hình 16.16 Bộ lọc IIR 2-Dkích thước 2 2 thực hiện tâm thu sử dụng các
thanh ghi dịch hai đường.
Hình 16.17 Lấy mẫu ảnh quét xen kẽ.
Trong PE kết quả: -(ax - by + yIN) được chứa trên tụ C1 trong mức cao của
xung nhịp
1. Trong mức cao của
2 kết quả được truyền đến tụ C2 và sẵn sàng
cho PE tiếp theo xử lý trong chu kỳ tiếp theo của xung nhịp
1. Trong hồi tiếp
(từ một dòng này đến dòng tiếp theo) xung đồng bộ dòng được dùng để mở hai
chốt tương tự SW1 và SW2, và nạp lại hai tụ C1 và C2. Khởi tạo trong PE việc
lưu và nạp lại có thể thay thế bằng một thiết bị lấy mẫu (S/H) được điều khiển
bằng chỉ một chu kỳ xung nhịp. Giá trị lưu giữ trong S/H được chuyển ra để
xử lý khi một giá trị mới được lấy mẫu. Các mạch S/H có thể hoạt động ở tần

