
MIL-HDBK-1003/3
b) Do not use vacuum condensate returns. Since high pressure steam
is hotter than low pressure steam, provide adequate cooling legs of
uninsulated steam pipe or a length of finned radiation between the last steam
main takeoff and the drip assembly. Failure to do this will cause the hot
condensate to flash back into steam at the trap. Use vented flash tank as a
solution. Refer to par. 7.3.3.5 for condensate pumps and flash tank.
7.3.3.2 Boiler. Refer to MIL-HDBK-1003/6.
7.3.3.3 Heat Exchanger. Refer to par. 7.2.2.5.
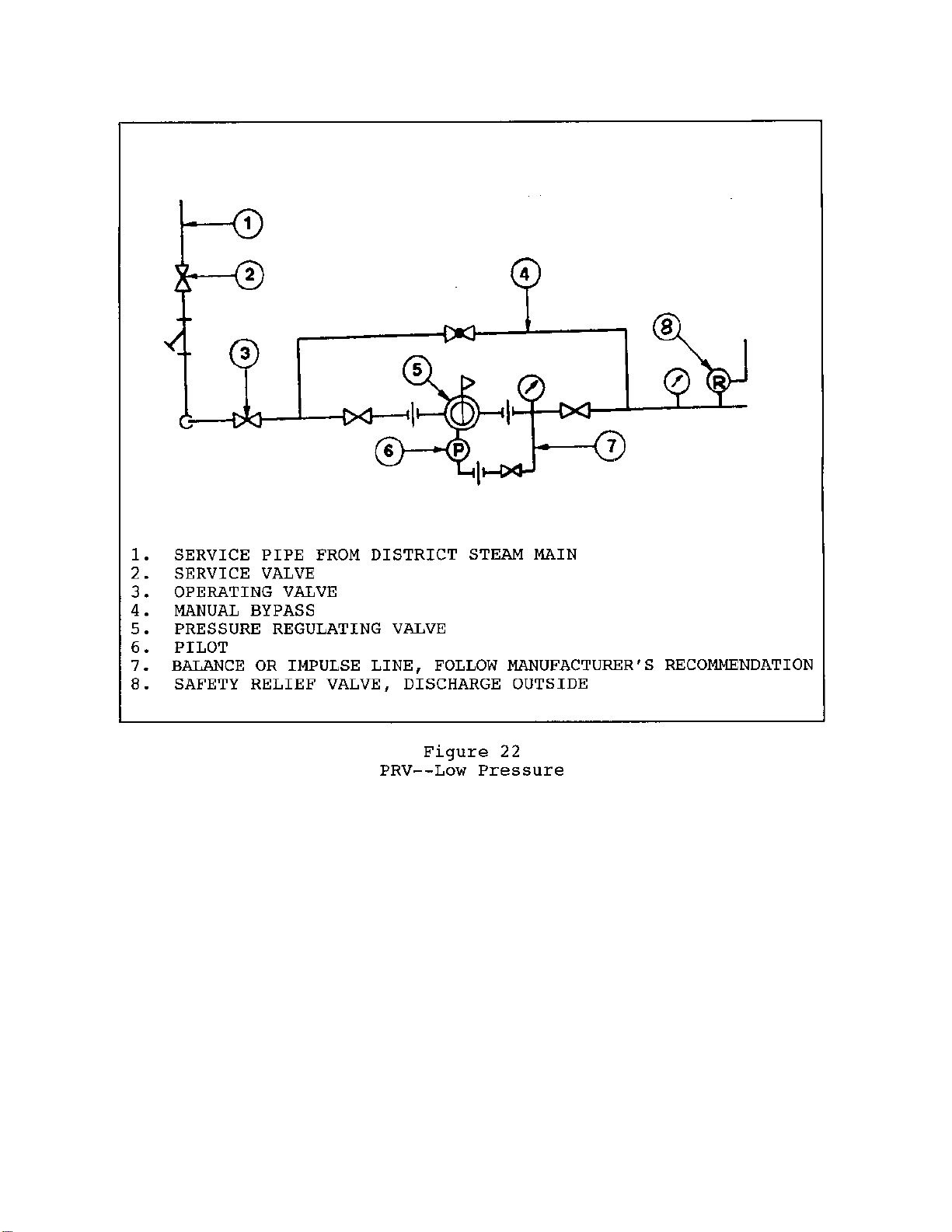
7.3.3.4 Steam Pressure Regulating Valves. See Figures 22 and 23 for piping
of steam pressure regulating assemblies, and note the following:
a) Sizing Pressure Regulating Valves
(1) Analyze flow required for maximum and minimum demand.
(2) Size the pressure regulating valve to handle peak flow.
This will generally result in a valve body that is smaller than inlet supply
line size.
(3) If there is a big turndown ratio between minimum and
maximum flow, consider using two regulator valves in parallel, perhaps sized
for 30 percent and 70 percent of the flow. Consider to flip the settings so
that the small regulator pilot maintains optimum downstream pressure in the
summer and the big regulator pilot is the lead controller in the winter.
(4) Look at the manufacturer's tables to see whether a two
stage assembly should be used with two regulators in series. Sometimes this
is done anyway for redundancy in low pressure installations; with the
downstream regulator controlling to 5 psi, and a upstream regulator set at 7
psi in case the downstream regulator cannot handle a flow surge.
b) Piping Pressure Regulating Valves
(1) Provide a bypass around the regulator with a globe valve
that has a tight shutoff seat. Size bypass to flow less than wide open
failure flow of the regulator, but not less than regulator design flow.
89
Simpo PDF Merge and Split Unregistered Version - http://www.simpopdf.com

MIL-HDBK-1003/3
90
Simpo PDF Merge and Split Unregistered Version - http://www.simpopdf.com

MIL-HDBK-1003/3
91
Simpo PDF Merge and Split Unregistered Version - http://www.simpopdf.com

MIL-HDBK-1003/3
(2) Put a pressure gage immediately downstream of
the regulator pilot tap. The pressure gage range should include
the upstream inlet pressure.
(3) Provide a relief valve on the downstream side
that will handle 150 percent of the wide open failure flow rating
of the regulator. Set the relief valve higher than the
downstream operating pressure, and pipe the relief valve
discharge to a safe place.
(4) Provide shutoff valves on each side of the
regulator assembly; with the low side shutoff valve downstream of
the pilot tap.
(5) Locate the entire regulator assembly in an
accessible place.
7.3.3.5 Condensate Pumps and Flash Tank. Higher pressure steam
condensate is hotter than low pressure steam condensate. If the
system is over 40 psi steam, always run the condensate through a
flash tank before entering the receiver of the condensate pump
set. This prevents the condensate flashing to steam in the
pumps. See Figure 24.
7.3.3.6 Steam Coils - General. Refer to par. 7.2.2.2 and the
manufacturer's capacity tables for selection. See Figures 25 and
26 for piping steam coils. Always provide steam traps for each
coil section. Steam distributing coils feature a perforated
distributing header inside the main coil construction.
7.3.3.7 Steam Traps. In a steam system, steam traps should be
provided to remove condensate and gas from the steam supply as
soon as it forms. Unless this is done:
a) A slug of condensate can harm the system.
b) Accumulation of CO gas can cause corrosion.
2
See Table 14 for common types of steam traps and Figure 27 for
piping of a low pressure drip.
7.3.4 Boilers. Size the steam boiler in accordance with the
ASHRAE Equipment Handbook, and include building heating, process
steam, domestic water heating, and pickup loads. See Figure 28
for piping a low pressure steam boiler.
92
Simpo PDF Merge and Split Unregistered Version - http://www.simpopdf.com

MIL-HDBK-1003/3
93
Simpo PDF Merge and Split Unregistered Version - http://www.simpopdf.com

