
Luaän Vaên Toát Nghieäp
. Baùo toång soá tieàn.
. Baùo soá km chaïy coù khaùch.
. Baùo soá km chaïy khoâng coù khaùch.
* Khung giaù cöôùc phí Taxi hieän nay ñöôïc qui ñònh nhö sau:
- 1 Km ñaàu : 5000 ÑVN.
- 200m tieáp theo : 1000 ÑVN
- Sau 28 Km : 2800 ÑVN/km
(Soá lieäu thaùng 7/1999 cuûa coâng ty Mai Linh Taxi)
2- Caûnh baùo toác ñoä xe oâtoâ:
Vaán ñeà an toaøn giao thoâng, baûo ñaûm tính maïng cho ngöôøi vaø xe laø
vaán ñeà caàn ñöôïc chuù troïng vaø ñaët leân haøng ñaàu. Thieát bò caûnh baùo toác ñoä
ñaõ ñöôïc caùc haõng oâtoâ laép ñaët vaø löu haønh roäng raõi ôû caùc nöôùc nhöng ôû
nöôùc ta laïi ít ñöôïc quan taâm söû duïng maëc duø noù goùp phaàn quan troïng
trong vieäc caûnh baùo cho ngöôøi ñieàu khieån phöông tieän bieát ñang di
chuyeån ôû toác ñoä cao maø coù höôùng kieåm soaùt laïi toác ñoä nhaèm ñaûm baûo an
toaøn giao thoâng.
* Vieäc caûnh baùo ñöôïc thöïc hieän nhö sau:
- Tín hieäu toác ñoä ñöôïc ñöa veà boä so saùnh so saùnh vôùi toác ñoä caøi ñaët.
- Khi ñeán toác ñoä caøi ñaët thì tín hieäu ñöôïc ñöa ñeán môû tín hieäu dao
ñoäng ôû taàn soá quy ñònh roài xuaát ra boä khueách ñaïi tín hieäu vaø loa
caûnh baùo.
Hình A. 8: Sô ñoà khoái maïch caûnh baùo
Theo ñoù, giaû söû ta qui ñònh caøi ñaët caùc caáp caûnh baùo nhö sau:
V 80km/h 500Hz (taàn soá caûnh baùo)
V 100km/h 2KHz
V 120km/h 5KHz
Boä so saùnh
Tín hieäu caøi
ñaët
Khoái taïo
dao
ñoäng
Khoái khueách
ñaïi vaø loa
caûnh baùo

Luaän Vaên Toát Nghieäp
Treân cô sôû döïa treân khaû naêng kieán thöùc ñaõ thu thaäp ôû nhaø tröôøng,
ngöôøi thöïc hieän ñaõ tieán haønh thieát keá moät maïch vi xöû lyù söû duïng CPU laø
Z80. Ñaây laømoät KIT vi xöû lyù ña naêng coù khaû naêng giaûi quyeát toát caùc yeâu
caàu kyõ thuaät cuûa ñeà taøi laø xöû lyù tín hieäu toác ñoä, thöïc hieän caùc pheùp tính
phöùc taïp, löu tröõ döõ lieäu, xuaát keát quaû ra maøn hình…, ñoàng thôøi xöû lyù toát
vieäc caøi ñaët vaø caûnh baùo toác ñoä.

Luaän Vaên Toát Nghieäp
B – THIEÁT KEÁ MAÏCH PHAÀN CÖÙNG
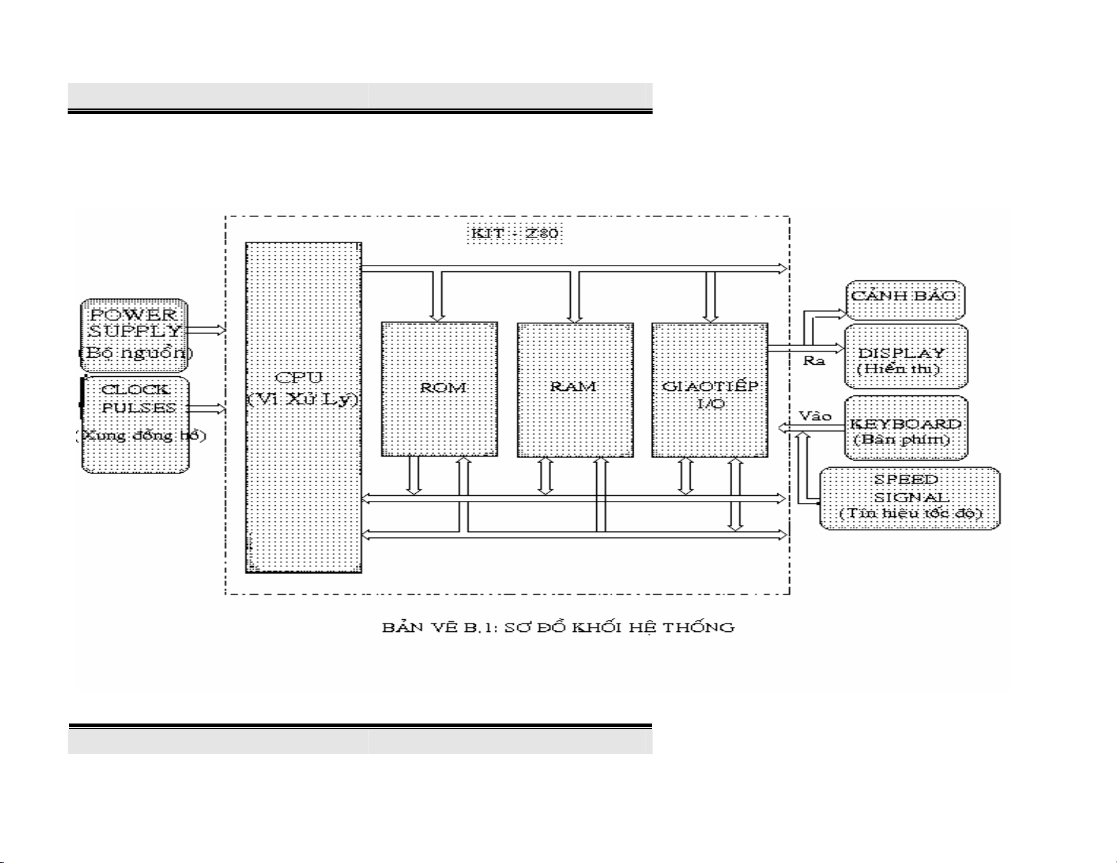
I- GIÔÙITHIEÄU SÔ ÑOÀ KHOÁI
Maùy tính caù nhaân hay heä thoáng vi xöû lyù ñeàu coù chung moät caáu truùc
cô baûn, ñaây laø caáu truùc toái thieåu, coâ ñoïng caùc linh kieän ñeå heä thoáng coù
theå laøm vieäc ñöôïc. Sô ñoà khoái heä thoáng ñöôïc trình baøy (Hình B. 1)
1- Khoái xöû lyù trung taâm (CENTRAL PROCESSING UNIT – CPU)
Ñaây laø khoái quan troïng nhaát cuûa heä thoáng. CPU giöõ nhieäm vuï tieáp
nhaän vaø xöû lyù nhöõng thoâng tin nhaän töø beân ngoaøi. Ñaây laø caùc coång logic
cô baûn taïo ra cho ñôn vò xöû lyù trung taâm khaû naêng tieáp nhaän vaø phaân tích
caùc yeáu toá taùc ñoäng, töø ñoù coù ñaùp öùng thích hôïp. Ñieàu naøy ñöôïc theå hieän
qua khaùi nieäm taäp leänh cuûa linh kieän vi xöû lyù. Chaúng haïn taäp leänh cuûa Z-
80, taäp leänh naøy cho ta thaáy ñöôïc khaû naêng hoaït ñoäng coù möùc ñoä cuûa ñôn
vò xöû lyù trung taâm. Khaéc phuïc haïn cheá ñoù, caùc nhaø saûn xuaát ñaõ coá gaéng
thieát keá taäp leänh sao cho khi keát hôïp chuùng laïi vôùi nhau, ñôn vò xöû lyù
trung taâm coù khaû naêng theâm nhieàu tình huoáng khaùc maø töøng leänh rieâng
bieät khoâng theå giaûi quyeát ñöôïc. Ñaây chính laø cô sôû cuûa chöông trình heä
thoáng.
2- Khoái boä nhôù (MEMORY)
Ñaây laø nôi löu tröõ chöông trình cuõng nhö caùc soá lieäu thu nhaän vaø
caùc keát quaû tính toaùn sau moät quaù trình laøm vieäc naøo ñoù. Khoái naøy khoâng
theå thieáu ñöôïc trong moät heä thoáng vi xöû lyù vì noù laø nôi löu tröõ nhöõng
thoâng tin maø ngöôøi laäp trình taïo ra trong heä thoáng.
Trong boä nhôù, moãi teá baøo nhôù (cell) ñöôïc gaén cho moät ñòa chæ ñeå
tieän cho vieäc truy xuaát. Khi coù yeâu caàu laøm vieäc vôùi boä nhôù. CPU seõ gôûi
ra moät giaù trò thích hôïp treân tuyeán ñòa chæ. Ñoàng thôøi truyeàn treân tuyeán
ñieàu khieån moät tín hieäu ñoïc hay ghi ñeå baùo cho boä nhôù bieát CPU ñang
caàn laáy hay löu tröõ döõ lieäu.
3- Khoái giao tieáp ngoaïi vi:
Ñaây laø phaàn keát noái giöõa CPU vaø beân ngoaøi. Do yeáu toá khaùch quan
laø CPU chæ coù moät tuyeán döõ lieäu, trong khi nhu caàu giao tieáp vôùi beân
ngoaøi raát nhieàu. Vì vaäy phaàn giao tieáp laø ñôn vò chòu traùch nhieäm thieát
laäp moái quan heä töø beân ngoaøi vôùi heä thoáng taïi thôøi ñieåm coù yeâu caàu.

Luaän Vaên Toát Nghieäp


