
§å ¸n tèt nghiÖp NguyÔn Th¸i Häc - Líp T§H 46
Khoa C¬ §iÖn Tr−êng §HNN I - Hμ Néi
- 67 -
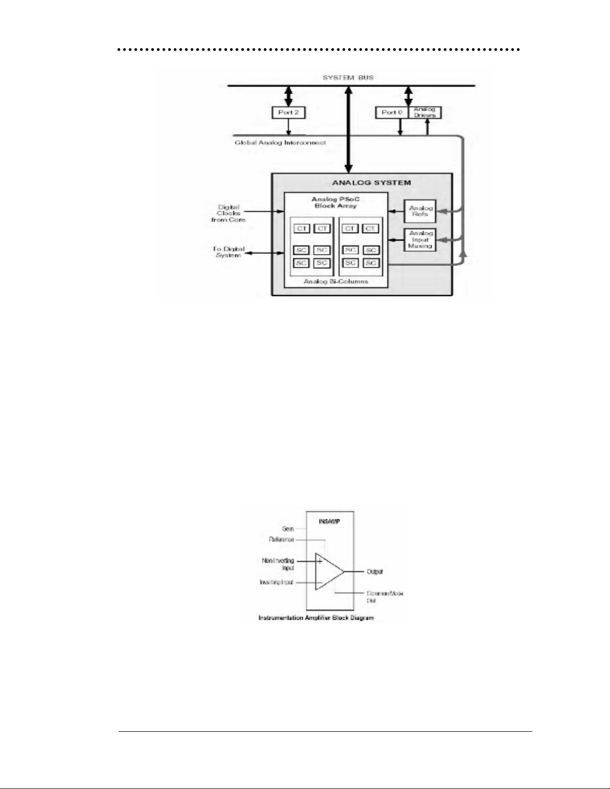
H×nh 3 -5: S¬ ®å khèi cña hÖ thèng t−¬ng tù trong PSoC
• Nh÷ng ngo¹i vi ®−îc t¹o bëi khèi PSoC t−¬ng tù.
x C¸c bé khÕch ®¹i.
a. Bé khÕch ®¹i INSAMP - Instrumentation Amplifier
- §é khuÕch ®¹i cã thÓ lËp tr×nh tõ 2 - 16 hoÆc lªn tíi 93 ®èi víi cÊu tróc 3
bé K§TT.
- Trë kh¸ng vi sai ®Çu vµo cao.
- Mét ®Çu ra.
- Cã thÓ lùa chän cÊu tróc hai hoÆc ba bé K§TT.
H×nh 3 - 6: S¬ ®å nguyªn lý bé khuÕch ®¹i INSAMP
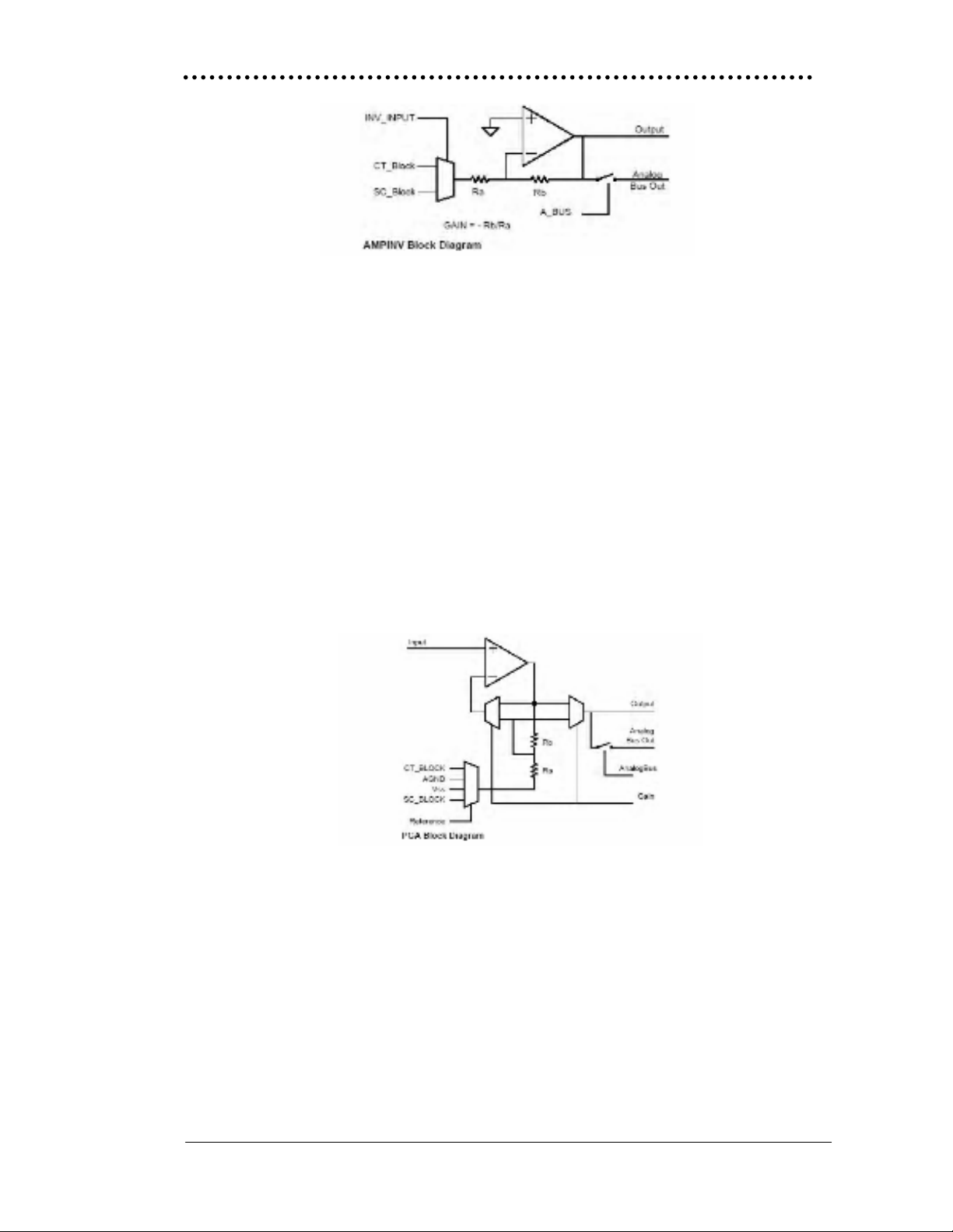
b. Bé khuÕch ®¹i ®¶o AMPINV - Inverting Amplifier

§å ¸n tèt nghiÖp NguyÔn Th¸i Häc - Líp T§H 46
Khoa C¬ §iÖn Tr−êng §HNN I - Hμ Néi
- 68 -
H×nh 3 - 7:S¬ ®å nguyªn lý bé khuÕch ®¹i ®¶o
- §é khuÕch ®¹i cã thÓ lËp tr×nh tõ víi 18 cÊp, ®é khuÕch ®¹i tèi ®a lµ -47
- Mét ®Çu ra ®¬n ®−îc tham chiÕu ®èi víi ®Êt cña Analog.
c. Bé khuÕch ®¹i kh«ng ®¶o PGA - Programmable Gain Amplifier
- §é khuÕch ®¹i cã thÓ lËp tr×nh tõ víi 33 cÊp, ®é khuÕch ®¹i tèi ®a lµ 48.
- Mét ®Çu ra ®¬n víi ®iÖn ¸p tham chiÕu cã thÓ lùa chän.
- Trë kh¸ng ®Çu vµo cao Module PGA lµ mét module K§TT dùa trªn bé
khuÕch ®¹i kh«ng ®¶o, ®é khuÕch ®¹i víi ®é khuÕch ®¹i cã thÓ lËp tr×nh ®−îc.
Bé khuÕch ®¹i nµy cã trë kh¸ng ®Çu vµo cao, b¨ng th«ng réng vµ ®iÖn ¸p tham
chiÕu cã thÓ lùa chän ®−îc.
H×nh 3 - 8: S¬ ®å nguyªn lý bé khuÕch ®¹i kh«ng ®¶o PGA
x C¸c bé chuyÓn ®æi t−¬ng tù sang sè - ADC.
a. ADCINC12 - 12 bit Incremental ADC
- §é ph©n gi¶i 12 bit, bï 2.
- Tèc ®é lÊy mÉu: 7,8 - 480 mÉu/gi©y.
- D¶i ®Çu vµo: AGND V ref.

§å ¸n tèt nghiÖp NguyÔn Th¸i Häc - Líp T§H 46
Khoa C¬ §iÖn Tr−êng §HNN I - Hμ Néi
- 69 -
- Hç trî chÕ ®é b×nh th−êng hoÆc chÕ ®é khö hµi bËc cao.
- Xung nhÞp bªn trong hoÆc bªn ngoµi.
H×nh 3-9: S¬ ®å nguyªn lý bé chuyÓn ®æi ADC 12-bit Incremental
b. ADCINCVR - 7 to 13 bit Variable Resolution Incremental ADC.
- §é ph©n gi¶i 7 - 13 bit, bï 2.
- Tèc ®é lÊy mÉu: 4 - 10000 mÉu/gi©y.
- D¶i ®Çu vµo: VSS -VDD.
- Xung nhÞp bªn trong hoÆc bªn ngoµi.
H×nh 3-10: S¬ ®å nguyªn lý bé ADCINCVR
c. DELSIG8 - 8 bit Deltal Sigma ADC
- §é ph©n gi¶i 8 bit, bï 2.
- Tèc ®é lÊy mÉu: 32K mÉu/gi©y.
- D¶i ®Çu vµo: ®−îc ®Þnh nghÜa bëi c¸c lùa chän tham chiÕu trong hoÆc
ngoµi.
- Xung nhÞp bªn trong hoÆc bªn ngoµi.
DELSIG8 lµ mét bé biÕn ®æi A/D cã kiÓu tÝch ph©n hµng ®îi, cÇn ph¶i cã 127

§å ¸n tèt nghiÖp NguyÔn Th¸i Häc - Líp T§H 46
Khoa C¬ §iÖn Tr−êng §HNN I - Hμ Néi
- 70 -
chu kú tÝch ph©n ®Ó cã ®−îc mét mÉu ë ®Çu ra.
H×nh 3-11: S¬ ®å nguyªn lý bé ADC DelSig8
d. DUALADC - Hai bé ADCINCVR kÕt hîp víi nhau ®Ó t¹o ra bé ADC
kÐp.
e. TRIADC - Ba bé ADCINCVR kÕt hîp víi nhau ®Ó t¹o ra ba bé ADC.
f. SAR6 - 6 bit Successive Apropximation Register.
- §é ph©n gi¶i 6 bit.
- Sö dông duy nhÊt mét khèi PSoC t−¬ng tù.
- Thêi gian chuyÓn ®æi tiªu biÓu lµ 25ms.
- Giao diÖn lËp tr×nh øng dông API ®−îc tèi −u ®Ó ®¬n gi¶n trong sö dông.
H×nh: 3-12 S¬ ®å nguyªn lý API
Ngoµi ra c¸c khèi PSoC sè cßn coa c¸c bé chuyÓn ®æi DAC, c¸c bé läc,
c¸c bé lùa chän MUX.
x Nh÷ng User Module ®−îc bæ xung.

§å ¸n tèt nghiÖp NguyÔn Th¸i Häc - Líp T§H 46
Khoa C¬ §iÖn Tr−êng §HNN I - Hμ Néi
- 71 -
a. Module HiÓn thÞ Tinh thÓ láng - LCD.
- Sö dông giao thøc theo tiªu chuÈn c«ng nghiÖp cña HITACHI
HD44780.
- ChØ yªu cÇu sö dông 7 ch©n I/O trªn mét cæng vµo ra.
- C¸c hµm hç trî viÖc in x©u ký tù trong RAM vµ ROM.
- C¸c hµm hç trî viÖc in c¸c sè.
- C¸c hµm hç trî viÖc in c¸c thanh ®å häa theo chiÒu ngang hoÆc chiÒu
däc Module LCD lµ mét tËp th− viÖn c¸c ch−¬ng tr×nh con ®Ó ghi c¸c x©u ký
tù vµ ®Þnh d¹ng c¸c sè theo mét chuÈn chung hai hoÆc bèn hµng, c¸c thanh ®å
häa ngang hoÆc däc ®−îc hç trî b»ng c¸ch sö dông nh÷ng ®Æc ®iÓm ®å häa
hay ký tù cña Module LCD nµy. Module nµy ®−îc ph¸t triÓn ®Æc biÖt dµnh
riªng cho chuÈn c«ng nghiÖp cña Hitachi HD44780 hai hµng 16 ký tù, nh−ng
vÉn sÏ lµm viÖc cho nhiÒu mµn hiÓn thÞ 4 hµng kh¸c. Th− viÖn nµy sö dông chÕ
®é giao diÖn 4-bit ®Ó tiÕt kiÖm c¸c ch©n vµo ra cho chÝp.
H×nh: 3-13 S¬ ®å ch©n cña LCD
b. Module TruyÒn th«ng I2C
- Giao diÖn theo chuÈn c«ng nghiÖp I2C cña h·ng Philips.
- VËn hµnh ë chÕ ®é Master vµ Slave, cã kh¶ n¨ng hç trî nhiÒu Master.

