
AUTO.NLU
For more details and questions, contact me: thanhtam.h@gmail.com
SỬ DỤNG VI ĐIỀU KHIỂN ATMEL_AVR ĐIỀU KHIỂN VẬN TỐC
ĐỘNG CƠ DC THEO PHƯƠNG PHÁP PWM
Bài 1: Giới thiệu.
Điều khiển vận tốc động cơ, trong đó có động cơ DC, là một đề tài được quan tâm khá
nhiều trong lĩnh vực điều khiển. Có vài phương pháp thường được sử dụng nhưng có lẽ PWM là
phương pháp được ưa chuộng nhất (có thể vì nó dễ áp dụng). Vậy PWM là gì và áp dụng nó như
thê nào. Bài viết này sẽ cố gắng trả lời các câu hỏi trên ở mức độ đơn giản nhất. Bài viết gồm 2
phần chính: phần 1 giới thiệu phương pháp PWM, phần 2 nói về các chip vi điều khiển Atmel
họ AVR và ứng dụng modul PWM của các chip này.
I. Phương pháp điều rộng xung PWM (Pulse Width Modulation)
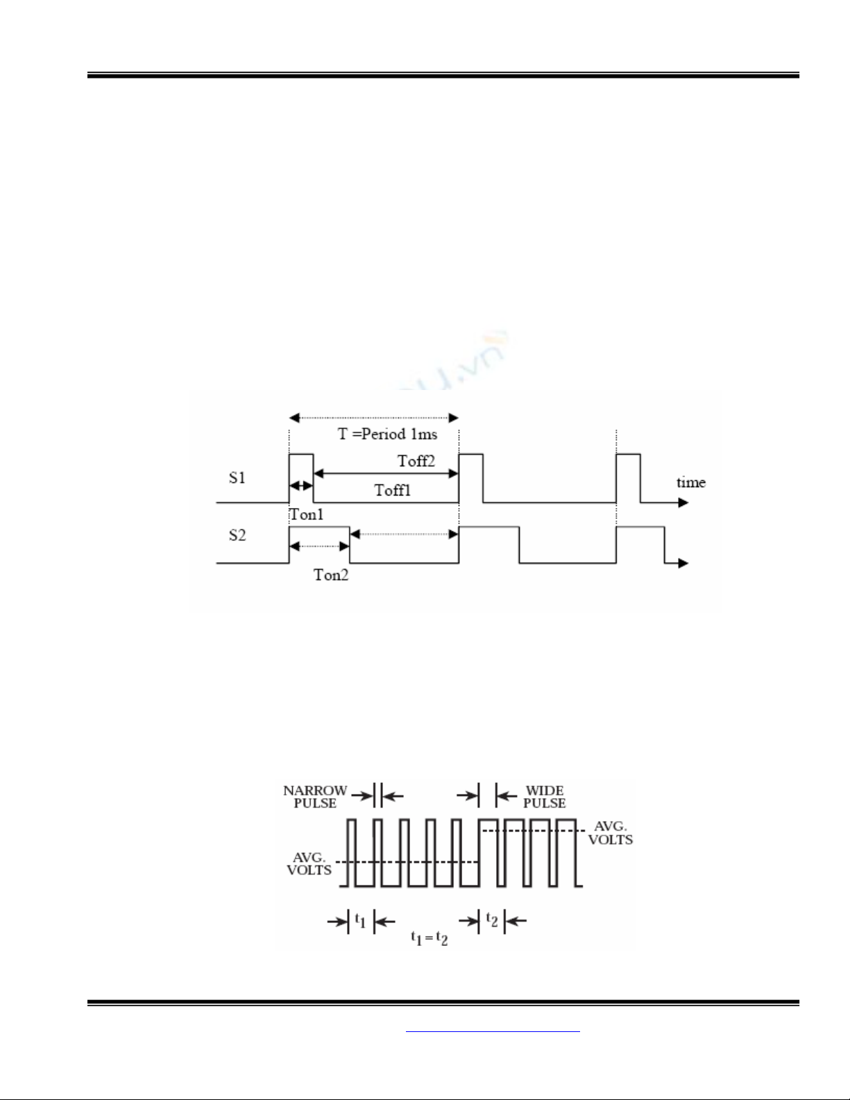
Để dễ hiểu bạn hãy quan sát hình 1 bên dưới
Hình 1: PWM
Có thể giải thích nguyên lý của phương pháp này như sau: quan sát ở hình trên ta thấy 2 tín
hiệu xung S1 một S2 có cùng chu kỳ T (1ms) tuy nhiên khoảng Ton (khoảng thời gian mức
High trong 1chu kỳ ) thì khác nhau như thế tỉ số Ton/Toff của 2 tín hiệu cũng khác nhau, việc
điều chỉnh tỉ số này gọi là điều rộng xung. Áp dụng trong điều khiển vận tốc động cơ, Ton là
thời gian cấp nguồn và Toff là thời gian ngừng cấp nguồn cho động cơ, khi thay đổi tỉ số
Ton/Toff (cũng có nghĩa thay đổi điện áp trung bình cấp cho động cơ) vận tốc động cơ cũng
thay đổi theo.
Hình 2: Ý niệm về điện áp trung bình (AVG VOLTS) trong phương pháp PWM

AUTO.NLU
For more details and questions, contact me: thanhtam.h@gmail.com
Tóm lại, bằng cách “kéo dãn” hay “thu hẹp” khoảng Ton (không thay đổi chu kỳ T) là có
thể điều khiển được vận tốc động cơ. Tuy nhiên cần chú ý rằng quan hệ giữa vận tốc động cơ và
tỉ số độ rộng xung không tuyến tính.
Phương pháp PWM không những chỉ được áp dụng trong điều khiển vận tốc động cơ mà
còn có rất nhiều ứng dụng khác như điều khiển nhiệt độ, độ sáng ...
II. Vi điều khiển AVR của Atmel.
Từ cách hiểu PWM như trên chúng ta có thể thấy rằng việc áp dụng PWM là tương đối dễ
dàng, chỉ cần có bộ tạo xung là có thể tạo PWM, thậm chí bạn có thể dùng IC 555. Trong tài liệu
này tôi hướng dẫn bạn sử dụng các chip vi điều khiển để tạo xung điều rộng.
Vì tính ứng dụng rộng rãi của PWM nên trong hầu hết các bộ điều khiển (như PLC,
microcontroller...) thường có tích hợp modul PWM. Trong các chip vi điều khiển có modul
PWM thì các chip AVR của Atmel và PIC của microchip được sử dụng khá rộng rãi. Nếu so
sánh, có thể đánh giá một cách tương đối là modul PWM trong các chip PIC có 1 vài ưu điểm so
với các chip AVR, tuy nhiên PIC sẽ khó tìm hơn AVR (ở VN) nên tôi quyết định giới thiệu cho
bạn AVR.
AVR là dòng vi điều khiển 8 bits của hãng Atmel, dòng chip này khá mới và có nhiều ưu
điểm hơn hẳn dòng chip theo cấu trúc 8051. Trong hầu hết các chip AVR đều có thích hợp
modul PWM. Lấy ví dụ chip ATMega32 có 3 bộ Timer với 4 đường xuất xung PWM. Ở đây,
trong các ví dụ tôi cũng sẽ sử dụng loại chip này.
Chip ATMega32 có bộ nhớ chương trình là 32KB ( so với 4KB của AT89C51 !!!), có sẵn
1KB EEPROM, 2K SRAM...có bộ chuyển đổi AD 8Bits, 8 kênh; 3 bộ timer với 4 đường xuất
xung PWM (2 chân PWM 18(OCR1B), 19(OCR1A) hoạt động dựa vào timer1 (16bit) ,
4(OC0)-timer0 98bit), và 21(OC2)-timer2(8bit))...ngoài ra chip này còn có rất nhiều đặc điểm
khác thích hợp với nhiều loại ứng dụng khác nhau. Các bạn có thể đọc datasheet của chip để biết
thêm.
a) Mạch nạp:
Bây giờ trước hết chúng ta đi làm mạch nạp cho AVR. Không giống như mạch nạp cho các
chip AT89C51, AT89C52..mạch nạp cho chip AVR tương đối đơn giản. Tôi giới thiệu với các
bạn một loại mạch nạp thuộc vào loại dễ làm nhất cho AVR, mạch nạp “Kanda System
STK200/+300”
Đây là mạch nạp ISP rất đơn giản, đấu nối mạch qua cổng LPT của máy tính, để làm mạch
chỉ cần 1 cáp cổng LPT, 1 IC đệm 74HC244, 1 diode ( loại chỉnh lưu thông thường), 1 điện trở
100k, và tụ điện 100nF (tụ 104), bạn có thể quan sát sơ đồ nguyên lý của mạch như trong hình 3.
Bạn cũng không cần làm mạch in, chỉ cần dùng test board là được. J1 (Header 6) trong
hình 3 bạn làm thành 6 đường dây kéo ra, đó chính là các đường nạp. Như vậy với mạch nạp
này, việc nạp chương trình vào chip sẽ diễn ra trực tiếp, không cần tháo chip khỏi mạch ứng
ụng.

AUTO.NLU
For more details and questions, contact me: thanhtam.h@gmail.com
13
25
12
24
11
23
10
22
9
21
8
20
7
19
6
18
5
17
4
16
3
15
2
14
1
P1
CONG LPT 25
R1
100k
C1100nF
A1
2
A2
4
A3
6
A4
8
1OE
1
Y1 18
Y2 16
Y3 14
Y4 12
VCC 20
GND
10
A5
11
A6
13
A7
15
A8
17
Y5 9
Y6 7
Y7 5
Y8 3
2OE
19
U1
74ALS244/SO
1
2
3
4
5
6
J1
HEADER 6
D1
DIODE
0
0
0
GND
VCC
RESET
MOSI
MISO
0
CLK
Hình 3: Mạch nạp Kanda system STK200/+300
b. Mạch ứng dụng:
Tùy theo nhu cầu sử dụng mà mạch ứng dụng có độ phức tạp khác nhau, nhưng cơ bản bạn
phải mắc các thành phần như trong hình 4. Bạn có thể hàn mạch lên test board hay đơn giản hơn
là sử dụng project board để làm mạch ( bạn nên làm theo cách này). Mạch điện trong hình 4
không có gì đặc biệt, ngoài Header J0 (DUONG NAP), bạn chú ý Header này, kết nối cho đúng
vì đây chính là đường nạp của mạch.

AUTO.NLU
For more details and questions, contact me: thanhtam.h@gmail.com
NA2
NA3
NA4
C?33
C?33
1
2
3
4
5
6
7
8
J1
HEADER 8
+5V
0
0
0
+5V
Y?
4M
1
2
3
4
5
6
7
8
J3
HEADER 8
1
2
3
4
5
6
J0
DUONG NAP
0
1
2
3
4
5
6
7
8
J2
HEADER 8
1
2
3
4
5
6
7
8
J4
HEADER 8
RST
9
PD4[OC1B]
18
PD5[OC1A]
19
PD6[ICP]
20
PC7[TOSC2] 29
AVCC 30
AGND 31
PA0[ADC0] 40
PD7 21
PC0 22
PC1 23
PC2 24
PC3 25
PC4 26
PC5 27
PC6[TOSC1] 28
VCC
10
GND
11
XTAL2
12
XTAL1
13
PD0[RXD]
14
PD1[TXD]
15
PD2[INT0]
16
PD3[INT1]
17
PB0[T0]
1
PB1[T1]
2
PB2[AIN0]
3
PB3[AIN1]
4
PB4[SS]
5
PB5[MOSI]
6
PB6[MISO]
7
PB7[SCK]
8
PO1[ADC1] 39
PA2[ADC2] 38
PA3[ADC3] 37
PA4[ADC4] 36
PA5[ADC5] 35
PA6[ADC6] 34
PA7[ADC7] 33
AREF 32
U?
ATMega32
NA4
NA3
NA2
NA1
0
R?100k NA1
+5V
C?
1uF
0
Hình 4: mạch ứng dụng cơ bản AVR
c. Trình biên dịch cho AVR:
Nếu bạn đã biết cách lập trình bằng Assembly cho các chip AT89C51, bạn có thể tiếp tục
đi theo hướng này. Trong trường hợp này bạn cần tìm hiểu lại cấu trúc của AVR (chỉ cần đọc
datasheet của chip là rất đầy đủ), sau đó bạn sử dụng phần mềm AvrStudio để lập trình và biên
dịch chương trình.
Tôi giới thiệu bạn 1 cách khác lập trình cho AVR, đó là sử dụng phần mềm
CodeVisionAVR. Đây là 1 phần mềm lập trình theo ngôn ngữ C cho các chip AVR, hỗ trợ gần
như đầy đủ các chip, có nhiều thư viện mở rộng và có tích hợp cả chương trình nạp hỗ trợ nhiều
loại mạch nạp ( trong đó có mạch Kanda STK200/+300). Đây là giải pháp khá toàn diện cho
người mới bắt đầu cũng như người lập trình AVR thành thạo.

AUTO.NLU
For more details and questions, contact me: thanhtam.h@gmail.com
Hình 5: giao diện CodeVisionAVR
d. Test mạch nạp:
Giả sử bạn đã có trong tay mạch nạp Kanda STK200/+300, mạch ứng dụng trên project
board và đã cài được CodeVisionAVR, bạn đã có thể lập trình và nạp cho mạch ứng ụng của
mình. Bước này tôi hướng dẫn cách kiểm tra mạch nạp và nạp chương trình cho chip.
- Trước hết bạn kết nối cab mạch nạp với cổng LPT máy tính.
- Kết nối các đường nạp trên mạch nạp (Header6-J1) với đường nạp trên mạch ứng dụng
(DUONG NAP-J0) theo thứ tự tương ứng.
- Lắp nguồn vào mạch ứng dụng.
- Chạy chương trình CodevisionAVR.
- Chọn file/Open, bạn browse đến thư mục có chứa file “cavr-pwm1”, mở file này lên.
- Bạn nhấn phím F9 để biên dịch, nhấn Shilf+F9 để tạo file hex.
- Tiếp theo bạn chọn Setting/Programmer, chọn loại mạch nạp là “Kanda System
STK200/+300”, các thông số khác chọn như trong hình 6, nhấn OK.

