
TRƯỜNG ĐẠI HỌC BÁCH KHOA HÀ NỘI
VIỆN KĨ THUẬT HÓA HỌC
TRUNG TÂM NGHIÊN CỨU VẬT LIỆU POLYME
Bài tiểu luận
Một số vấn đề chất độn và nền
polymer trong composite
HANOI UNIVERSITY OF SCIENCE AND TECHNOLOGY
4/2014
Nhóm sinh viên thực hiện:
Họ & Tên SHSV Lớp.
Nguyễn Văn Dũng 20103611 Polyme-k55
Nguyễn Đình Hiếu 20103216 Polyme-k55
Mai Đức Hiếu 20103124 Polyme-k55
Nguyễn Tuấn Phương 20092060 Polyme-k54
Hoàng Quang Hưng 20091360 Polyme-
k54

1
I. Năm cơ chế phá hủy vật liệu composite.
Độ bền phá hủy của một vật liệu phụ thuộc vào các tính chất của vật liệu, các
tính chất bao gồm: bền kéo, ứng suất chảy, mô đun đàn hồi, độ bền uốn và độ
bền phá hủy. Các tính chất này lại phụ thuộc vào tỉ lệ và loại chất độn có trong
vật liệu nền. Do đó, chất độn có vai trò quan trọng, quyết định đến độ bền phá
hủy . Chỉ có những hiện tượng liên quan đến va đập, uốn, ứng suất kéo mới có
thể gây ra sự phá hủy vật liệu. Tất cả các hiện tượng liên quan tới độ mỏi của
vật liệu khi chịu tải trọng động được thảo luận trong từng phần như sau.
Các cách phá hủy.
Các cơ chế phá hủy.
Cấu trúc vi mô của hạt chất độn.
Những sự thay đổi trong nền dưới tác động
Làm bền vật liệu.
Dự đoán và mô phỏng phương thức phá hủy vật liệu.
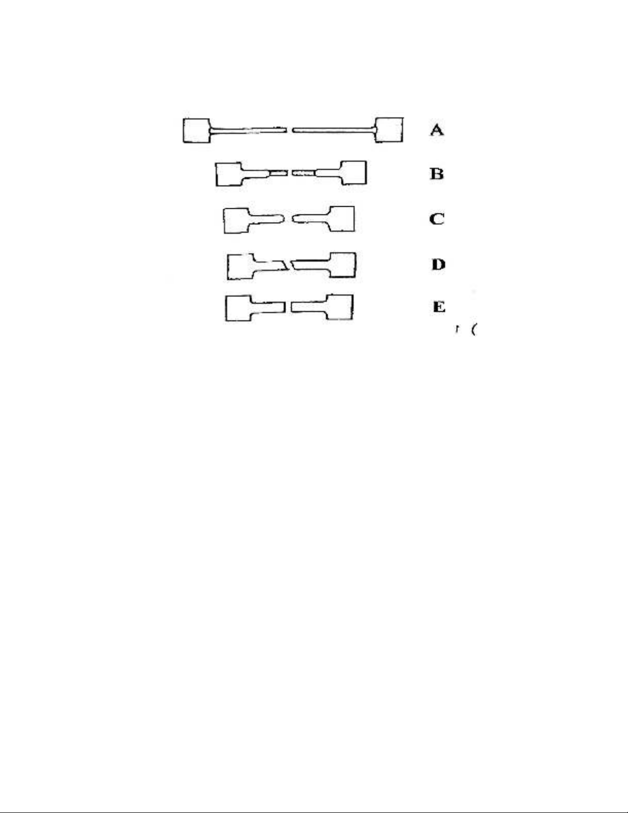
Năm kiểu phá hủy quan sát được trong các thí nghiệm kéo. Phần lớn các vật liệu
mềm, dễ uốn bị phá hủy trong lúc biến dạng cứng dẻo( kiểu A) hoặc phát triển
cổ chai ( kiểu B). Kiểu C và kiểu D là hai kiểu điển hình trong kiểu phá hủy
tương tự phá hủy giòn. Kiểu C, một vùng mỏng được tạo ra trong quá trình hình
thành cổ eo. Trong trường hợp này, ứng suất giảm đến ứng suất kéo. Trong kiểu
D, phá hủy mẫu thông quá sự hình thành dải băng. Các dải băng này cắt ngang
qua mẫu và sự phá hủy xuất hiện khi vượt quá giới hạn đàn hồi. Kiểu E là phá
hủy giòn, phát triển vuông góc với phương tác động lực. Sự phá hủy xuất hiện
trước biến dạng đàn hồi.

2
H. Sơ đồ biểu diễn năm kiểu phá hủy vật liệu khi kéo
Từ sơ đồ ta nhận thấy khi hàm lượng chất độn càng tăng thì sự phát triển cổ eo
của mẫu khi chịu tác động của lực càng giảm, sự phá hủy tiến dần tới phá hủy
giòn.
Các mô tả trong các cơ chế phá hủy dưới đây được quan sát bằng SEM và
nhựa nền là polyeste nhiệt dẻo với chất độn sử dụng là Canxi terephalat, Canxi
cacbonat.
1.Cơ chế 1( cơ chế A).
Vật liệu: có tỉ lệ chất độn thấp so với nền.
Hình số 1 mô tả cơ chế phá hủy kiểu A.

3
H.1. Sơ đồ mô tả quá trình phá hủy theo cơ chế A.
Dưới tác dụng của lực kéo, các vết nứt phát triển tạo nên vùng thô ráp trên bề
mặt mẫu. Biến dạng cứng dẻo giúp mẫu không bị phá hủy dưới tác động của tải
trọng. Tỉ lệ chất độn thấp, điều đó giúp có đủ polyme nền để mẫu không bị phá
hủy dưới tác động của tải trọng bên ngoài. Bề mặt có 1 vùng rời ra (vị trí phá
hủy ban đầu) và 1 vùng hình hoa hầu như tách rời ra (nơi mở rộng vết xé xảy
ra). Các đặc điểm hình thái học bao gồm : mất kết dính hạt và kéo dài khoảng
trống. Sự phá hủy xuất hiện khi ứng suất cục bộ trong các mạch phân tử polyme
đạt tới ứng suất phá hủy của nền. Trong vật liệu cần có tỉ lệ chất độn thấp, thì “
hoa thị” mới có thể hình thành. Hiện tượng trên được giải thích như sau, khi ta
tác động lực lên hai đầu của mẫu, mẫu biến dạng, do sự khác nhau về độ cứng
nên dẫn tới sự khác nhau về biến dạng giữa hạt độn và nền. Chính vì sự khác
nhau giữa biến dạng giữa mẫu và nền, các khoảng trống bắt đầu xuất hiện ( đây
chính là các vết nứt tế vi). Tuy nhiên tỉ lệ chất độn so với nền rất thấp nên các

4
khoảng trống lúc nay không tập hợp lại được vớ nhau, độ bền của mẫu lúc này
phụ thuộc chủ yếu vào độ bền của nhựa nền. Giả sử là các hạt chất độn đã lấp
đầy được hết các khuyết tật của mẫu, thì khi lực tác động, nơi yếu nhất trong
mẫu chính là hai bên bề mặt của mẫu bởi vì với các phân tử bên trong lòng mẫu
khi lực tác động các phân tử đó được hai phân tử hai bền gánh bớt lực, còn với
bên bề mặt ngoài mẫu thì các phân tử chỉ có được một sự trợ lực của phân tử
bên cạnh, do vậy sự phá hủy mẫu sẽ xảy ra từ bề mặt ngoài của mẫu.
2. Cơ chế phá hủy B.
Vật liệu: tỉ lệ chất độn cao hơn A.
Hình 2 mô tả cơ chế phá hủy kiểu B. Sự hình thành và phát triển các khoảng
trống tương tự như kiểu phá hủy A. Chỉ khác là ở kiểu này các khoảng trống đó
tập trung lại với nhau và sự phá hủy xảy ra khi các tập hợp hạt độn tập kết tụ lại
với nhau tạo khoảng trống lớn tối đa. Phá hủy bắt đầu xảy ra ở vị trí bên ( bề
mặt ngoài) như kiểu A , cả phá hủy từ bên trong mẫu và không có vùng hoa thị.
Các bó sợi ngắn và nhỏ theo đường kính.
H.2. Sơ đồ mô tả quá trình phá hủy vật liệu theo cơ chế B.

