
Thuyêt Minh Đô An Tôt Nghiêp KSXD Khoa 2007-2011 SVTH: Lê Văn Quôc - L p:TCPY07B1 ơ
PH N 2: K T C U (70%)Ầ Ế Ấ
CH NG I: TÍNH ƯƠ K T C U SÀN T NG 4Ế Ấ Ầ
1.1./ S B CH N KÍCH TH C D M SÀNƠ Ộ Ọ ƯỚ Ầ
1.1.1/ S b ch n kích th c d mơ ộ ọ ướ ầ
S b ch n chi u cao d m theo công th c sau:ơ ộ ọ ề ầ ứ
1
d d
d
h l
m
=
Trong đó:
d
l
- nh p d m ị ầ
d
m
- h s ph thu c vào tính ch t c a khung và t i tr ngệ ố ụ ộ ấ ủ ả ọ
d
m
= (8 ÷ 12) - Đ i v i h d m chính, khung 1 nh pố ớ ệ ầ ị
d
m
= (12 ÷ 16) - Đ i v i h d m chính, khung nhi u nh pố ớ ệ ầ ề ị
d
m
= (16 ÷ 20) - Đ i v i h d m phố ớ ệ ầ ụ
B r ng d m đ c ch n theo công th c sau:ề ộ ầ ượ ọ ứ
(0,3 0,5).
d d
b h= ÷
1.1.1.1./ Kích th c d m truc 1,2,3,4,5,6,7ướ ầ :
+ Chi u cao c a d m ch n nh sau:ề ủ ầ ọ ư
( )
1 1 1 1 .7000 58.3 43.75
12 16 12 16
dk
h l cm
= ÷ = ÷ = ÷
÷ ÷
Ch n họdk=60(cm)
+B r ng c a d m ch n nh sau:ề ộ ủ ầ ọ ư
( ) ( ) ( )
0,3 0,5 . 0,3 0,5 .55 16,5 27,5
dk dk
b h cm= ÷ = ÷ = ÷
Ch n bọdk=30(cm)
→
V y ch n d m khung (30x60)cm.ậ ọ ầ
1.1.1.2./ Kích th c d m truc A,B,C,Dướ ầ
+ Chi u cao c a d m ph ch n nh sau:ề ủ ầ ụ ọ ư
( )
1 1 1 1 .8000 50 40
16 20 16 20
dp
h l cm
= ÷ = ÷ = ÷
÷ ÷
Ch n họdp=50 (cm)
+B r ng c a d m ch n nh sau:ề ộ ủ ầ ọ ư
( ) ( ) ( )
0,3 0,5 . 0,3 0,5 .50 15 25
dk dk
b h cm= ÷ = ÷ = ÷
Ch n bọdp=25(cm)
→
V y ch n d m ph (25x50)cm.ậ ọ ầ ụ
Đê Tai: Tru S Cac C Quan Thuôc Bô KH& ĐT Tai Đa Năng Trang ơ ơ 10

Thuyêt Minh Đô An Tôt Nghiêp KSXD Khoa 2007-2011 SVTH: Lê Văn Quôc - L p:TCPY07B1 ơ
1.1.1.3./ Kích th c d m phu gi a cac truc 23, 34, 45, 56:ướ ầ ư
+ Chi u cao c a d m ph ch n nh sau:ề ủ ầ ụ ọ ư
( )
1 1 1 1 .7000 43,750 35
16 20 16 20
dp
h l cm
= ÷ = ÷ = ÷
÷ ÷
Ch n họdp=40 (cm)
+B r ng c a d m ch n nh sau:ề ộ ủ ầ ọ ư
( ) ( ) ( )
0,3 0,5 . 0,3 0,5 .40 12 20
dp dp
b h cm= ÷ = ÷ = ÷
Ch n bọdp=20(cm)
→
V y ch n d m ph (20x40)cm.ậ ọ ầ ụ
1.1.2./ Ch n chi u dày b n sànọ ề ả
- Ch n chi u dày sàn theo công th c: ọ ề ứ
1
.
s
s
D l
hm
=
Trong đó:
l1 - chi u dài c nh ng n c a ô sàn,ề ạ ắ ủ
D - hê s ph thu c vào t i tr ng, D = (0,8 ÷ 1,4), ch n D = 1ố ụ ộ ả ọ ọ
s
m
- h s ph thu c vào lo i b n,ệ ố ụ ộ ạ ả
s
m
= (30 ÷ 35) – v i b n lo i d m,ch n m = 30ớ ả ạ ầ ọ
s
m
= (40 ÷ 45) – v i b n kê 4 c nh, ch n m = 45ớ ả ạ ọ
s
m
= (10 ÷ 18) – v i b n công xôn, ch n m = 15ớ ả ọ
- Đ i v i nhà dân d ng thì chi u dày b n sàn t i thi u là ố ớ ụ ề ả ố ể
min 6h=
cm
-Ti n hành ch n chi u dày b n sàn theo ô b n có kích th c l n nh t.ế ọ ề ả ả ướ ớ ấ
* Đ i v i lo i b n kê 4 c nh:ố ớ ạ ả ạ ô b n có kích th c l n nh t: (4,5m x7,0m)ả ướ ớ ấ
1
1
. .450 10
45
b
D
h l cm
m
= = =
* Đ i v i lo i b n d m:ố ớ ạ ả ầ ô b n có kích th c : (1,5m x 4,5m)ả ướ
1
1
. .150 5
30
b
D
h l cm
m
= = =
-V y: S b ch n chi u dày sàn hậ ơ ộ ọ ề s = 10 cm cho ô sàn t t c các phòng.ấ ả
V i nh ng đi u ki n trên, các ô sàn đ c phân lo i nh sau:ớ ữ ề ệ ượ ạ ư
Đê Tai: Tru S Cac C Quan Thuôc Bô KH& ĐT Tai Đa Năng Trang ơ ơ 11

Thuyêt Minh Đô An Tôt Nghiêp KSXD Khoa 2007-2011 SVTH: Lê Văn Quôc - L p:TCPY07B1 ơ
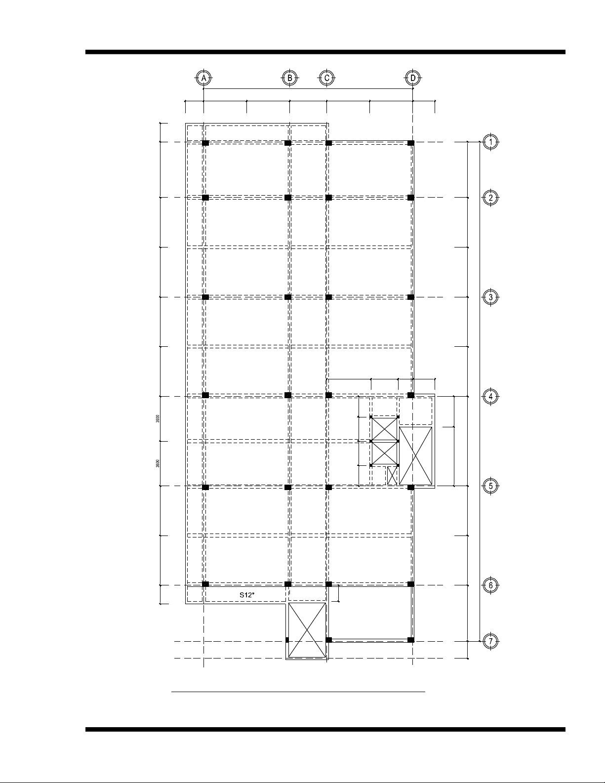
M ÆT B» NG d Çm s µ n t Çn g ®iÓn h ×n h
40001500
3000 3500 1800
17000
150045004000
1500
450040004000400040007200400040004500
40200
1400
4000 400040004000
35003500 3500
1300
S1
S17
S11
S13
S14
S13
S10 S9
24504750
S2
S3
S5
S7
S7
S8
S8
S6
S6
S12
S15
S15
S15
S15
S16
S16
S15
S15
S1
S4
S4
1650195019501650
180012002200
S2
S2
S2
S2
S2
S2
S2
S2
S2
S2*
3600
S2*
S6
S6
S6
S6
Đê Tai: Tru S Cac C Quan Thuôc Bô KH& ĐT Tai Đa Năng Trang ơ ơ 12

Thuyêt Minh Đô An Tôt Nghiêp KSXD Khoa 2007-2011 SVTH: Lê Văn Quôc - L p:TCPY07B1 ơ
S hi u ố ệ ô
sàn
C nhạ
ng n ắC nh dàiạT s ỷ ố
Di nệ
tích
Chi uề
dày Phân lo i ôsànạ
L1 (m) L2(m) L2/L1m2hs(cm)
S1 4.5 7.0 1.55 31.5 10 B n 2 ph ngả ươ
S2 4.0 7.0 1.75 28.0 10 B n 2 ph ngả ươ
S2* 4.0 7.0 1.75 28.0 10 B n 2 ph ngả ươ
S3 4.5 7.0 1.55 31.5 10 B n 2 ph ngả ươ
S4 3.6 7.0 1.9 25.2 10 B n 2 ph ngả ươ
S5 3.0 4.5 1.5 13.5 10 B n 2 ph ngả ươ
S6 3.0 4.0 1.3 12.0 10 B n ả2 ph ngươ
S7 3.0 3.6 1.2 10.8 10 B n 2 ph ngả ươ
S8 3.6 3.6 1.0 12.96 10 B n ả2 ph ngươ
S9 2.45 3.0 1.2 7.35 10 B n 2 ph ngả ươ
S10 1.65 2.2 1.3 3.63 10 B n 2 ph ngả ươ
S11 1.5 3.0 2.0 4.5 10 B n 2 ph ngả ươ
S12 1.5 3.5 2.3 5.25 10 B n 1 ph ngả ươ
S12* 1.5 7.0 4.67 10.5 10 B n 1 ph ngả ươ
S13 1.5 1.5 1.0 2.25 10 B n 2 ph ngả ươ
S14 1.5 4.5 3 6.75 10 B n 1 ph ngả ươ
S15 1.5 4.0 2.6 6.0 10 B n 1 ph ngả ươ
S16 1.5 3.6 2.4 5.4 10 B n 1 ph ngả ươ
S17 1.30 3.2 2.4 4.16 10 B n 1 ph ngả ươ
Bang phân chia ô san
1.2./ XÁC Đ NH T I TR NG TÁC D NG LÊN SÀNỊ Ả Ọ Ụ
1.2.1./ C u t o các l p sàn:ấ ạ ớ
- SAØN BEÂ TOÂNG COÁT THEÙP ÑOÅ TAÏI CHOÅ DAØY 100
- SAØN LAÙT GAÏCH CERAM IC 400X400
- LOÙT VXM B75 DAØY 30
- SAØN BEÂ TOÂNG COÁT THEÙP ÑOÅ TAÏI CHOÅ DAØY 100
- TRAÀN TRAÙT VÖÕA XI M AÊNG B7.5 DAØY 15
- TRAÀN SÔN 3 NÖÔÙC M AØU TRAÉNG
- SAØN LAÙT GAÏCH CERAM IC 300X300 CHOÁNG TRÖÔÏT
- THIEÁT BÒ ÑÖÔØNG OÁNG KYÕ THUAÄT
- LOÙT VXM B7.5 DAØY 30 TAÏO DOÁC
- LÔÙP VAÛI DAÀU SIKALATEX CHOÁNG THAÁM
- TRAÀN ÑOÙNG TOÂN LAÏNH DAØY 3 ZEM
Đê Tai: Tru S Cac C Quan Thuôc Bô KH& ĐT Tai Đa Năng Trang ơ ơ 13

Thuyêt Minh Đô An Tôt Nghiêp KSXD Khoa 2007-2011 SVTH: Lê Văn Quôc - L p:TCPY07B1 ơ
1.2.2./ T i tr ng tác d ng lên sàn:ả ọ ụ
1.2.2.1./Tĩnh t i ả
Tĩnh t i tác d ng lên sàn là t i tr ng phân b đ u do tr ng l ng b n thân các l p c uả ụ ả ọ ố ề ọ ượ ả ớ ấ
t o sàn truy n vào. Căn c vào các l p c u t o m i ô sàn c th , tra b ng t i tr ng tínhạ ề ứ ớ ấ ạ ở ỗ ụ ể ả ả ọ
toán c a các v t li u thành ph n d i đây đ tính.ủ ậ ệ ầ ướ ể
Ta có công th c tínhứ
tt
s
g
=
. .
i i i
n
γ δ
Σ
(kG/m2): tĩnh t i tính toánả
Trong đó:
i
γ
– tr ng l ng riêng c a v t li u,ọ ượ ủ ậ ệ
i
δ
– chi u dày c a các l p c u t o,ề ủ ớ ấ ạ
i
n
– h s v t t i, tra theo TCVN 2737-1995ệ ố ượ ả
Ta ti n hành xác đ nh tĩnh t i riêng cho t ng ô sàn căn c theo lo i phòng do chúng có c uế ị ả ừ ứ ạ ấ
t o các l p sàn khác nhau nh sau:ạ ớ ư
Lo i ôạ
sàn Câu t o các l p v t li uạ ớ ậ ệ δ(m)
γ
(daN/
m3)
gtc
(daN/
m2)
n
tt
bt
g
(daN/m
2)
Phòng
Làm
vi c,hanệ
h lang
-G ch Ceramic 40x40cmạ0.01 2000 20 1.1 22
-V a lót ximăng ữB75 0.03 1800 54 1.3 70.2
-Sàn BTCT B20 0.1 2500 250 1.1 275
-V a trát tr n VXM B7.ữ ầ 5 0.015 1800 27 1.3 35.1
T ng c ng:ổ ộ 402.3
Phòng
v sinhệ
-G ch Ceramic ch ng tr tạ ố ượ 0.01 2000 20 1.1 22
-V a lót ximăng B7.5ữ0.03 1800 54 1.3 70.2
-Sàn BTCT B20 0.1 2500 250 1.1 275
- Thiêt bi đ ng ông ươ 50 1.2 60
- Trân tôn20 1.2 24
T ng c ng:ổ ộ 451.2
Ngoài ra, t i tr ng do m ng t ng trên sàn truy n xu ng sàn đ c qui v t i tr ng phân bả ọ ả ườ ề ố ượ ề ả ọ ố
đ u trên sàn. Cách qui đ i này ch mang tính g n đúng.ề ổ ỉ ầ
* T i tr ng t ng phân b truy n xu ng sàn:ả ọ ườ ố ề ố
2
. . . . / ( / )
tt
t t t t t s
g b h l n S kg m
γ
=
B ng tả i tr ng t ng phân b truy n xu ng sànả ọ ườ ố ề ố
Đê Tai: Tru S Cac C Quan Thuôc Bô KH& ĐT Tai Đa Năng Trang ơ ơ 14

