
1
Chương 5: QUÁ TRÌNH QUÁ ĐỘ TRONG
MÁY ĐIỆN
I. Khái niệm chung:
Quá trình quá độ trong máy điện xảy ra phức tạp hơn trong máy biến áp hay các
thiết bị tĩnh khác do tính chất chuyển động của nó. Do vậy nếu kể đến tất cả các yếu tố
ảnh hưởng thì việc nghiên cứu sẽ vô cùng khó khăn và phức tạp. Để đơn giản người ta
đưa ra nhiều giả thiết gán cho máy điện một số tính chất “lý tưởng hóa”. Dĩ nhiên kết quả
sẽ có sai số, nhưng so sánh với các số liệu thực nghiệm thường sai số nằm trong phạm vi
cho phép.
Việc nghiên cứu vào thời điểm đầu
của quá trình quá độ dựa trên nguyên lý từ
thông móc vòng không đổi và để đơn giản
chỉ xét trên một pha của máy điện, các cuộn
dây stato và rôto xem như chỉ có một vòng
dây, lúc đó từ thông Φ trong mạch từ cũng
chính là từ thông móc vòng Ψ.
Qui ước chọn hệ trục tọa độ trong máy
điện như sau (hình 5.1):
Hình 5.1
• Các trục tọa độ d, q giá theo dọc trục và ngang trục của rôto.
• Thành phần dọc trục của dòng stato dương khi sức từ động do nó tạo nên cùng
chiều với sức từ động của cuộn kích từ.
• Thành phần ngang trục của dòng stato dương khi sức từ động do nó tạo nên chậm
90o so với sức từ động của cuộn kích từ.
II. Các loại từ thông trong máy điện:
• Từ thông toàn phần của cuộn kích từ:
Ψ
..
.
ff
f
IX=
trong đó: Xf - điện kháng của cuộn kích từ.
- Từ thông hữu ích:
Ψ
..
.
df
ad
IX=
trong đó: Xad - điện kháng hổ cãm giữa các cuộn dây stato và rôto, được gọi là điện
kháng phản ứng phần ứng dọc trục.
- Từ thông tản:
Ψ
..
.
σσ
fff
IX=
trong đó: Xσf - điện kháng tản của cuộn kích từ.
Như vậy: ΨΨ
Ψ
...
fdf fad
XX=+ = +
σσ
vaì X f

2
Hệ số tản của cuộn kích từ: σσσ
ff
f
f
f
X
X
==
Ψ
Ψ
.
.
• Từ thông phần ứng:
- Từ thông phản ứng phần ứng:
dọctrục: Ψ
..
.
ad d ad
IX=
ngang trục: Ψ
..
.
aq q aq
IX=
- Từ thông tản:
dọc trục: Ψ
..
.
dd
IX=σ
ngang trục: Ψ
..
.
qq
IX=σ
toàn phần: Ψ
..
.
σσ
=IX
trong đó: III
dq
=+
22
Hình 5.2
• Từ thông tổng hợp móc vòng với cuộn kích từ: (chỉ có theo trục dọc)
ΨΨΨ
Σ
.... .
..
ffadf
fdad
IX IX=+ = +
• Từ thông tổng hợp móc vòng với cuộn stato:
- dọc trục:
ΨΨΨΨ
..... . .
.( ). .
sd d ad d f ad ad fad dd
IX X X IX IX=+ + = + + = +
σσ
- ngang trục:
ΨΨΨ
.... .
.( ) .
sq aq qqaq qq
IX X IX=+ + = + =0σσ
• Từ thông kẻ hở không khí dọc trục:
ΨΨΨ
.... . ..
..()
δddadf
ad dad fd
ad
IX IX I IX=+ = + =+
• Từ thông cuộn cản:
- Cuộn cản dọc:
từ thông chính:
Ψ
..
.
11dd
ad
IX=
từ thông tản:
Ψ
..
.
σσ
111
ddd
IX=
- Cuộn cản ngang:
từ thông chính: Ψ
..
.
11qq
IX=aq
từ thông tản:
Ψ
..
.
σσ
111
qqq
IX=
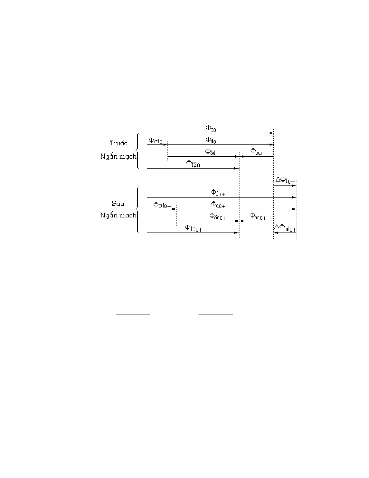
III. Sức điện động và điện kháng quá độ:
Sức điện động và điện kháng quá độ là những tham số đặc trưng cho máy phát điện
không có cuộn cản vào thời điểm đầu của quá trình ngắn mạch.
Khi ngắn mạch, từ thông Φad tăng đột ngột một lượng ∆Φado+ (hình 5.3). Theo định
luật Lenx, độ tăng ∆Φado+ sẽ làm cho Φf tăng lên một lượng ∆Φfo+ sao cho tổng từ thông
móc vòng là không đổi.

3
∆Ψ ∆Ψ ∆Ψ
Σ
...
ffoado
=+
++
0=
Do Φf tăng nên Φσf cũng tăng một lượng tỷ lệ vì:
ΨΨ
..
.
σσ
fff
=
và từ thông kẻ hở không khí cũng giảm xuống vì:
Φ
Φ
Φ
Σδσdf f
=
−
Điều này chứng tỏ Φd, Φδd và sức điện động Eq, Eδ tương ứng của máy phát thay
đổi đột biến vào thời điểm đầu của ngắn mạch nên không thể sử dụng các tham số này để
thay thế cho máy phát vào thời điểm đầu của ngắn mạch.
Hình 5.3
Để đặc trưng cho máy phát trong tính toán ta sử dụng từ thông không đột biến lúc
ngắn mạch là ΦfΣ, trong đó phần xem như móc vòng với cuộn dây stato là:
ΨΨ
Σ
.'.
()
df
=−1σf
Ψd’ được gọi là từ thông quá độ dọc trục.
ΨΨΨ
.'.. . .
..
()() ()
df
fad
fad ad
fad
ffad
dad
fad d ad
fad
X
XX
X
XX
IX X IX
IX I X
XX
=− ++=
+++
⎡
⎣
⎢⎤
⎦
⎥
++
1
2
σ
σσ
σ
σ
=
Từ thông móc vòng này ứng với sức điện động Eq’ được gọi là sức điện động quá
độ:
EEjI X
XXUjIx X
XX UjIx
qqdad
fad
qdd ad
fad
qdd
'(
... .. ..
'
=− +=+ − ++
22
σσ
=).
xd’ được gọi là điện kháng quá độ dọc trục.
xx X
XXXXX
XX
dd ad
fad
fad
fa
'.
=− +=+ +
2
σσσ
σd

4
Đối với máy phát không có cuộn cản ngang
trục, từ thông phản ứng phần ứng ngang trục Φaq
trong quá trình quá độ có thể đột biến. Sự đột biến
của từ thông này có thể xem như là điện áp rơi do
dòng Iq trên điện kháng xq, nghĩa là:
Ed’ = 0 ; xq’ = xq
Tóm lại, nếu máy điện không có cuộn cản thì
ở thời điểm đầu ngắn mạch có thể thay thế bằng
Eq’ và xd’.
Dòng quá độ ở thời điểm đầu ngắn mạch chỉ
có thành phần dọc trục:
Hình 5.4
II E
xx
odo q
dn
'' '
'
==+g
=
σ
I
.
trong đó: xng - điện kháng từ đầu cực máy điện đến điểm ngắn mạch.
IV. Sức điện động và điện kháng siêu quá độ:
Sức điện động và điện kháng siêu quá độ là những tham số đặc trưng cho máy phát
điện có cuộn cản vào thời điểm đầu của quá trình ngắn mạch.
Xét một máy điện có các cuộn cản dọc trục và ngang trục, giả thiết cuộn kích từ và
cuộn cản dọc trục là như nhau nên cả 2 đều liên hệ với cuộn dây stato bởi từ thông hỗ
cảm chung Φad được xác định bởi Xad.
Khi có một lượng tăng đột ngột từ thông ∆Φad, ở rôto sẽ có thay đổi tương ứng từ
thông của cuộn kích từ ∆Φf và của cuộn cản dọc trục ∆Φ1d sao cho tổng từ thông móc
vòng không đổi, do vậy:
- Đối với cuộn kích từ: ∆Ψ
∆Ψ ∆Ψ
.. .
fdad
++ =
10
∆∆∆IX X IX IX
ffad dad dad
...
()
σ++ +
1=0 (5.1)
- Đối với cuộn cản dọc:
∆Ψ ∆Ψ ∆Ψ ∆Ψ
.. ..
11 0
dddad
+++
σ
∆∆∆IX X IX IX
ddad fad dad
...
()
11σ++ + =0 (5.2)
Từ (5.1) và (5.2) ta có: (5.3)
∆∆IX I X
ffdd
..
σ
=11
Từ (5.3) thấy rằng lượng tăng ∆Id tạo ra ở 2 cuộn kích từ và cuộn cản dọc các dòng
điện tăng cùng chiều nhưng độ lớn tỷ lệ nghịch điện kháng tản của chúng.
Thay thế phản ứng của 2 cuộn dây ở rôto tại thời điểm đầu của ngắn mạch bằng
phản ứng của một cuộn dây tương đương dọc trục có dòng bằng:
∆∆∆II
rd f d
..
=+
1
và điện kháng tản Xσrd với điều kiện vẫn thỏa mãn nguyên lý từ thông móc vòng không
đổi, tức là:

5
∆Ψ ∆Ψ ∆Ψ
.. .
rd rd ad
++
σ0=
⇒++
⇒+ ++
= 0
= 0 (5.4)
∆∆
∆∆ ∆
IX X IX
IIXX IX
rd rd ad dad
fd
rd ad dad
..
.. .
()
()()
σ
σ
1
Giải các phương trình (5.2), (5.3) và (5.4) ta được:
XXX
XX
rd fd
fd
σσσ
σσ
=+
.1
1
Như vậy điện kháng tản của cuộn dây tương đương với cuộn kích từ và cuộn cản
dọc bằng điện kháng tản của 2 cuộn dây này ghép song song.
Để tìm điện kháng đặc trưng cho máy điện theo trục dọc ở thời điểm đầu của ngắn
mạch, ta thực hiện tính toán tương tự như mục III (đối với máy điện không có cuộn cản)
trong đó thay cuộn kích từ có Xσf bằng cuộn dây tương đương có Xσrd và ta cũng tìm
được:
xx X
XXX
XX X
dd ad
rd ad
fd
'' =− +=+
++
2
1
1
111
σσ
σσ ad
xd’’ được gọi là điện kháng siêu quá độ dọc trục.
Tương tự cho trục ngang, ta cũng có điện kháng siêu quá độ ngang trục:
xx X
XX
XXX
XX
qq aq
qaq
qaq
qa
'' .
=− +=+ +
2
1
1
1σσσ
σq
Các sức điện động tương ứng với các
điện kháng trên được gọi là sức điện động
siêu quá độ ngang trục Eq’’ và dọc trục Ed’’,
chúng có giá trị không đột biến vào thời điểm
đầu ngắn mạch.
EUjIx
EUjIx
qqo
do d
ddo
qo q
...
''
...
''
'' .
'' .
=+
=+
trong đó:
Uqo, Udo, Iqo, Ido - áp và dòng trước
ngắn mạch.
EEE
oq
'' '' ''
=+
2
d
2
- sức điện động siêu
quá độ toàn phần.
Hình 5.5
Vậy máy phát ở thời điểm đầu ngắn mạch có thể đặc trưng bằng sức điện động siêu
quá độ và điện kháng siêu quá độ.
Giá trị dòng siêu quá độ dọc trục và ngang trục tương ứng là:
IE
xx
IE
xx
dq
dn
qd
qn
'' ''
''
'' ''
''
=+
=+
g
g

