
H và tên: NGÔ TH PH NGọ Ị ƯƠ TH O L p: KT3 –Ả ớ
K2007TP
KI M TRA GI A KỲỂ Ữ
C S LÝ LU N VƠ Ở Ậ Ề
K TOÁN THU THU NH P DOANH NGHI PẾ Ế Ậ Ệ
1. Nh ng v n đ chung v thu TNDN:ữ ấ ề ề ế
a) Khái ni m:ệ
T ch c, cá nhân s n xu t, kinh doanh hàng hóa, d ch v (g i chung làổ ứ ả ấ ị ụ ọ
c s kinh doanh) có thu nh p ph i n p thu TNDN.ơ ở ậ ả ộ ế
b) Xác đ nh thu TNDN:ị ế
- Doanh thu đ tính thu nh p ch u thu là toàn b ti n bán hàng, ti n cungể ậ ị ế ộ ề ề
ng d ch v k c tr giá, ph thu,ph tr i mà c s kinh doanh đ cứ ị ụ ể ả ợ ụ ụ ộ ơ ở ượ
h ng, không phân bi t đã thu đ c ti n hay ch a thu đ c ti n.ưở ệ ượ ề ư ượ ề
- Doanh thu đ tính thu nh p ch u thu đ i v i c s kinh doanh n p thuể ậ ị ế ố ớ ơ ở ộ ế
GTGT theo ph ng pháp kh u tr thu là doanh thu không có thu GTGT.ươ ấ ừ ế ế
Doanh thu đ tính thu nh p ch a thu đ i v i c s kinh doanh n p thuể ậ ị ế ố ớ ơ ở ộ ế
GTGT theo ph ng pháp tr c ti p trên GTGT là doanh thu bao g m cươ ự ế ồ ả
thu GTGT.ế
- Th i đi m xác đ nh doanh thu đ tính thu nh p ch u thu đ i v i ho tờ ể ị ể ậ ị ế ố ớ ạ
đ ng bán l hàng hóa, cung ng d ch v là th i đi m chuy n giao quy n sộ ẻ ứ ị ụ ờ ể ể ề ở
h u hàng hóa, hoàn thành d ch v ho c th i đi m l p hóa đ n bán hàng,ữ ị ụ ặ ờ ể ậ ơ
cung ng d ch v .ứ ị ụ
- Doanh thu đ tính thu nh p ch u thu trong m t s tr ng h p đ c quyể ậ ị ế ộ ố ườ ợ ượ
đ nh c th trong các ngh đ nh, thông t c a B tài chính ban hành.ị ụ ể ị ị ư ủ ộ
2. Phân bi t chênh l ch t m th i và chênh l ch vĩnh vi n:ệ ệ ạ ờ ệ ễ
a) Chênh l ch t m th iệ ạ ờ : là chênh l ch phát sinh do s khác bi t v th iệ ự ệ ề ờ
đi m doanh nghi p ghi nh n thu nh p ho c chi phí và th i đi m pháp lu tể ệ ậ ậ ặ ờ ể ậ
Trang 1

H và tên: NGÔ TH PH NGọ Ị ƯƠ TH O L p: KT3 –Ả ớ
K2007TP
v thu quy đ nh tính thu nh p ch u thu ho c chi phí đ c kh u tr kh iề ế ị ậ ị ế ặ ươ ấ ừ ỏ
thu nh p ch u thu .ậ ị ế
b) Chênh l ch vĩnh vi nệ ễ : là chênh l ch gi a l i nhu n k toán và thu nh pệ ữ ợ ậ ế ậ
ch a thu phát sinh t các kho n doanh thu, thu nh p khác, chi phí đ c ghiị ế ừ ả ậ ượ
nh n vào l i nhu n k toán nh ng l i không đ c tính vào thu nh p, chiậ ợ ậ ế ư ạ ượ ậ
phí khi xác đ nh thu nh p ch u thu thu nh p doanh nghi p.ị ậ ị ế ậ ệ
3. K toán chi ti t thu TNDN:ế ế ế
a) Ch ng t k toán:ứ ừ ế
- Khái ni m: ệCh ng t k toán là nh ng ch ng minh b ng gi y t vứ ừ ế ữ ứ ằ ấ ờ ề
nghi p v kinh t phát sinh và th c s hoàn thành.ệ ụ ế ự ự
Ngoài ra, ch ng t k toán còn có th là các lo i th thanh toán, băng t ,ứ ừ ế ể ạ ẻ ừ
đĩa t (g i chung là ch ng t đi n t ).ừ ọ ứ ừ ệ ử
- Tác d ng: ụCh ng t k toán có các tác d ng:ứ ừ ế ụ
+ Căn c đ tính toán và ghi s k toán.ứ ể ổ ế
+ Căn c đ ki m tra tính h p pháp c a nghi p v kinh t phát sinh,ứ ể ể ợ ủ ệ ụ ế
ngăn ng a và phát hi n các hi n t ng vi ph m chính sách, ch đ vừ ệ ệ ượ ạ ế ộ ề
qu n lý kinh t , tài chính.ả ế
+ Căn c đ quy trách nhi m các đ i t ng có liên quan.ứ ể ệ ố ượ
+ Căn c đ gi i quy t tranh ch p, ki n t ng n u có.ứ ể ả ế ấ ệ ụ ế
- Các y u t c b n c a ch ng t bao g m các y u t sau:ế ố ơ ả ủ ứ ừ ồ ế ố
(1) Tên g i ch ng t .ọ ứ ừ
(2) S và ngày l p ch ng t .ố ậ ứ ừ
Trang 2

H và tên: NGÔ TH PH NGọ Ị ƯƠ TH O L p: KT3 –Ả ớ
K2007TP
(3) Tên, ch ký, đ a ch c a nh ng ng i có trách nhi m, có liên quanữ ị ỉ ủ ữ ườ ệ
đ n nghi p v kinh t .ế ệ ụ ế
(4) N i dung c a nhi p v phát sinh.ộ ủ ệ ụ
(5) Đ n v đo l ng.ơ ị ườ
- Trình t x lý chúng t bao g m các b c:ự ử ừ ồ ướ
(1) Ki m tra ch ng t : ki m tra tính h p l , h p pháp và chính xác.ể ứ ừ ể ợ ệ ợ
(2)Hoàn ch nh ch ng t : phân lo i theo yêu c u ghi s , xác đ nh và ghiỉ ứ ừ ạ ầ ổ ị
nh n giá tr , l p đ nh kho n.ậ ị ậ ị ả
(3) Luân chuy n ch ng t : xác đ nh con đ ng đ ch ng t đ n phòngể ứ ừ ị ườ ể ứ ừ ế
k toán trong th i gian ng n nh t.ế ờ ắ ấ
(4) B o qu n ch ng t : sau khi ghi s , ph i l u tr và b o qu n ch ngả ả ứ ừ ổ ả ư ữ ả ả ứ
t phù h p v i quy đ nh.ừ ợ ớ ị
b) S k toán:ổ ế
- Khái ni m:ệ S k toán là nh ng t s đ c thi t k có k t c u phù h pổ ế ữ ờ ổ ượ ế ế ế ấ ợ
v i đ i t ng mà nó ph n ánh, đ c dùng đ ghi chép s hi n có và tìnhớ ố ượ ả ượ ể ố ệ
hình bi n đ ng c a các đ i t ng k toán và ph c v cho vi c l p ra cácế ộ ủ ố ượ ế ụ ụ ệ ậ
báo cáo k toán có liên quan.ế
- Phân lo i s k toán: có 4 cách phân lo i:ạ ổ ế ạ
(1) Căn c vào ph ng pháp ghi chép thì s k toán đ c phân thành 3ứ ươ ổ ế ượ
lo i: s ghi theo th t th i gian, s ghi theo h th ng và s k h p ghiạ ổ ứ ự ờ ổ ệ ố ổ ế ợ
theo th t th i gian và theo h th ng.ứ ự ờ ệ ố
(2) Căn c vào m c đ ph n ánh đ i t ng thì s k toán đ c chiaứ ứ ộ ả ố ượ ổ ế ượ
thành 3 lo i : s t ng h p, s chi ti t và s k t h p t ng h p và chi ti t.ạ ổ ổ ợ ổ ế ổ ế ợ ổ ợ ế
(3) Căn c vào ki u thi t k m u s thì s k toán đ c chia thành 4ứ ể ế ế ẫ ổ ổ ế ượ
lo i: s ki u 1 bên, s ki u 2 bên, s ki u nhi u c t và s ki u bàn c .ạ ổ ể ổ ể ổ ể ề ộ ổ ể ờ
(4) Căn c vào hình th c t ch c s thì s k toán đ c chia thành 2 lo i:ứ ứ ổ ứ ổ ổ ế ượ ạ
s đóng thành quy n và s t r i (th ).ổ ể ổ ờ ơ ẻ
Trang 3

H và tên: NGÔ TH PH NGọ Ị ƯƠ TH O L p: KT3 –Ả ớ
K2007TP
c) Trình t ghi s : ự ổ
Hàng ngày nhân viên k toán ph trách t ng ph n thành căn c vàoế ụ ừ ầ ứ
các ch ng t g c đã ki m tra l p các ch ng t ghi s . Đ i v i nh ngứ ừ ố ể ậ ứ ừ ổ ố ớ ữ
nghi p v k toán phát sinh nhi u và th ng xuyên, ch ng t g c sau khiệ ụ ế ề ườ ứ ừ ố
ki m tra đ c ghi vào b ng t ng h p ch ng t g c, cu i tháng ho c đ nhể ượ ả ổ ợ ứ ừ ố ố ặ ị
kỳ căn c ứ
vào b ng t ng h p ch ng t g c l p các ch ng t ghi s . Ch ng t ghi sả ổ ợ ứ ừ ố ậ ứ ừ ổ ứ ừ ổ
sau khi l p xong đ c chuy n đ n K toán tr ng (ho c ng i đ c kậ ượ ể ế ế ưở ặ ườ ượ ế
toán tr ng y quy n) ký duy t r i chuy n cho b ph n k toán t ng h pưở ủ ề ệ ồ ể ộ ậ ế ổ ợ
v i đ y đ các ch ng t g c kèm theo đ b ph n ghi vào s đăng kýớ ầ ủ ứ ừ ố ể ộ ậ ổ
ch ng t ghi s và sau dó ghi và s Cái. Cu i tháng khóa s ta tìm t ng sứ ừ ổ ổ ố ổ ổ ố
ti n c a các nghi p v kinh t phát sinh trong tháng trên s đăng ký ch ngề ủ ệ ụ ế ổ ứ
t ghi s và t ng s phát sinh N . T ng s phát sinh Có c a t ng tài kho nừ ổ ổ ố ợ ổ ố ủ ừ ả
trên s Cái, ti p đó căn c vào s cái l p b ng cân đ i phát sinh c a các tàiổ ế ứ ổ ậ ả ố ủ
kho n t ng h p trên b ng cân đ i s phát sinh ph i kh p nhau và kh p v iả ổ ợ ả ố ố ả ớ ớ ớ
s ti n c a s đăng ký ch ng t ghi s , t ng s phát sinh ph i kh p nhauố ề ủ ổ ứ ừ ổ ổ ố ả ớ
và s d c a t ng tài kho n (d N , d Có) trên b ng cân đ i phái kh pố ư ủ ừ ả ư ợ ư ả ố ớ
v i s d c a tài kho n t ng ng trên b ng t ng h p chi ti t thu c ph nớ ố ư ủ ả ươ ứ ả ổ ợ ế ộ ầ
k toán chi ti t. Sau khi ki m tra đ i chi u kh p v i s li u nói trên, b ngế ế ể ố ế ớ ớ ố ệ ả
cân đ i s phát sinh đ c s d ng đ l p b ng cân đ i k toán và các báoố ố ượ ử ụ ể ậ ả ố ế
bi u k toán khác.ể ế
Đ i v i nh ng tài kho n có m các s ho c th k toán chi ti t thìố ớ ữ ả ở ố ặ ẻ ế ế
ch ng t g c sau khi s d ng đ l p ch ng t ghi s và ghi vào các s sáchứ ừ ố ử ụ ể ậ ứ ừ ổ ổ
k toán t ng h p đ c chuy n đ n các b ph n k toán chi ti t có liênế ổ ợ ượ ể ế ộ ậ ế ế
quan đ làm căn c ghi vào s ho c th k toán chi ti t theo yêu c u c aể ứ ổ ặ ẻ ế ế ầ ủ
t ng tài ừ
Trang 4

H và tên: NGÔ TH PH NGọ Ị ƯƠ TH O L p: KT3 –Ả ớ
K2007TP
kho n. Cu i tháng c ng các s hoăc th k toán chi ti t và căn c vào sả ố ộ ổ ẻ ế ế ứ ổ
ho c th k toán chi ti t l p các b ng t ng h p chi ti t theo t ng tài kho nặ ẻ ế ế ậ ả ổ ợ ế ừ ả
t ng h p đ đ i chi u v i s cái thông qua b ng cân đ i s phát sinh. Cácổ ợ ể ố ế ớ ổ ả ố ố
b ng t ng h p chi ti t, sau khi ki m tra đ i chi u s li u cùng v i b ngả ổ ợ ế ể ố ế ố ệ ớ ả
cân đ i s phát sinh đ c dùng làm căn c đ l p các báo bi u k toán.ố ố ượ ứ ể ậ ể ế
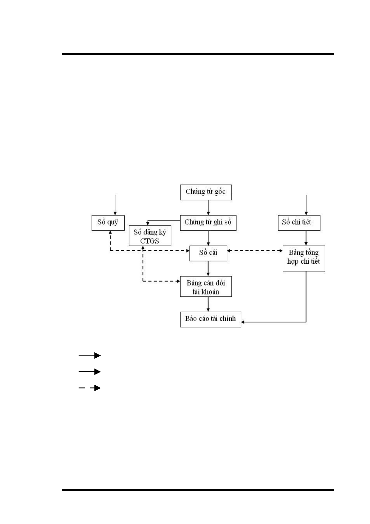
Trình t ghi chép theo hình th c ch ng t ghi s :ự ứ ứ ừ ổ
Ghi h ng ngày (đ nh kỳ)ằ ị
Ghi vào cu i thángố
Đ i chi u, ki m traố ế ể
4. K toán t ng h p thu TNDN.ế ổ ợ ế
a) Chi phí thu TNDN hi n hành:ế ệ
Ghi nh n chi phí thu thu nh p c a năm tài chính hi n hành mà DNậ ế ậ ủ ệ
ph i n p và đã n p theo lu t thu TNDN.ả ộ ộ ậ ế
Trang 5

