
X lý b i xi măngử ụ
B i xi măng phát sinh trong quá trình s n xu t ụ ả ấ ở
các nhà máy xi măng đc thu gom b ng ch p hút ượ ằ ụ
đt trên các thi t b và đc d n b ng đng ng ặ ế ị ượ ẫ ằ ườ ố
d n vào thi t b cyclone. Không khí l n b i đi vào ẫ ế ị ẫ ụ
thi t b cyclone theo ph ng ti p tuy n v i ng ế ị ươ ế ế ớ ố
tr c a cyclone và chuy n đng xoáy tròn đi xu ngụ ủ ể ộ ố
phía d i, khi g p ph u, dòng khí b đy ng c ướ ặ ể ị ẩ ượ
lên chuy n đng xoáy trong ng tr , các h t b i ể ộ ố ụ ạ ụ
d i tác d ng c a l c ly tâm s va vào thànhướ ụ ủ ự ẽ d n ẫ
đn m t quán tính và r i xu ng d i ph u thu b i ế ấ ơ ố ướ ễ ụ
c a cyclone.ủ
Dòng khí sau khi ra kh i thi t b cyclone s đc ỏ ế ị ẽ ượ
d n vào thi t b l c b i túi v i, đu tiên các h t ẫ ế ị ọ ụ ả ầ ạ
b i l n h n các khe gi a các s i v i s đc gi ụ ớ ơ ữ ợ ả ẽ ượ ữ
l i trên b m t, các h t nh h n bám dính trên b ạ ề ặ ạ ỏ ơ ề
m t s i v t li u l c do va ch m, d i tác d ng ặ ợ ậ ệ ọ ạ ướ ụ
c a l c h p d n và l c hút tĩnh đi n, d n d n l p ủ ự ấ ẫ ự ệ ầ ầ ớ
b i thu đc dày lên t o thành l p màng tr l c vàụ ượ ạ ớ ợ ọ
l p này có th gi đc h u h t các h t b i có ớ ể ữ ượ ầ ế ạ ụ
kích th c r t nh . Sau m t th i gian l p b i s ướ ấ ỏ ộ ờ ớ ụ ẽ
r t dày làm s c c n c a màng quá l n, ta ph i ấ ứ ả ủ ớ ả
ng ng và ti n hành lo i b l p b i bám trên m t ư ế ạ ỏ ớ ụ ặ
v i, ả dòng khí sau khi qua thi t b l c túi v i đc ế ị ọ ả ượ
d n qua ng khói và thoát ra ngoài.ẫ ố

Lò h i đt thanơ ố
Khí th i t lò h i đi ra có nhi t đ cao tr c đi vào tháp h p th s đc h nhi t đả ừ ơ ệ ộ ướ ấ ụ ẽ ượ ạ ệ ộ
xu ng qua quá trình h p th nhi t tháp làm l nh nhanh. Khí ra có nhi t đ cao s điố ấ ụ ệ ở ạ ệ ộ ẽ
qua tháp làm l nh đ gi m nhi t đ v a h p ph m t l ng b i, COx… có trong khíạ ể ả ệ ộ ừ ấ ụ ộ ượ ụ
th i. N c trong tháp làm l nh đc l u thông v i n c trong b làm mát qua đngả ướ ạ ượ ư ớ ướ ể ườ
ng d n đáy tháp. Khi n c trong tháp làm l nh nóng lên, n c nóng s l u thôngố ẫ ở ướ ạ ướ ẽ ư
qua b làm mát. T i tháp làm mát, khí s ch đc th i vào t d i đáy tháp, giúp làmể ạ ạ ượ ổ ừ ướ
gi m nhi t đ dòng n c nóng t tháp làm l nh ch y qua.ả ệ ộ ướ ừ ạ ả
N c gi m nhi t đ và s ch y l i qua b t n nhi t nh c ch đi l u. Khí sau khiướ ả ệ ộ ẽ ả ạ ể ả ệ ờ ơ ế ố ư
đc làm mát theo ng d n khí đi vào tháp h p ph . Tháp h p ph có các b ph nượ ố ẫ ấ ụ ấ ụ ộ ậ
chính g m thân thi t b , bên trong là l p v t li u l c, giàn phun m a, màng tách n c.ồ ế ị ớ ậ ệ ọ ư ướ
Khí sau khi đc làm mát s đi t d i đáy tháp lên, dung d ch h p ph s đc phunượ ẽ ừ ướ ị ấ ụ ẽ ượ
t trên xu ng, ch y tràn trên b m t h p ph . Khí đi t d i lên ti p xúc ch t h pừ ố ả ề ặ ấ ụ ừ ướ ế ấ ấ
ph và b ch t h p ph gi l i các thành ph n c n x lý có trong khí th i.ụ ị ấ ấ ụ ữ ạ ầ ầ ử ả
Khí s ch đi lên đnh tháp, mang theo m t ph n n c d ng s ng s đi qua màngạ ỉ ộ ầ ướ ở ạ ươ ẽ
tách n c. N c trong khí đc gi l i còn khí s ch thì bay lên đnh tháp và đa quaướ ướ ượ ữ ạ ạ ỉ ư
ng khói đ đc đa ra ngoài môi tr ng.ố ề ượ ư ườ
Dung d ch h p ph ch y t trên xu ng s đc đa l i vào b dung d ch h p ph vàị ấ ụ ả ừ ố ẽ ượ ư ạ ể ị ấ ụ
ti p t c đc s d ng. Ph n c n bùn l ng xu ng s đc thu l i và đem đi x lý.ế ụ ượ ử ụ ầ ặ ắ ố ẽ ượ ạ ử

Lò đt than b ng pp h p phố ằ ấ ụ
Trong tháp h p th dòng khí s đc phân b vào thi t b phía d i và dòng dung ấ ụ ẽ ượ ố ế ị ở ướ
d ch h p th s đc phân b theo chi u ng c l i. Dung d ch này đc b m ly tâm ị ấ ụ ẽ ượ ố ề ượ ạ ị ượ ơ
v n chuy n t b ch a dung d ch h p th , qua b phân ph i t o thành nh ng gi t ậ ể ừ ể ứ ị ấ ụ ộ ố ạ ữ ọ
l ng kích th c bé, phun đu vào thi t b .ỏ ướ ề ế ị
Tháp có c u t o hai t ng, trong m i t ng đu có ch a v t li u ti p xúc v i b m tấ ạ ầ ỗ ầ ề ứ ậ ệ ế ớ ề ặ
riêng l n và đ r ng cao. Quá trình x lý chia làm hai giai đo n. T i ph n d i c aớ ộ ỗ ử ạ ạ ầ ướ ủ
thi t b x lý, dòng khí và dung d ch h p th ti p xúc v i nhau t i màng n c trên bế ị ử ị ấ ụ ế ớ ạ ướ ề
m t v t li u.ặ ậ ệ
Tr c tiên các h t b i có kích th c bé s b th m t và b hút b i các h t ch t l ngướ ạ ụ ướ ẽ ị ấ ướ ị ở ạ ấ ỏ
và các thành ph n ô nhi m nh SOx, NOx, CO…s đc h p th m t ph n. M t quáầ ễ ư ẽ ượ ấ ụ ộ ầ ộ
trình khác di n ra t ng thi t b th nh t là trao đi nhi t. Dòng khí t nhi t đ caoễ ở ầ ế ị ứ ấ ổ ệ ừ ệ ộ
s ngu i d n, quá trình kh tri t đ các thành ph n ô nhi m s di n ra t ng trên c aẽ ộ ầ ử ệ ể ầ ễ ẽ ễ ở ầ ủ
tháp.

C ch lo i b các ch t ô nhi m t ng trên gi ng nh t ng đáy thi t b . Đó là quá ơ ế ạ ỏ ấ ễ ở ầ ố ư ầ ế ị
trình hòa tan và chuy n hóa hóa h c. Sau th i gian ti p xúc phù h p, các ch t ô nhi m ể ọ ờ ế ợ ấ ễ
nh SOx, NOx và m t ph n khí CO s đc lo i b . Dòng khí ti p t c đc d n qua ư ộ ầ ẽ ượ ạ ỏ ế ụ ượ ẫ
thi t b h p ph v i v t li u h p ph là than ho t tính. T i đây khí CO còn ch a trongế ị ấ ụ ớ ậ ệ ấ ụ ạ ạ ứ
dòng khí s đi qua l p v t li u h p ph , các phân t khí s ti p xúc và liên k t v i b ẽ ớ ậ ệ ấ ụ ử ẽ ế ế ớ ề
m t ch t r n. T đó các thành ph n ô nhi m còn l i s đc tách kh i dòng khí và ặ ấ ắ ừ ầ ễ ạ ẽ ượ ỏ
ng ng t trong các l x p siêu nh c a ch t h p th .ư ụ ỗ ố ỏ ủ ấ ấ ụ
Dòng khí sau khi ra kh i thi t b x lý s là khí s ch đt các tiêu chu n môi tr ng ỏ ế ị ử ẽ ạ ạ ẩ ườ
theo QCVN 19:2009/BTNMT. B i và các khí đc sau khi đc h p th và l ng xu ng ụ ộ ượ ấ ụ ắ ố
đáy thi t b d i d ng bùn c n s đc tháo ra đnh k v b ch a bùn c a H th ng ế ị ướ ạ ặ ẽ ượ ị ỳ ề ể ứ ủ ệ ố
x lý n c th i. Ph n n c trong bên trên đc tu n hoàn v l i thi t b ch a dung ử ướ ả ầ ướ ượ ầ ề ạ ế ị ứ
d ch h p th , sau m t th i gian ho t đng s đc x b v HT XLNT và đnh k b ị ấ ụ ộ ờ ạ ộ ẽ ượ ả ỏ ề ị ỳ ổ
sung, thay m i.ớ
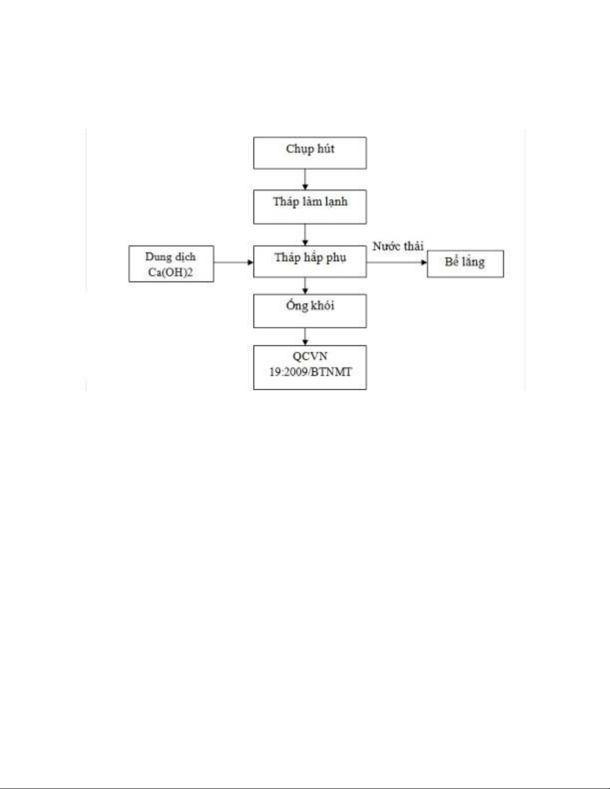
X lý HFử
Khí th i t lò đc thu gom b ng các Ch p hút, n u l u l ng quá l n thì ph i sả ừ ượ ằ ụ ế ư ượ ớ ả ử
d ng thêm qu t hút đi theo công ngh đng ng vào thi t b gi i nhi t.ụ ạ ệ ườ ố ế ị ả ệ
thi t b gi i nhi t, nh m gi m b t nhi t đ c a khí th i tr c khi đa vào thi t b xế ị ả ệ ằ ả ớ ệ ộ ủ ả ướ ư ế ị ử
lý. Khí th i ti p t c đi qua tháp h p ph đ h p ph hoàn toàn các thành ph n ôả ế ụ ấ ụ ể ấ ụ ầ
nhi m. Tháp h p ph c u t o bao g m các l p v t li u h p ph đc b trí m t cáchễ ấ ụ ấ ạ ồ ớ ậ ệ ấ ụ ượ ố ộ
h p lý, T i l p v t li u h p ph khí HF đc gi l i trong các mao qu n c a đá vôiợ ạ ớ ậ ệ ấ ụ ượ ữ ạ ả ủ
và không khí s ch đc d n ra ngoài môi tr ng b ng ng khói.ạ ượ ẫ ườ ằ ố

X lý khí nhà máy phát đi nử ệ

