
BÁO CÁO TI U LU N Đ M B O CH T L NG VÀ LU T TH C PH MỂ Ậ Ả Ả Ấ ƯỢ Ậ Ự Ẩ
M C L CỤ Ụ
M C L CỤ Ụ .......................................................................................................................................... 1
1.1 Thuy t minh quy trình công nghế ệ ............................................................................................ 3
1.1.1 Nguyên li u.ệ ................................................................................................................... 3
1.1.2 Thuy t minh quy trình.ế ...................................................................................................... 3
2.3 Ph m vi ki m soát c a SSOPạ ể ủ ................................................................................................. 7
2.4 Ph ng pháp xây d ng qui ph m v sinh SSOPươ ự ạ ệ ................................................................... 7
5.1 . YÊU C U Ầ ........................................................................................................................... 16
5.2 Đi u Ki n Hi n T i C a Công Ty :ề ệ ệ ạ ủ ....................................................................................... 17
5.3 Các Th T c C n Tuân Th :ủ ụ ầ ủ ................................................................................................ 17
5.4 . Giám Sát Và Phân Công Trách Nhi m :ệ ............................................................................. 19
5.5 . Hành Đ ng S a Ch a : ộ ử ữ ................................................................................................. 20
5.6 . TH M TRA :Ẩ ........................................................................................................................ 20
5.7 H S L U TR Ồ Ơ Ư Ữ ................................................................................................................ 20
6.3 Các Th T c C n Tuân Thủ ụ ầ ủ ................................................................................................. 22
6.4 Phân Công Th c Hi n Và Giám Sátự ệ .................................................................................... 23
7. S D NG B O QU N ĐÚNG CÁCH CÁC HÓA CH TỬ Ụ Ả Ả Ấ ............................................................ 24
7.1 Yêu c uầ ................................................................................................................................. 24
7.2 Th c tr ng công tyự ạ ................................................................................................................ 24
7.3 Các th t c c n th c hi nủ ụ ầ ự ệ ..................................................................................................... 24
7.4 Phân công th c hi n và giám sátự ệ .......................................................................................... 25
TÀI LI U THAM KH OỆ Ả ................................................................................................................... 26
Trang 1

BÁO CÁO TI U LU N Đ M B O CH T L NG VÀ LU T TH C PH MỂ Ậ Ả Ả Ấ ƯỢ Ậ Ự Ẩ
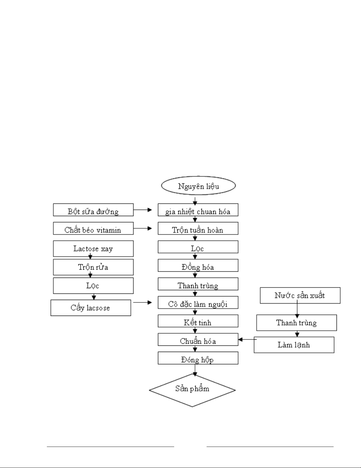
1. Quy trình công ngh s n xu t s aệ ả ấ ữ
Trang 2

BÁO CÁO TI U LU N Đ M B O CH T L NG VÀ LU T TH C PH MỂ Ậ Ả Ả Ấ ƯỢ Ậ Ự Ẩ
1.1 Thuy t minh quy trình công nghế ệ
1.1.1 Nguyên li u.ệ
−Nguyên li u chính: B t s a g y, S a t i.ệ ộ ữ ầ ữ ươ
−Nguyên li u ph : D u b , Đ ng, N c.ệ ụ ầ ơ ườ ướ
−Ph gia : Ch t n đ nh ụ ấ ổ ị
−Mu i phosphat và citrat c a Natri , Kali.ố ủ
1.1.2 Thuy t minh quy trìnhế.
−Gia nhi t chu n hóaệ ẩ
+ M c đích: Đi u ch nh thành ph n s a g y, d u b , đ ng… phù h p v iụ ề ỉ ầ ữ ầ ầ ơ ườ ợ ớ
t ng lo i s n p m s a cô đ cừ ạ ả ẩ ữ ặ
+Yêu c u k thu tầ ỹ ậ
+Thành ph n c a d ch s a sau chu n hóa ph i đ t: Ch t béo: 2.57, N c:ầ ủ ị ữ ẩ ả ạ ấ ướ
76.54,
+Ch t khô: 20.89, 1001 ml s a/17kg, 64% s a t i, 36%B t s a g y.ấ ữ ữ ươ ộ ữ ầ
−Tr n tu n hoànộ ầ
+M c đích: Tán, hòa tan đ ng đ u các thành ph n, nguyên li u.ụ ồ ề ầ ệ
+Yêu c u k thu t: Nhi t đ : 60ầ ỹ ậ ệ ộ 0C, Th i gian: 1 gi ÷ 1 gi 30 phútờ ờ ờ
Trang 3

BÁO CÁO TI U LU N Đ M B O CH T L NG VÀ LU T TH C PH MỂ Ậ Ả Ả Ấ ƯỢ Ậ Ự Ẩ
+Thi t b : H th ng b n tr n có cánh khu y.ế ị ệ ố ồ ộ ấ
-L cọ
+M c đích:Lo i b nh ng c n bã hay t p ch t có trong nguyên li u. ụ ạ ỏ ữ ặ ạ ấ ệ
+Yêu c u k thu t:Kích th c l l c < 300µm, C n đ c tách ra, Không có sầ ỷ ậ ướ ỗ ọ ặ ượ ự
bi n đ i nào c a s a.ế ổ ủ ữ
+Thi t b : L c d ng túi tháo r i.ế ị ọ ạ ờ
−Đ ng hóaổ
+M c đích:Đ ng hóa là quá trình x lý c h c, dùng l c tác d ng lên các h tụ ồ ử ơ ọ ự ụ ạ
béo.
+Yêu c u k thu t: Nhi t đ : 70ầ ỷ ậ ệ ộ 0C, Áp su t: 100 ÷ 110 bar . Kích th c h tấ ướ ạ
béo gi m, các h t ch t béo phân ph i đ ng đ u trong kh i s a làm cho tr ngả ạ ấ ố ồ ề ố ữ ạ
thái h nhũ t ng trong s a b n h n.ệ ươ ữ ề ơ
+Thi t b :Thi t b đ ng hóa hai c pế ị ế ị ồ ấ
−Thanh trùng
+M c đích: Tiêu di t vi sinh v t gây b nh cho ng i và tăng th i gian b oụ ệ ậ ệ ườ ờ ả
qu n.C i thi n tính n đ nh c a protein, t o c u trúc cho s n ph m.ả ả ệ ổ ị ủ ạ ấ ả ẩ
+Yêu c u k thu t: Nhi t đ : 150ầ ỷ ậ ệ ộ OC, Áp su t làm vi c: 9 Bar, Th i gian: 5ấ ệ ờ
phút nhi t đ thanh trùng.Ch t béo hoàn toàn b nóng ch y và xu t hi nở ệ ộ ấ ị ả ấ ệ
màng cream, S a s m màu, tuy nhiên do l ng n c trong s a khá l n nênữ ẫ ượ ướ ữ ớ
khó quan sát đu c.VSV b phá h y hoàn toàn, c ch ho t đ ng các bào tợ ị ủ ứ ế ạ ộ ử
Vô ho t hoàn toàn các enzyme trong s a.ạ ữ
+Thi t b : V trao đ i nhi t PHE (plate heat exchanger).ế ị ỉ ổ ệ
−Cô đ c, làm ngu iặ ộ
+M c đích: Tăng n ng đ ch t khô c a s a t n ng đ ch t khô c a d ch tr nụ ồ ộ ấ ủ ữ ừ ồ ộ ấ ủ ị ộ
ban đ u 23,46% lên giá tr yêu c u c a s n ph m s a đ c(72÷73%).ầ ị ầ ủ ả ẩ ữ ặ
Trang 4

BÁO CÁO TI U LU N Đ M B O CH T L NG VÀ LU T TH C PH MỂ Ậ Ả Ả Ấ ƯỢ Ậ Ự Ẩ
+Lo i b khí hòa tan trong d ch s a nh quá trình b c h i trong đi u ki n chânạ ỏ ị ữ ờ ố ơ ề ệ
không.
+Yêu c u k thu t: Nhi t đ : < 44ầ ỷ ậ ệ ộ 0C, Áp su t: chân không, S a có màu vàngấ ữ
kem
+Thi t b : Tháp cô đ c ho t đ ng áp su t chân khôn.ế ị ặ ạ ộ ở ấ
−K t tinh.ế
+M c đích: T o đi u ki n cho lactose trong s a k t tinh m t cách tri t đụ ạ ề ệ ữ ế ộ ệ ể
+Hoàn thi n s n ph m, giúp cho s a sau cô đ c có m t tr ng thái đ c m n.ệ ả ẩ ữ ặ ộ ạ ặ ị
Yêu c u k thu t: ầ ỷ ậ
•Nhi t đ : 30 ÷ 32ệ ộ oC
•Th i gian: nhanh, Có s chuy n pha c a đ ng t d ng hòa tan thành tinhờ ự ể ủ ườ ừ ạ
th .Tinh th lactose t o thành th t nh và không th phát hi n khi c mể ể ạ ậ ỏ ể ệ ả
quan.
+Thi t b : B n ch a vô trùng có áo cách nhi t và cánh khu y .ế ị ồ ứ ệ ấ
−Chu n hóaẩ
−M c đích: Ki m tra các tính ch t hóa lý c a s a đ c nh đ nh t, hàm l ngụ ể ấ ủ ữ ặ ư ộ ớ ượ
ch t khô ch t béo cao h n yêu c u thì ph i đ nh chu n l i b ng n c ấ ấ ơ ầ ả ị ẩ ạ ằ ướ
−Yêu c u k thu t: Hàm l ng các ch t sau cô đ c, Ch t béo: 8% , Đ ng: 45%,ầ ỷ ậ ượ ấ ặ ấ ườ
N c: 27%, Ch t khô: 20%.ướ ấ
−Đóng h pộ
+Quá trình rót và đóng h p ph i h n ch t i đa vi c đ s a ti p xúc tr c ti pộ ả ạ ế ố ệ ể ữ ế ự ế
v i không khí ch a đ c kh trùng. H p s a và n p s a ph i đ c ti t trùngớ ư ượ ử ộ ữ ắ ữ ả ượ ệ
tr c khi đóng h p ướ ộ
+Nhi t đ đ u rót:12,5 ÷ 19ệ ộ ầ 0c
Trang 5

