
143
Chæång 10: TÆÛ ÂÄÜNG HOÌA ÂÄÖNG BÄÜ
I. CAÏC PHÆÅNG PHAÏP HOÌA ÂÄÖNG BÄÜ:
Viãûc âoïng caïc maïy phaït âiãûn vaìo laìm viãûc trong maûng coï thãø taûo nãn doìng cán
bàòng låïn vaì dao âäüng keïo daìi. Tçnh traûng khäng mong muäún âoï xaíy ra laì do:
* Täúc âäü goïc quay cuía maïy phaït âæåüc âoïng vaìo khaïc våïi täúc âäü goïc quay âäöng bäü
cuía caïc maïy phaït âang laìm viãûc trong hãû thäúng âiãûn.
* Âiãûn aïp åí âáöu cæûc cuía maïy phaït âæåüc âoïng vaìo khaïc våïi âiãûn aïp trãn thanh goïp
cuía nhaì maïy âiãûn.
Âiãöu kiãûn âãø caïc maïy phaït âiãûn âäöng bäü coï thãø laìm viãûc song song våïi nhau trong
hãû thäúng âiãûn laì:
- räto cuía caïc maïy phaït phaíi quay våïi mäüt täúc âäü gáön nhæ nhau.
- âiãûn aïp åí âáöu cæûc caïc maïy phaït phaíi gáön bàòng nhau.
- goïc lãûch pha tæång âäúi giæîa caïc räto khäng âæåüc væåüt quaï giåïi haûn cho pheïp.
Vç váûy âãø âoïng maïy phaït âiãûn âäöng bäü vaìo laìm viãûc song song våïi caïc maïy phaït
khaïc cuía nhaì maïy âiãûn hay hãû thäúng, cáön phaíi så bäü laìm cho chuïng âäöng bäü våïi nhau.
HOÌA ÂÄÖNG BÄÜ laì quaï trçnh laìm cán bàòng täúc âäü goïc quay vaì âiãûn aïp cuía maïy phaït
âæåüc âoïng vaìo våïi täúc âäü goïc quay cuía caïc maïy phaït âang laìm viãûc vaì âiãûn aïp trãn thanh
goïp nhaì maïy âiãûn, cuîng nhæ choün thåìi âiãøm thêch håüp âæa xung âi âoïng maïy càõt cuía maïy
phaït. Coï 2 phæång phaïp hoìa âäöng bäü : hoìa âäöng bäü chênh xaïc vaì hoìa tæû âäöng bäü.
♦ Hoìa âäöng bäü chênh xaïc :
Khi âoïng maïy phaït bàòng phæång phaïp hoìa chênh xaïc cáön phaíi thæûc hiãûn nhæîng cäng
viãûc sau :
- San bàòng vãö trë säú cuía âiãûn aïp maïy phaït âæåüc âoïng vaìo UF vaì âiãûn aïp maûng UHT
(⏐UF⏐ ≈⏐UHT⏐)
- San bàòng täúc âäü goïc quay cuía maïy phaït âæåüc âoïng vaìo ωF vaì täúc âäü goïc quay cuía
caïc maïy phaït trong hãû thäúng ωHT (ωF ≈ ωHT).
- Laìm cho goïc pha cuía caïc veïctå âiãûn aïp maïy phaït vaì âiãûn aïp maûng truìng nhau vaìo
luïc âoïng maïy càõt (Goïc lãûch pha giæîa caïc veïctå âiãûn aïp maïy phaït vaì âiãûn aïp maûng δ ≈ 0)
Nhæ váûy trçnh tæû thæûc hiãûn hoìa âäöng bäü chênh xaïc nhæ sau: Træåïc khi âoïng mäüt maïy
phaït vaìo laìm viãûc song song våïi caïc maïy phaït khaïc thç maïy phaït âoï phaíi âæåüc kêch tæì
træåïc, khi täúc âäü quay vaì âiãûn aïp cuía maïy phaït âoï xáúp xè våïi täúc âäü quay vaì âiãûn aïp cuía
caïc maïy phaït khaïc cáön choün thåìi âiãøm thuáûn låüi âãø âoïng maïy phaït sao cho luïc âoï âäü lãûch
âiãûn aïp giæîa caïc maïy phaït gáön bàòng khäng, nhåì váûy doìng cán bàòng luïc âoïng maïy seî nhoí
nháút. ♦ Hoìa tæû âäöng bäü:
Khi âoïng maïy phaït bàòng phæång phaïp tæû âäöng bäü phaíi tuán theo nhæîng âiãöu kiãûn
sau : - Maïy phaït khäng âæåüc kêch tæì (kêch tæì cuía maïy phaït âaî âæåüc càõt ra båíi aptomat
diãût tæì ).

144
- Täúc âäü goïc quay cuía maïy phaït âoïng vaìo phaíi gáön bàòng täúc âäü goïc quay cuía caïc
maïy phaït âang laìm viãûc trong hãû thäúng.
Trçnh tæû thæûc hiãûn: Træåïc khi âoïng mäüt maïy phaït vaìo laìm viãûc song song våïi caïc
maïy phaït khaïc thç maïy phaït âoï chæa âæåüc kêch tæì, khi täúc âäü quay cuía maïy phaït âoï xáúp xè
våïi täúc âäü quay cuía caïc maïy phaït khaïc thç maïy phaït âoï âæåüc âoïng vaìo, ngay sau âoï doìng
kêch tæì seî âæåüc âæa vaìo räto vaì maïy phaït seî âæåc keïo vaìo laìm viãûc âäöng bäü.
II. PHÆÅNG PHAÏP HOÌA ÂÄÖNG BÄÜ CHÊNH XAÏC:
II.1. Âiãûn aïp phaïch vaì doìng cán bàòng:
II.1.1. Âiãûn aïp phaïch:
Giaí thiãút âiãûn aïp åí âáöu cæûc cuía maïy phaït vaì åí thanh goïp cuía hãû thäúng laì:
uF = U sin ωFt vaì uHT = U sin ωHTt
Âiãûn aïp phaïch US = ∆U laì hiãûu hçnh hoüc cuía âiãûn aïp maïy phaït cáön hoìa vaì âiãûn aïp
hãû thäúng, âiãûn aïp phaïch xuáút hiãûn khi täúc âäü goïc quay cuía caïc vectå âiãûn aïp naìy khaïc
nhau (hçnh 10.1a).
uuu U t tU t
SFHT FHT FHT S tb
=− = t
−
+
=222
22
sin .cos sin .cos .
ω
ω
ω
ω
ω
ω
trong âoï :
ωS = ωF - ωHT : täúc âäü goïc træåüt << ωâb
ωtb = (ωF + ωHT)/ 2 : täúc âäü goïc trung bçnh ≈ ωâb
Âàût δ = ωS.t : goïc lãûch pha giæîa caïc veïctå âiãûn aïp.
Khi cosωtb.t = 1 thç:
uS = US = 222
Ut
HT
sin 2
t
δ
ω
ω
ω
=2Usin =2Usin
FS
−
⋅ (10.1)
Âæåìng cong US = 2Usin(δ/2) laì âæåìng bao caïc giaï trë biãn âäü cuía âiãûn aïp phaïch,
biãún thiãn theo táön säú phaïch fS :
ff
T
SSFHT
FHT S
== f
−
=− =
ω
ω
ω
22
1
ΠΠ
trong âoï: TS laì chu kyì træåüt, tæïc laì thåìi gian cuía mäüt chu kyì thay âäøi biãn âäü âiãûn aïp
phaïch.

145
Hçnh 10.1: Âiãûn aïp phaïch
a) âäö thë vectå b) sæû thay âäøi trë säú tæïc thåìi cuía âiãûn aïp phaïch
c) sæû thay âäøi biãn âäü cuía âiãûn aïp phaïch
Theo doîi sæû biãún thiãn cuía âiãûn aïp phaïch (hçnh 10.1), ta nháûn tháúy:
* TS caìng låïn thç täúc âäü tæång âäúi giæîa hai maïy phaït caìng nhoí. Trãn hçnh 10.1c laì 2
chu kyì thay âäøi biãn âäü âiãûn aïp phaïch æïng våïi 2 giaï trë täúc âäü goïc træåüt ωS1 vaì ωS2 , trong
âoï ωS1 > ωS2 .
* Luïc US = 0 laì thåìi âiãøm hai vectå âiãûn aïp uF vaì uHT cháûp nhau ráút thuáûn låüi âãø
âoïng maïy.
II.1.2. Doìng cán bàòng:
Doìng cán bàòng laì doìng chaûy voìng qua caïc maïy phaït laìm viãûc song song våïi nhau
khi vectå aïp cuía chuïng khäng bàòng nhau.
Nãúu hoìa âäöng bäü hai maïy phaït vaì khi sæïc âiãûn âäüng cuía chuïng bàòng nhau (E1 = E2
= E”o) thç theo så âäö thay thãú hçnh 10.2, doìng cán bàòng seî âæåüc xaïc âënh båíi biãøu thæïc:
iE
xxx
cb d
dd
""
""
.,. sin=++
2182
2
1212
δ
Hçnh 10.2: Så âäö maûng vaì så âäö thay thãú tênh toaïn
doìng cán bàòng khi hoìa âäöng bäü
Khi δ = 180o thç: iE
xxx
cb o
dd
""
""
.,.
=++
2182
1212
Nãúu hoìa maïy phaït vaìo hãû thäúng coï cäng suáút vä cuìng låïn (tæïc x”d1 + x12 ≈ 0) thç:
iE
xi
cb o
d
N
""
"
()
,. .
==
18 22 23 (10.2)
trong caïc biãøu thæïc trãn:
1,8 : hãû säú kãø âãún thaình pháön khäng chu kyì trong doìng siãu quaï âäü.
x”d1, x”d2 : âiãûn khaïng siãu quaï âäü cuía caïc maïy phaït.
x12 : âiãûn khaïng âæåìng dáy liãn laûc giæîa hai maïy phaït.
iN(3) : doìng ngàõn maûch 3 pha taûi âáöu cæûc maïy phaït.

146
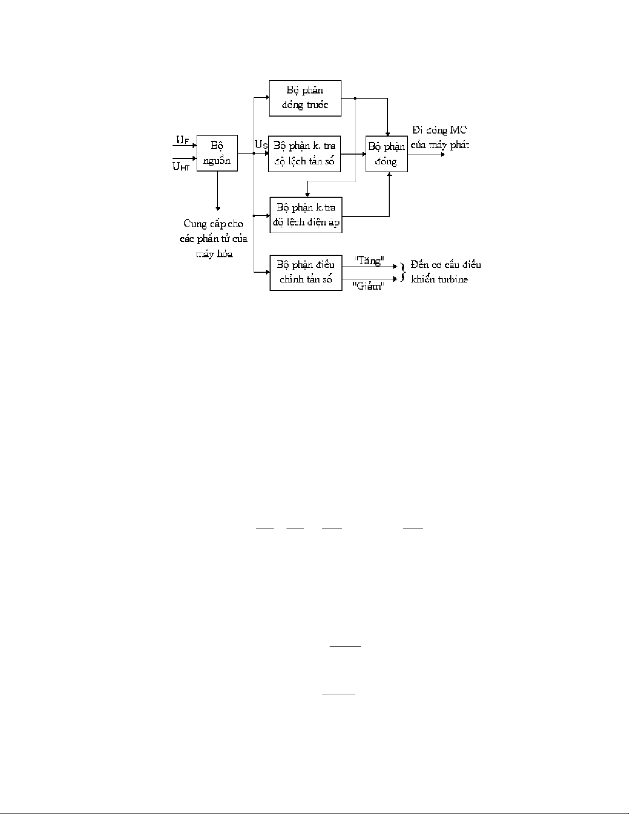
II.2. Thiãút bë tæû âäüng hoìa âäöng bäü chênh xaïc:
II.2.1. Nguyãn tàõc chung:
Caïc thiãút bë hoìa âäöng bäü tæû âäüng bao gäöm caïc bäü pháûn thæûc hiãûn viãûc tæû âäüng âiãöu
chènh táön säú vaì âiãûn aïp cuía maïy phaït âoïng vaìo so våïi táön säú vaì âiãûn aïp cuía hãû thäúng vaì
bäü pháûn kiãøm tra viãûc thæûc hiãûn táút caí caïc âiãöu kiãûn hoìa âäöng bäü.
Âãø âoïng maïy phaït âuïng vaìo thåìi âiãøm thuáûn låüi (âiãøm 1 trãn hçnh 10.1c) cáön phaíi
âæa xung âãún maïy càõt træåïc thåìi âiãøm naìy, båíi vç maïy càõt coï thåìi gian âoïng riãng. Thåìi
gian âoïng træåïc tât phaíi bàòng thåìi gian âoïng cuía maïy càõt tÂMC. Thåìi âiãøm âæa xung âãún
maïy càõt tæång æïng våïi âiãøm 2 trãn hçnh 10.1c, luïc naìy âiãûn aïp phaïch khaïc 0, trë säú cuía noï
âæåüc xaïc âënh bàòng vë trê cuía âiãøm 2’. Goïc giæîa caïc vectå âiãûn aïp maïy phaït vaì hãû thäúng
tæång æïng våïi tât goüi laì goïc âoïng træåïc δ ât.
δât = ωs. tât (10.3)
Tuìy thuäüc vaìo viãûc thæûc hiãûn bäü pháûn âoïng træåïc, ngæåìi ta chia ra 2 loaûi thiãút bë hoìa
âäöng bäü :
* Thiãút bë hoìa âäöng bäü coï goïc âoïng træåïc khäng âäøi (δât = const.), âæa xung âi âoïng
khi goïc δ âaût âæåüc mäüt giaï trë xaïc âënh khäng âäøi.
* Thiãút bë hoìa âäöng bäü coï thåìi gian âoïng træåïc khäng âäøi (tât = const.), âæa xung âi
âoïng våïi thåìi gian âoïng træåïc khäng âäøi, bàòng thåìi gian âoïng tÂMC cuía maïy càõt.
Thiãút bë hoìa âäöng bäü chênh xaïc coï thåìi gian âoïng træåïc khäng âäøi âæåüc aïp duûng
räüng raîi hån.
II.2.2. Thiãút bë hoìa âäöng bäü coï thåìi gian âoïng træåïc khäng âäøi:
Ta xeït mäüt loaûi thiãút bë hoìa âäöng bäü theo phæång phaïp hoìa chênh xaïc coï thåìi gian
âoïng træåïc tât = const., thiãút bë gäöm coï 6 bäü pháûn chênh (hçnh 10.3).
- Bäü pháûn nguäön: âaím baío cung cáúp cho caïc pháön tæí trong thiãút bë hoìa, âäöng thåìi
taûo nãn âiãûn aïp phaïch US.
- Bäü pháûn âoïng træåïc: âæa xung âi âoïng maïy càõt cuía maïy phaït træåïc thåìi âiãøm caïc
vectå UF vaì UHT cháûp nhau mäüt khoaíng thåìi gian tât = const.
- Bäü pháûn kiãøm tra âäü lãûch táön säú cuía maïy phaït vaì hãû thäúng: âaím baío cho tên hiãûu
cuía bäü pháûn âoïng træåïc thäng qua âi âoïng maïy càõt khi âäü lãûch táön säú khäng væåüt quaï giaï
trë cho pheïp.
- Bäü pháûn kiãøm tra âäü lãûch âiãûn aïp cuía maïy phaït vaì hãû thäúng: cho pheïp tên hiãûu âi
âoïng maïy càõt thäng qua khi âiãûn aïp cuía maïy phaït vaì hãû thäúng khäng lãûch quaï giaï trë cho
pheïp.
- Bäü pháûn âiãöu chènh táön säú: thæûc hiãûn viãûc âiãöu chènh táön säú cuía maïy phaït cáön hoìa
so våïi táön säú cuía caïc maïy phaït âang laìm viãûc bàòng caïch taïc âäüng âãún cå cáúu âiãöu khiãøn
turbine.
- Bäü pháûn âoïng: taûo nãn mäüt âäü daìi nháút âënh cuía xung âi âoïng MC.

147
Hçnh 10.3: Så âäö cáúu truïc cuía maïy hoìa âäöng bäü coï tât = const.
Dæåïi âáy ta seî khaío saït chi tiãút mäüt säú bäü pháûn cuía thiãút bë:
a) Bäü pháûn âoïng træåïc:
Bäü pháûn âoïng træåïc (hçnh 10.4a) bao gäöm maïy biãún aïp trung gian B4, pháön tæí
chènh læu, bäü loüc L, pháön tæí vi phán VP, cå cáúu khäng P1 vaì caïc råle trung gian 1RG ÷
3RG laìm nhiãûm vuû thay âäøi trë säú âàût vãö thåìi gian âoïng træåïc.
Pháön tæí chênh cuía bäü pháûn âoïng træåïc laì cå cáúu khäng P1, tên hiãûu åí âáöu ra cuía noï
xuáút hiãûn khi doìng âiãûn åí 2 âáöu vaìo âaût âæåüc giaï trë bàòng nhau (taûi âiãøm a1 vaì a2 trãn hinh
10.4c). Tên hiãûu åí âáöu ra cuía bäü pháûn âoïng træåïc laì âiãûn aïp Uât daûng xung chæî nháût täön taûi
âãún cuäúi chu kyì træåüt.
Doìng i1 åí âáöu vaìo thæï nháút cuía cå cáúu khäng P1 âæåüc xaïc âënh bàòng giaï trë âiãûn aïp
phaïch US vaì âiãûn tråí R1 ÷ R3:
iU
R
t
U
t
SS
1222
==2U S
R
=K
1
sin sin
ω
ω
(10.4)
trong âoï: R bàòng R1, R2 hoàûc R3.
K1 laì hãû säú tyí lãû.
Doìng i2 åí âáöu vaìo thæï hai cuía cå cáúu khäng P1 âæåüc xaïc âënh bàòng âiãûn aïp åí âáöu ra
VP (hçnh 10.4b). Pháön tæí vi phán taûo nãn âiãûn aïp tyí lãû våïi âaûo haìm âiãûn aïp phaïch. Âáöu
vaìo cuía VP nháûn âæåüc âiãûn aïp phaïch US.
Âiãûn aïp åí âáöu ra VP bàòng:
U
ra = RC dU
d
t
vaìo (10.5)
Pháön tæí vi phán VP âæåüc näúi nhæ thãú naìo âãø doìng i2 taûo nãn båíi âiãûn aïp Ura coï daûng:
i2 = - K2
dU
dt
vaìo (10.6)
trong âoï: Uvaìo laì âiãûn aïp âáöu vaìo cuía pháön tæí vi phán (Uvaìo = US)

