
1
Chương 5
Thiếtkếhệvi xửlý

2
Nội dung
•Giảimãđịachỉ
•Giaotiếpbộnhớ
•Giaotiếpvới khóa (switch) va bàn phím
•Giaotiếpbô hiểnthi (Display)
–GiaotiếpvớiLED
–GiaotiếpvớiLCD
•Giaotiếp A/D-D/A

3
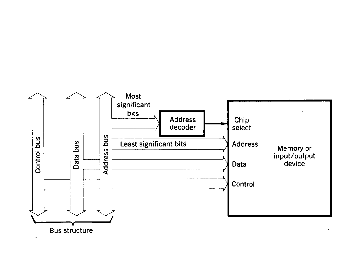
5.1 Giảimãđịachỉ
• Khi vi xửlý gửimộtđịachỉra bus địachỉ, thì thông tin này phảiđược chuyển
thành lệnh cụthểcho thiếtbịcụthể. Giảimãđịachỉthựchiệntácvụnày. Nó sử
dụng thông tin bus địachỉđểxác định thiếtbịnào sẽđượctruycập.

4
Phương pháp giảimãđịachỉ
Có 2 phương pháp giảimãđịachỉ:
1. Giảimãtoànphần (Full address decoding): Mỗi
ngoạivi được gán cho mộtđịachỉduy nhất. Tấtcả
các bit địachỉđượcdùngđể định nghĩavịtrí được
tham chiếu.
2. Giảimãmộtphần (Partial address decoding): Không
phảitấtcảcác bit được dùng cho việcgiảimãđịachỉ.
Các ngoại vi có thểđáp ứngchotrênmộtđịachỉ.
Phương pháp làm giảmđộ phứctạptrongmạch giải
mã địachỉ. Thông thường các hệthống nhỏsửdụng
giảimãmộtphần.

5
Thí dụ: TK mạch giải mã địa chỉ
•Vớibảng bộnhớsau, hãy thiếtkếmạch giảimãtoànphầnvà
mạch giảimãmộtphần cho các chip bộnhớ(RAM 4KB và
ROM 16KB) và I/O

