
Trang 1
Chương 17: Laäp trình duøng STL
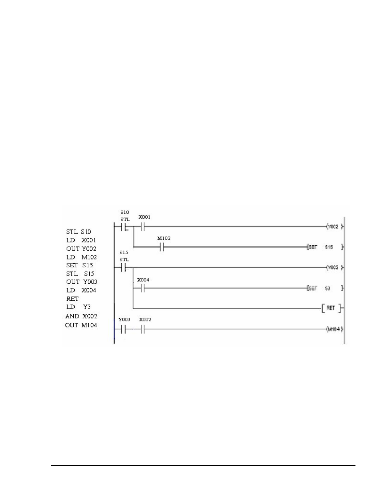
Hình 2.33 cho thaáysöï öùng duïng côø STL ñieàu khieån trình töï hai böôùc.
Sau coâng taéc STL, coâng taéc thöôøng ñoùng vaø thöôøng môû ñöôïc söû duïng ñeå
bieåu dieãn logic trong böôùc hieän haønh. Töông töï aùp duïng cho caùc traïng thaùi
tieáp theo. Keát thuùc ñoaïn chöông trình STL baèng leänh RET.
a) OR nhaùnh STL (choïn nhaùnh song song )
Hình 2.34 sô ñoà chöùc naêng vaø chöông trình ladder ñeå choïn giöõa hai
nhaùnh a vaø b, tuøy thuoäc ñieàu kieän vaøo nhaùnh, X1 hay X4. Caû hai nhaùnh
ñieàu coù chung traïng thaùi ra laø S16.
Hình 2.33. Chương trình STL

Trang 2

Trang 3
Hình 2.34:Choïn nhaùnh hoa
ït ñoäng trong chöông trình STL

Trang 4
Phaân nhaùnh
Laäp trình choïn nhaùnh baèng caùch OR caùc ñieàu kieän sau traïng
thaùi S11. Vì theá, neáu X1 laø ON sau S11, traïng thaùi S12 kích hoaït
vaø nhaùnh A ñöôïc choïn. Töông töï, neáu X4 leân ON, traïng thaùi S14
ñöôïc kích hoaït vaø nhaùnh B ñöôïc choïn. Traïng thaùi tröôùc ñoù S11
töï ñoäng voâ hieäu khi S12 hay S14 ñöôïc kích hoaït.
Hôïp nhaùnh
Traïng thaùi chung S16 ñöôïc kích hoaït töø traïng thaùi S13 thuoäc
nhaùnh A hay S15 thuoäc nhaùnh B. Traïng thaùi tröôùc ñoù, S13 hay
S15 bò voâ hieäu töï ñoäng töø S16 bôûi cô cheá ñieàu khieån STL. Vieäc
hôïp nhaùnh ñöôïc thöïc hieän baèng caùch laäp chöông trình caùc ñieàu
kieän X3 vaø X6. Thöïc hieän töông töï nhö theâm caùc nhaùnh khaùc.
b) AND nhaùnh STL (phaân nhaùnh song song )
Hình 2.35 minh hoïa caáu truùc ña nhaùnh A vaø B, vieäc thöïc
hieän vaøo nhaùnh vaø ra nhaùnh ñöôïc thöïc hieän ñoàng thôøi nhö laø
thöïc hieän nhaùnh ñôn. Khi ñang ôû traïng thaùi S11, ñieàu kieän X1
thoûa, seõ kích ñoàng thôøi caû hai traïng thaùi S12 vaø S14, voâ hieäu
S11; hai nhaùnh A vaø B ñöôïc thöïc hieän ñoàng thôøi.

Trang 5

