
Đi u khi n lô gíc mề ể ờ
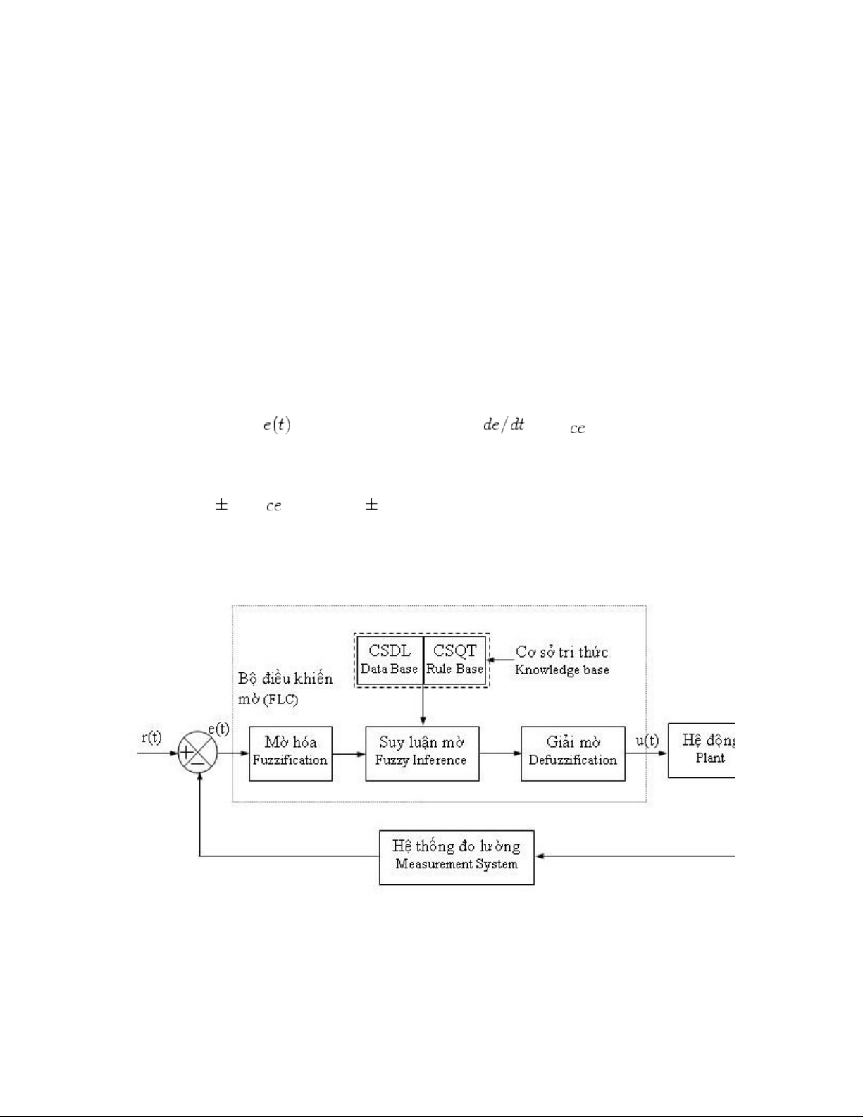
C u trúc c b n c a m t H th ng Đi u khi n Lô gíc M (FLC, Fuzzy Logic Control)ấ ơ ả ủ ộ ệ ố ề ể ờ
đ c bi u di n trong Hình 10.7.ượ ể ễ
--Quá trình m hóa (The fuzzification process)--ờ
M hóa là quá trình t o nh đ u vào c a FLC thành nh ng giá tr thành viên t p mờ ạ ả ầ ủ ữ ị ậ ờ
trong nh ng không gian n n đ u vào khác nhau. Quy t đ nh c n đ c th c hi n liênữ ề ầ ế ị ầ ượ ự ệ
quan:
(a) s l ng tín hi u vàoố ượ ệ
(b) kích th c c a không gian n nướ ủ ề
(c) s l ng và hình dáng c a t p m .ố ượ ủ ậ ờ
M t b đi u khi n m (FLC) tranh đua v i m t b đi u khi n PID s đ c yêu c uộ ộ ề ể ờ ớ ộ ộ ề ể ẽ ượ ầ
t i thi u hóa sai s ố ể ố và t c đ bi n thiên sai s ố ộ ế ố ho c ặ.
Kích th c c a không gian n n s ph thu c vào kho ng mong mu n (th ng là t iướ ủ ề ẽ ụ ộ ả ố ườ ớ
m t m c đ bão hòa) c a bi n đ u vào. Gi thi t cho h th ng chúng ta xem xét t i làộ ứ ộ ủ ế ầ ả ế ệ ố ớ
e có kho ng ả6 và có kho ng ả1.
S l ng và hình dáng c a t p m trong m t không gian n n riêng bi t là ố ượ ủ ậ ờ ộ ề ệ th a hi pỏ ệ
(trade-off) gi a đ chính xác c a hành đ ng đi u khi n và s ph c t p tính toán trongữ ộ ủ ộ ề ể ự ứ ạ
th i gian th c. Trong ví d này, t p h p 7 tam giác s đ c s d ng.ờ ự ụ ậ ợ ẽ ượ ử ụ
Hình 1: (Hình 10.7) H th ng đi u khi n lô gíc m (CSDL = c s d li u, CSQT =ệ ố ề ể ờ ơ ở ữ ệ
c s quy t c)ơ ở ắ
M i t p h p s đ c cho m t m c đ ngôn ng đ nh n d ng, ví d PB (d ng l n,ỗ ậ ợ ẽ ượ ộ ứ ộ ữ ể ậ ạ ụ ươ ớ

positive big), PM (d ng trung bình, positive medium), PS (d ng nh , positive small),ươ ươ ỏ
Không (Z, about zero), NS (âm nh , negative small), NM (âm trung bình, negativeỏ
medium) và NB (âm l n, negative big). B y c a s đ u vào t p m cho ớ ẩ ử ổ ầ ậ ờ và đ cượ
cho trong Hình 10.8. N u t i m i kho ng riêng bi t, ế ạ ỗ ả ệ và thì, từ
Hình 10.8, các giá tr thành viên t p m đ u vào là:ị ậ ờ ầ
(1)
--C s quy t c m --ơ ở ắ ờ
C s quy t c m bao g m m t t p h p các quy t c ngôn ng tr c sau (antecedent-ơ ở ắ ờ ồ ộ ậ ợ ắ ữ ướ
sequent) có d ng:ạ
(2)
--N u-- e là d ng nh (PS) --Và-- ce là âm nh (NS) --Thì-- u là d ng nhế ươ ỏ ỏ ươ ỏ
(PS)
L i phát bi u đi u ki n m th ng đ ng g i là ‘quy t c ki u Mamdani’, sau khiố ể ề ệ ờ ườ ộ ọ ắ ể
Mamdani (1976) l n đ u tiên s d ng trong c s quy t c m đ đi u khi n h th ngầ ầ ử ụ ơ ở ắ ờ ể ề ể ệ ố
h i.ơ
CSQT đ c xây d ng s d ng tri th c tiên nghi m (priori knowledge) t m t ho cượ ự ử ụ ứ ệ ừ ộ ặ
nhi u ngu n sau:ề ồ
(a) Nh ng quy lu t v t lý chi ph i đ ng h c h th ngữ ậ ậ ố ộ ọ ệ ố
(b) D li u t nh ng b đi u khi n đang t n t iữ ệ ừ ữ ộ ề ể ồ ạ
(c) Tri th c h ng d n m h (imprecise heuristic knowledge) thu đ c t nh ngứ ướ ẫ ơ ồ ượ ừ ữ
chuyên gia có kinh nghi m.ệ
N u (c) trên đ c s d ng, thì s hi u bi t mô hình toán h c h th ng là không c n.ế ở ượ ử ụ ự ể ế ọ ệ ố ầ
Hai c a s đ u vào m b y t p h p đ c cho trong Hình 10.8 cho m t t p h p ử ổ ầ ờ ẩ ậ ợ ượ ộ ậ ợ
có th các quy t c c a d ng đã cho trong ph ng trình (ể ắ ủ ạ ươ 2). L p thành m t b ng c sậ ộ ả ơ ở
duy t c hai chi u nh trong Hình 10.9 là thu n ti n.ắ ề ư ậ ệ
--Suy lu n m --ậ ờ
Hình 10.9 gi thi t r ng c a s đ u ra ch a đ ng b y t p m có nh ng m c ngôn ngả ế ằ ử ổ ầ ứ ự ẩ ậ ờ ữ ứ ữ
khác nhau làm các t p m đ u vào. N u không gian n n cho tín hi u đi u khi n u(t) làậ ờ ầ ế ề ệ ề ể
9, thì c a s đ u ra nh đ c cho trong Hình 10.10.ử ổ ầ ư ượ

Gi thi t r ng m t quy t c ch c ch n trong c s quy t c đ c cho b ng ph ng trìnhả ế ằ ộ ắ ắ ắ ơ ở ắ ượ ằ ươ
(3):
(3)
Ho c N u e là A Và ce là B Thì u = Cặ ế
T ph ng trình (ừ ươ equ:ADVCON10005) hàm Boolean Ho c (OR) tr thành phép toánặ ở
c c đ i m , và t ph ng trình (ự ạ ờ ừ ươ equ:ADVCON10006) hàm Boolean Và (AND) trở
thành phép toán c c ti u m . Vì v y ph ng trình (ự ể ờ ậ ươ 3) có th đ c vi t thành:ể ượ ế
(4)
Ph ng trình (ươ 4) đ c g i là quá trình suy lu n c c đ i-c c ti u ho c suy lu n m c cượ ọ ậ ự ạ ự ể ặ ậ ờ ự
đ i c c ti u.ạ ự ể
Trong Hình 10.8 và ph ng trình (ươ 1) các t p m đ c ‘hit’ (đánh) trong c a s đ u vàoậ ờ ượ ử ổ ầ
sai s khi ốlà PS và PM. Trong c a s t c đ bi n thiên sai s khi ử ổ ố ộ ế ố
thì các t p m đ c ‘hit’ (đánh) là NS và Z. T Hình 10.9, nh ng quy t c phù h pậ ờ ượ ừ ữ ắ ợ
t ng ng v i nh ng cú đánh ‘hits’ là:ươ ứ ớ ữ
Ho c N u e là PS Và ce là NSặ ế
Ho c N u e là PS Và ce là Zặ ế
Thì u = PS
(5)
Ho c N u e là PM Và ce là NSặ ế
Ho c N u e là PM Và ce là Zặ ế
Thì u = PM
(6)

Hình 3: (Hình 10.9) C u trúc b ng c a m t c s quy t c m b ng ngônấ ả ủ ộ ơ ở ắ ờ ằ
ngữ
Hình 4: (Hình 10.10) C a s đ u vào m b y t p h p cho tín hi u đi uử ổ ầ ờ ẩ ậ ợ ệ ề
khi n u(t)ể
Áp d ng quá trình suy lu n c c đ i c c ti u vào ph ng trình (ụ ậ ự ạ ự ể ươ 5):
(7)
nh p các giá tr t ph ng trình (ậ ị ừ ươ 1):
(8)


