
Trang 1/4 - Mã đề 204
SỞ GIÁO DỤC VÀ ĐÀO TẠO BẮC NINH
TRƯỜNG THPT TIÊN DU SỐ 1
ĐỀ KHẢO SÁT CHẤT LƯỢNG LỚP 12 LẦN 1
NĂM HỌC 2022 – 2023
Môn: vật lý
Ngày thi: 30/10/2022
Thời gian làm bài: 50 phút (Không kể thời gian phát đề)
(Đề có 40 câu trắc nghiệm)
Họ và tên thí sinh:.............................................................................. SBD:.....................
Mã đề thi
204
Câu 1. Trong sự truyền song cơ, sóng ngang truyền được trong các môi trường
A. rắn, lỏng và chân không. B. rắn, lỏng và khí.
C. rắn, khí và chân không. D. chất rắn và bề mặt chất lỏng.
Câu 2. Đặt điện tích điểm
q
vào trong điện trường đều có cường độ
E
, lực điện
F
tác dụng lên điện tích
q
được tính theo công thức
A.
2
F qE
. B.
2
2
qE
F
. C.
F qE
. D.
2
qE
F
.
Câu 3. Độ lệch pha của hai dao động điều hòa cùng phương, cùng tần số và ngược pha là
A.
1(
2
k
với
k 0, 1, 2, )
B.
(2 1) (
2
k
với
0, 1, 2, )k
C.
2k
(với
k 0, 1, 2,
) D.
(2 1) (k
với
k 0, 1, 2, )
Câu 4. Trong thí nghiệm giao thoa sóng ở mặt nước, hai nguồn kết hợp dao động cùng pha theo phương thẳng
đứng, cực tiểu giao thoa nằm tại những điểm có hiệu đường đi của hai sóng tới đó bằng
A. một số nguyên lần nửa bước sóng. B. một số lẻ lần nửa bước sóng.
C. một số nguyên lần bước sóng. D. một số lẻ lần một phần tư bước sóng.
Câu 5. Một sóng cơ hình sin có tần số f lan truyền trong một môi trường với tốc độ v. Bước sóng của sóng này
là
A.
vf.
B.
v.2 f.
C.
v.
f
D.
v.
2f
Câu 6. Trong dao động cưỡng bức, khi xảy ra hiện tượng cộng hưởng thì đại lượng nào sau đây tăng đến giá
trị cực đại?
A. Biên độ dao động. B. Tần số.
C. Pha ban đầu. D. Pha dao động.
Câu 7. Một vật dao động điều hòa với tần số góc
. Tần sô dao động của vật được tính bằng công thức
A.
2
. B.
2
. C.
1
2
. D.
2
.
Câu 8. Một con lắc đơn dài , dao động điều hòa tại nơi có gia tốc trọng trường g. Đại lượng được tính theo
công thức
2g
được gọi là
A. tần số của dao động. B. chu kì của dao động.
C. lực kéo về tác dụng vào con lắc. D. tần số góc của dao động.
Câu 9. Trong đồng hồ quả lắc (dùng dây cót) dây cót cung cấp năng lượng cho con lắc thông qua một cơ cấu
trung gian. Dao động của quả lắc là dao động
A. tát dần. B. cưỡng bức. C. điều hòa. D. duy trì.
Câu 10. Một vật dao động điều hòa thì vận tốc của dao động
A. biến thiên điều hòa theo thời gian. B. không đổi theo thời gian.
C. là hàm bậc hai của thời gian. D. là hàm bậc nhất của thời gian.
Câu 11. Một vật dao động điều hoà trên trục Ox quanh vị trí cân bằng O. Vectơ vận tốc của vật

Trang 2/4 - Mã đề 204
A. luôn hướng theo chiều chuyển động của vật. B. luôn hướng ra xa cân bằng.
C. luôn hướng ngược chiều chuyển động của vật D. luôn hướng về cân bằng.
Câu 12. Một khung dây dẫn phẳng, diện tích S, đặt trong từ trường đều có cảm ứng từ
,B
góc giữa vectơ cảm
ứng từ
B
và vectơ pháp tuyến dương của mặt phẳng khung dây là α. Từ thông qua N vòng dây của khung dây
được tính theo công thức
A. Ф = NBScotα. B. Ф = NBStanα. C. Ф = NBScosα. D. Ф = NBSsinα.
Câu 13. Thiết bị đóng cửa tự động là một ứng dụng của
A. hiện tượng giao thoa. B. dao động tắt dần.
C. dao động duy trì. D. hiện tượng cộng hưởng.
Câu 14. Một con lắc lò xo gồm vật nhỏ và lò xo nhẹ có độ cứng k. Con lắc dao động điều hòa dọc theo trục Ox
nằm ngang. Khi vật có li độ
x
thì lực đàn hồi của lò xo tác dụng vào nó là
A.
kx
. B.
1
2kx
. C.
2
kx
. D.
2
1
2kx
.
Câu 15. Trong hiện tượng giao thoa sóng trên mặt nước, quỹ tích các điểm dao động với biên độ cực tiểu là
những đường
A. parabol. B. tròn. C. hypebol. D. elip.
Câu 16. Một con lắc đơn gồm vật nhỏ khối lượng m, dây treo chiều dài l đang dao động điều hòa tại nơi có gia
tốc rơi tự do g. Khi vật có li độ s thì lực kéo về là
A.
.F mgs
B.
2.F mgs
C.
s.
g
Fm
l
D.
2
.
s
F mg l
Câu 17. Một con lắc lò xo dao động điều hòa với biên độ A, lò xo có độ cứng là k. Đại lượng tính theo công
thức
2
1
2kx
được gọi là
A. động năng của con lắc. B. thế năng của con lắc.
C. lực kéo về. D. cơ năng của con lắc.
Câu 18. Cho hai dao động điều hòa cùng phương, cùng tần số, có biên độ lần lượt là
1
A
và
2
A
. Dao động tổng
hợp của hai dao động này có biên độ là
12
| |A A A
. Hai dao động này
A. cùng pha. B. ngược pha.
C. lệch pha nhau
2
. D. lệch pha nhau
2
3
.
Câu 19. Khoảng cách giữa hai điểm trên phương truyền sóng gần nhau nhất và dao động cùng pha với nhau
gọi là
A. chu kỳ. B. vận tốc truyền sóng.
C. độ lệch pha. D. bước sóng.
Câu 20. Một đoạn mạch điện có công suất tiêu thụ không đổi là
P
. Điện năng tiêu thụ của đoạn mạch trong
thời gian
t
là
A. Pt. B.
P
t
. C.
2
P
t
. D.
2
Pt
.
Câu 21. Một sóng cơ truyền dọc theo trục Ox với phương trình
x
u 2cos 10 t mm .
6
(t tính bằng s, x
tính bằng cm). Tốc độ truyền sóng là
A.
160
cm/s. B. 60 cm/s. C. 120 cm/s. D.
60
cm/s.
Câu 22. Con lắc lò xo gồm vật nhỏ có khối lượng 10 g và lò xo nhẹ có độ cứng 25 N/m. Con lắc dao động điều
hòa theo phương ngang với biên độ 2 cm. Độ lớn vận tốc của vật ở vị trí cân bằng là
A. 60 cm/s. B. 200 cm/s. C. 100 cm/s. D. 50 cm/s.

Trang 3/4 - Mã đề 204
Câu 23. Một con lắc lò xo gồm vật năng khối lượng 100g và lò xo có độ cứng 100 N/m dao động cưỡng bức
do tác dụng của ngoại lực F = 0,5cosωt (F tính bằng N, t tính bằng s). Vật dao động mạch nhất khi ω bằng
A. 20π rad/s. B. 10π rad/s. C. 10 rad/s. D. 20 rad/s.
Câu 24. Một con lắc lò xo có độ cứng k = 150 N/m và có cơ năng là 0,12 J. Biên độ dao động của con lắc có
giá trị là
A. A = 0,04 cm. B. A = 2 cm C. A = 0,04 m. D. A = 4 mm.
Câu 25. Một vật thực hiện đồng thời 2 dao động điều hòa với biên độ lần lượt là 3 cm và 5 cm. Trong các giá
trị sau giá trị nào có thể là biên bộ của dao động tổng hợp.
A. 12 cm. B. 1 cm. C. 4 cm. D. 9 cm.
Câu 26. Một con lắc đơn có chiều dài dây treo là 1 m dao động điều hòa với biên độ góc 0,1 rad tại nơi có gia
tốc trọng trường g = 10 m/s2. Lấy π2 = 10. Thời gian ngắn nhất để con lắc đi từ vị trí biên dương đến vị trí có li
độ góc 0,05 rad là
A. 3 s. B. 2 s. C. 1/3 s. D. 1/6 s.
Câu 27. Chiếu ánh sáng từ không khí vào nước có chiết suất n = 4/3. Nêu góc khúc xạ r là
30o
thì góc tới i gần
giá trị nào nhất sau đây?
A.
45 .
o
B.
20 .
o
C.
36 .
o
D.
42 .
o
Câu 28. Một sóng cơ có tần số 5 Hz lan truyền trong môi trường với tốc độ 100 cm/s. Bước sóng có giá trị là
A. 20 cm. B. 500 cm. C. 6 cm. D. 4 cm.
Câu 29. Trong thí nghiệm Giao thoa sóng trên mặt chất lỏng hai nguồn sóng kết hợp dao động điều hòa cùng
pha. Sóng truyền trên mặt nước có bước sóng 3 cm. Tại vị trí cực đại bậc 3 có hiệu khoảng cách tới hai nguồn
A. 10,5 cm. B. 7,5 cm. C. 6 cm. D. 9 cm.
Câu 30. Một vật khối lượng 100 g dao động điều hòa với phương trình
x 2cos 10t
cm. Lực cực đại tác dụng
lên vật là
A. 0,2 N. B. 0,02 N. C. 200 N. D. 20 N.
Câu 31. Một chất điểm thực hiện đồng thời hai dao động điều
hòa cùng phương, cùng tần số với đồ thị li độ thời gian như hình
vẽ (
1
x
: đường nét liền,
2
x
: đường nét đứt). Lấy
210
. Gia
tốc cực đại của vật là
A.
2
25 cm / s
. B.
2
2,5 cm / s
. C.
2
12,5 cm / s
. D.
2
12,5 cm/ s
.
Câu 32. Một chất điểm dao động điều hòa với biên độ
A 2 cm
và tần số
f(Hz)
. Khoảng thời gian ngắn nhất
để vận tốc của chất điểm thay đồi từ
4 (cm / s)
đến
4 3( cm / s)
là
1/ 4f (s)
. Tìm tần số dao động của chất
điểm
A.
2 Hzf
. B.
f 5 Hz
. C.
f 0,5 Hz
. D.
f 1 Hz
.
Câu 33. Trên mặt nước tại A và B cách nhau 26 cm, người ta đặt hai nguồn dao động điều hòa, cùng pha theo
phương thẳng đứng tạo ra hai sóng kết hợp có bước sóng λ = 2 cm. Coi biên độ sóng không đổi. Gọi M là điểm
trên mặt nước thuộc đường tròn đường kính AB và AM = 24 cm. Để dao động tại điểm M có biên độ cực đại thì
phải dịch chuyển nguồn ở B theo phương AB và hướng ra xa A một đoạn nhỏ nhất là
A. 3,8 cm. B. 3,7 cm. C. 3,9 cm. D. 3,6 cm.
Câu 34. Có hai con lắc đơn mà độ dài của chúng khác nhau
11 cm
, dao động ở cùng một nơi. Trong cùng một
khoảng thời gian, con lắc thứ nhất thực hiện được 30 dao động toàn phần, con lắc thứ hai thực hiện được 36
dao động toàn phần. Độ dài của con lắc đơn thứ nhất và con lắc đơn thứ hai lần lượt là
A. 50 cm và 72 cm. B.
36 cm
và
25 cm
.

Trang 4/4 - Mã đề 204
C. 88 cm và 110 cm. D.
78 cm
và
110 cm
.
Câu 35. Một con lắc lò xo treo vào một điểm cố định, dao động điều hòa theo phương thẳng đứng với chu kì
0,8 s. Trong một chu kì, nếu tỉ số giữa thời gian lò xo dãn với thời gian lò xo nén bằng 3 thì thời gian mà lực
đàn hồi ngược chiều lực kéo về là
A.
0,3 s
. B.
0,1 s
. C.
0,4 s
. D.
0,2 s
.
Câu 36. Một sóng ngang có bước song
lan truyền trên một sợi dây dài qua M rồi đến N cách nhau
6
Tại
một thời điểm nào đó M có li độ
43
cm và N có li độ
4
cm. Tính giá trị của biên độ sóng.
A. 7 cm. B. 11 cm. C. 8 cm. D. 6 cm.
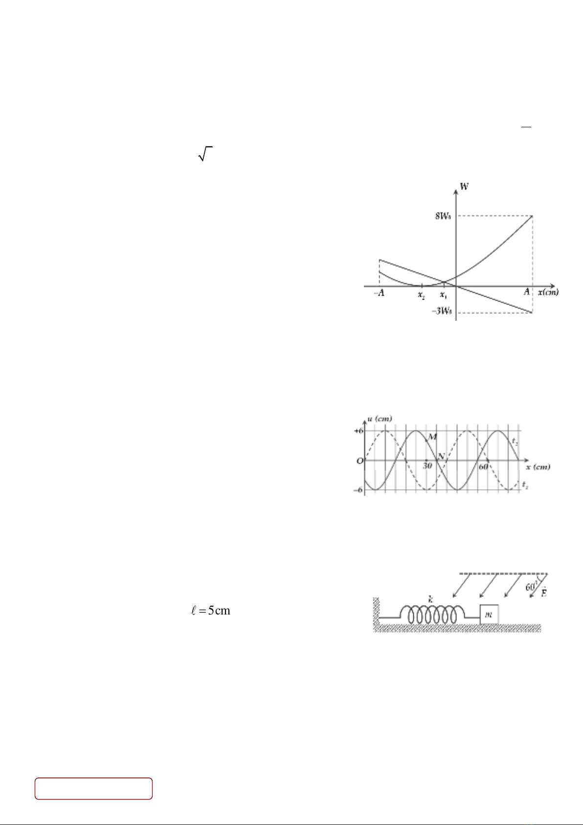
Câu 37. Một con lắc lò xo được treo vào một điểm cố định
đang dao động điều hòa theo phương thẳng đứng dọc theo trục
Ox, chiều dương hướng xuống, gốc O tại vị trí cân bằng của
vật. Chọn gốc tính thế năng trọng trường ở vị trí cân bằng của
vật. Hình vẽ bên là các đồ thị biểu diễn sự phụ thuộc của thế
năng trọng trường của vật, thế năng đàn hồi của lò xo vào li độ
x
của vật. Trong đó, hiệu
12
1 cmxx
. Biên độ dao động của
con lắc lò xo có giá trị gần đúng bằng
A.
5,2 cm
. B.
4,2 cm
. C.
4,11cm
. D.
5,6 cm
.
Câu 38. Có ba con lắc đơn cùng chiều dài cùng khối lượng cùng được treo trong điện trường đều có hướng
thẳng đứng. Con lắc thứ nhất và thứ hai tích điện q1 và q2, con lắc thứ ba không tích điện (sao cho |qE| < mg).
Chu kỳ dao động nhỏ của chúng lần lượt là T1, T2, T3 sao cho T1 = T3/2, T2 = 2T3. Tỉ số q1/q2 là
A. 12. B. -8. C. 6. D. -4.
Câu 39. Một sóng hình sin đang truyền trên một sợi dây theo
chiều dương của trục Ox. Hình vẽ mô tả hình dạng của sợi dây
tại thời điểm
l
t
(đường nét đứt) và
21
0,5( s)tt
(đường nét
liền). Tại thời điểm
2
t
, tốc độ dao động của điểm phần tử
M
trên dây là
A.
19,98 cm / s
. B.
27,85 cm / s
. C.
39,31 cm / s
. D.
48,97 cm / s
.
Câu 40. Con lắc gồm vật nặng khối lượng
100mg
, mang điện
6
10qC
; lò xo có độ cứng
100k
N/m được đặt trên một bề
mặt nằm ngang có hệ số ma sát trượt
0,1
. Ban đầu, kéo vật
đến vị trí lò xo giãn một đoạn
5 cm
, đồng thời thả nhẹ và làm
xuất hiện trong không gian một điện trường với véctơ cường độ
điện trường xiên góc
0
60
như hình vẽ,
6
E 10 V / m
. Lấy
22
g 10 m / s
. Tốc độ độ cực đại của con lắc là
A.
120 cm / s
. B.
168 cm / s
. C.
130 cm / s
. D.
50 cm / s
------------- HẾT -------------

