
M CH N ÁP DÙNG LM723CNẠ Ổ
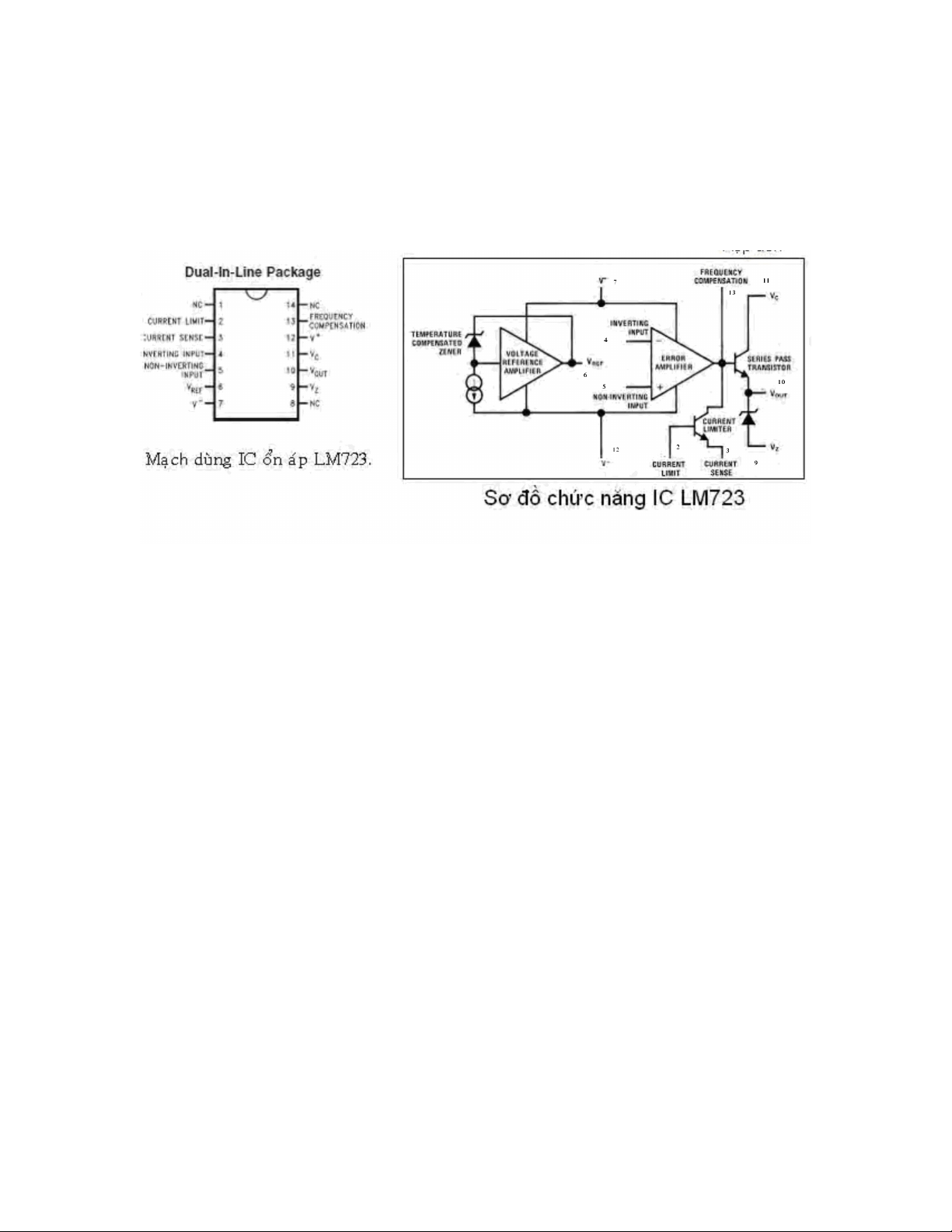
S đ chân c a IC n áp LM723ơ ồ ủ ổ
S đ chân c a IC n áp LM723 cho th yơ ồ ủ ổ ấ :
Chân 7 n i masse (V-) và chân 12 n i ngu n (V+).ố ố ồ
Chân 6 là ng ra c a m c áp chu n (VREF).ỏ ủ ứ ẩ
Chân 4 và 5 là hai ng vào c a t ng khu ch đ i so áp, chân 4 là ng vào đ oỏ ủ ầ ế ạ ỏ ả
và chân 5 là ng vào không đ o.ỏ ả
Chân 11 là ng ra l y trên chân C c a transistor.ỏ ấ ủ
Chân 10 là ng ra l y tên chân E c a transistor.ỏ ấ ủ
Chân 13 là ng ra c a t ng so áp và cũng là chân B c a transistor, nó có tácỏ ủ ầ ủ
d ng t o h i ti p cho t ng so áp, và cũng đ c dùng làm m ch ng t áp c aụ ạ ồ ế ầ ượ ạ ắ ủ
m ch b o v tránh quá dòng.ạ ả ệ
Chân 2 và 3 là chân B và chân E c a transistor, dùng làm m ch b o v tránhủ ạ ả ệ
hi n t ng quá dòng.ệ ượ
Chân 9 (VZ) t o ch c năng n áp cho chân E c a transistor ng ra.ạ ứ ổ ủ ả
Chân 1 và 8 b tr ng.ỏ ố

S đ m ch đi n c a h p ngu nơ ồ ạ ệ ủ ộ ồ
M ch ngu n dùng ic n áp LM723CN đi u ch nh đi n áp ra t 0 `~ 15Vạ ồ ổ ề ỉ ệ ừ
Nguyên lý làm vi c c a m ch nh sauệ ủ ạ ư :
T1 là bi n áp ngu n có tác d ng cách ly và gi m áp AC, gi m 220V xu ngế ồ ụ ả ả ố
m c 18V. Dùng c u n n dòng 4 diode D1...D4 (1N4007 x4) đ đ i dòng đi nứ ầ ắ ể ổ ệ
xoay chi u ra d ng dòng xung 1 chi u. Diode D5 (1N4007), t o tác d ng ng tề ạ ề ạ ụ ắ
dòng n p khi áp trên t l c C1 còn m c đ cao, t hóa C1 (1000uF) là khoạ ụ ọ ở ứ ủ ụ
ch a đi n chính dùng n đ nh đi u ki n c p đi n cho t i và nâng cáo m c ápứ ệ ổ ị ề ệ ấ ệ ả ứ
DC.
M ch c p ngu n DC dùng IC n áp LM723. Chân 7 cho n i masse, chân 12ạ ấ ồ ổ ố
n i vào đ ng ngu n B+ (+22V). Ng ra l y trên chân 11 dùng c p dòng choố ườ ồ ả ấ ấ
transistor công su t pnp Q1 (MJ2955). Đi n tr R2 (330) có tác d ng h n dòngấ ệ ở ụ ạ
và đi n tr R1 (1K) có tác d ng bù nhi t. V i cách m c c a Q1, đi n áp raệ ở ụ ệ ớ ắ ủ ệ
cho l y trên chân C c a transistor công su t, ki u m ch ngu n này cho m c ápấ ủ ấ ể ạ ồ ứ
đi u ch nh có th kh i đ u t m c áp 0V.ề ỉ ể ở ầ ừ ứ

Đi n ra l y trên chân C c a Q1, đây dùng D6 (1N4007) đ tránh dòng saiệ ấ ủ ở ể
c c cho x ng c. Dùng đi n tr R3 (510) làm t i ph đ đ nh áp ng ra. Tự ả ượ ệ ở ả ụ ể ị ỏ ụ
C2 (470uF) và C3 (220uF) có tác d ng n áp. ụ ổ
Tín hi u cho h i ti p v chân 4 c a m ch khu ch đ i so áp l y trên c u đoệ ồ ế ề ủ ạ ế ạ ấ ầ
m c trên t i v i R4 (1K) và R5 (10K). Chân 6 là ng ra c a m ch áp chu n vàắ ả ớ ỏ ủ ạ ẩ
chân 5 là m t ng vào c a t ng so áp. đây đ t chi t áp RV1 dùng làm nútộ ỏ ủ ầ Ở ặ ế
ch nh ch n l a m c áp cho ng ra.ỉ ọ ự ứ ỏ
Nguyên lý làm vi c c a m ch b o v tránh quá dòng:ệ ủ ạ ả ệ
Chúng ta th y dòng đi n c p cho t i, ch y qua đi n tr R12 (0.47, nh Ohmấ ệ ấ ả ả ệ ở ỏ
nh ng có công su t ch u nóng l n), trên đi n tr R12 xu t hi n đi n áp, m cư ấ ị ớ ệ ở ấ ệ ệ ứ
áp này qua m ch l c v i R11 (330)ạ ọ ớ và t l c C7 (10uF) tác đ ng vào chân Bụ ọ ộ
c a Q3, C6 (104) là t l c nhi u.ủ ụ ọ ễ

* Bình th ng, dòng ra m c bình th ng (không quá 1A), m c áp trên R12ườ ở ứ ườ ứ
không quá 0.6V, lúc này Q3 không d n đi n và Q2 cũng ng ng d n và m chẫ ệ ư ẫ ạ
ngu n ho t đ ng bình th ng.ồ ạ ộ ườ
* Khi m ch t i b quá dòng, dòng t i cao h n 1A, lúc này m c áp trên R12 lênạ ả ị ả ơ ứ
cao h n 0.6V s làm cho Q3 d n đi n, nó s kéo m c áp trên chân 13 xu ngơ ẽ ẫ ệ ẽ ứ ố
m c g n 0V và nh v y ng ra s b m t áp.ứ ầ ư ậ ả ẽ ị ấ
Transistor pnp Q2 có tác d ng t gi , đây B n có th xem Q2 (pnp) và Q3ụ ự ữ ở ạ ể
(npn) ráp đ ng hi u nh SCR, nó là m t khóa đi n có tác d ng t gi , nghĩa làẳ ệ ư ộ ệ ụ ự ữ
khi đã d n đi n thì s ti p t c d n. D7 và C5 (100uF) có tác d ng cách ly. Ledẫ ệ ẽ ế ụ ẫ ụ
D9 dùng ch th t t m ngu n, Led D8 dùng báo m ch b t t do ch m t i. Doỉ ị ắ ở ồ ạ ị ắ ạ ả
m ch dùng 2 Led màu đôi (Led xanh và đ ), nên bình th ng do 2 Led đ uạ ỏ ườ ề
sáng nên có màu vàng, khi ngu n b ch m s t màu Vàng đ i ra màu Xanhồ ị ạ ẽ ừ ổ
(do ch có Led xanh sáng, Led đ đã b làm t t).ỉ ỏ ị ắ R8 (1K), R9 (10K), R10 (2.2K)
là các đi n tr h n dòng cho các Led ch th .ệ ở ạ ỉ ị
các linh ki n trên board m chệ ạ
2 transistor (pnp và npn) ghép đ ng hi u nh m t SCR, nó có tác d ng ng tẳ ệ ư ộ ụ ắ
ngu n khi t i b ch m hay b quá dòng. Trong m ch này, ng i ta dùng m tồ ả ị ạ ị ạ ườ ộ
Relay đ ng t ngu n và sau m t lúc s t đ ng cho m ngu n tr l i (tể ắ ồ ộ ẽ ự ộ ở ồ ở ạ ự
đ ng m ngu n)ộ ở ồ
IC n áp LM723, bên c nh là các đi n tr nh có công su t ch u nóng l n,ổ ạ ệ ở ỏ ấ ị ớ
dòng c p cho t i s cho ch y qua đi n tr này, m c áp trên đi n tr này, khiấ ả ẽ ả ệ ở ứ ệ ở
v t quá 0.6V s làm nh y m ch b o v . Đa s các h h ng c a lo i ngu nượ ẽ ẩ ạ ả ệ ố ư ỏ ủ ạ ồ
này là con IC LM723 này.ở
diode ch u dòng l n m c cách ly t hóa l n C1 (1000uF) và c u n n dòng, tácị ớ ắ ụ ớ ầ ằ
d ng c a diode là khi m c áp trên t hóa còn cao thì nó s c t n p khi m c ápụ ủ ứ ụ ẽ ắ ạ ứ
d ng xung m c th p h n, đi u này làm tăng hi u su t c a ngu n.ạ ở ứ ấ ơ ề ệ ấ ủ ồ
bi n áp t o tác d ng cách ly đ ng dây AC và board m ch và dùng đ làmế ạ ụ ườ ạ ể
gi m m c áp t 220V xu ng 18V. Khi b ch m hay quá t i, l p khung nh aả ứ ừ ố ị ạ ả ớ ự
trên đó qu n các cu n dây th c p và s c p s b bi n d ng, méo mó. B nấ ộ ứ ấ ơ ấ ẽ ị ế ạ ạ
đo ki m tra và thay h bi n áp m i là đ c.ể ế ế ớ ượ
ta dùng m t máy đo dòng (A) cho m c n i ti p đ ch th m c dòng ch y quaộ ắ ố ế ể ỉ ị ứ ả
t i. M c dòng t i đa là 1A, n u dòng l n h n 1A, nó s t o m c áp lênả ứ ố ế ớ ơ ẽ ạ ứ
kho ng 0.6V trên đi n tr R12 (0.47), m ch t t ngu n ngõ ra s nh y. ả ệ ở ạ ắ ồ ẽ ẩ Ghi

nh nậ: B n có th cho dòng ng t ngu n b ng cách thay đ i tr s c a đi n trạ ể ắ ồ ằ ổ ị ố ủ ệ ở
R12.
ta dùng m t máy đo áp (V) cho m c song song v i ng ra đ ch th m c ápộ ắ ớ ả ể ỉ ị ứ
trên t i. M c áp t i đa là 15Vả ứ ố Ghi nh nậ: N u B n mu n có m c áp cao h n,ế ạ ố ứ ơ
B n có th thay bi n áp ngu n, v i m c áp AC trên cu n th c p l y caoạ ể ế ồ ớ ứ ộ ứ ấ ấ
h n.ơ
t hóa l n (1000uF), t này là kho ch a đi n chính c a toàn m ch, B n cóụ ớ ụ ứ ệ ủ ạ ạ
th thay th t l c có đi n dung l n h n đ có tính n áp t t h n.ể ế ụ ọ ệ ớ ơ ể ổ ố ơ
c u n n dòng v i 4 diode, B n dùng diode 1N4007 là đ .ầ ắ ớ ạ ủ
m ch dùng m t Relay v i ti p đi m lá kim c a nó làm khóa đi n đ t tạ ộ ớ ế ể ủ ệ ể ắ
m đ ng ngu n DC ng ra. Ki u t đ ng cho m l i dòng sau m t th iở ườ ồ ở ả ể ự ộ ở ạ ộ ờ
gian t t ngu n này nhi u khi l i b t c p h i. N u không mu n dùng tính năngắ ồ ề ợ ấ ậ ạ ế ố
t đ ng cho m ngu n, B n làm h cu n dây kích c a Relay.ự ộ ở ồ ạ ở ộ ủ

