
EPIC Một kỉ nguyên mới trong lĩnh vực cảm ứng điện thế

Theo truyền thống, sự tương tác của các thiết bị ở trạng thái rắn với quang phổ
điện từ đã tập trung vào phát hiện nhiễu loạn trong từ trường. Ví dụ các cảm biến
hiệu ứng Hall cung cấp phát hiện đáng tin cậy nhất nhiều loại ứng dụng tương tự
hoặc số (strigger Schmitt) khác nhau. Trong cuộc sống hàng ngày, chúng ta dựa
trên thông tin được mã hóa thành dạng trường mật độ thông tin từ tính để truyền dữ
liệu đến các hệ thống điện thoại hay truyền hình số.
Trong khi đó các phương trình của Maxwell cho chúng ta biết rằng bất cứ khi nào
chúng ta truyền đi một từ trường thì sẽ có một đáp ứng điện trường tương ứng xuất
hiện, việc phát hiện và nghiên cứu thành phần này đã bị bỏ qua.
Các dụng cụ đo điện sẽ đo sự lãng phí hoặc sự khác biệt điện thế và là những chiếc
vôn kế với một trở khác đầu rất lớn nên có thể coi dòng điện đi vào thiết bị lúc này
là bằng 0. Cho đến gần đây, các thiết bị đo đạc đã nổi tiếng là không chính xác và
thường được sử dụng các thành phần tinh tế, nhạy cảm với các cú sốc cơ khí do đó
dễ dàng bị hư hỏng. Bộ cảm biến EPIC được mô tả trong bài này là một thiết bị rắn
rất chắc chắn với điện trở đầu vào của nó rất lớn và có thể coi như một vôn kế lý
tưởng. Các ứng dụng mong đợi của nó là rất nhiều và những thông báo, chứng
minh của công nghệ này đã tạo ra sự phấn khích lớn trong giới kỹ thuật.
EPIC là gì?

EPIC là một từ viết tắt cho "Mạch tích hợp điện thế” (Electric Potential Integrated
Circuit) nhưng thuật ngữ này hiện đồng nghĩa với công nghệ mạch tích hợp, bộ
cảm biến chính nó, và theo nghĩa rộng hơn là các nguyên tắc vật lý của hoạt động
của thiết bị trong hệ thống.
EPIC là một điện kế không tiếp xúc, có nghĩa là không cần đường dẫn DC trực tiếp
tới đầu vào của bộ sensor, tương tự như đối với các cực cửa (gate) của transistor
MOS. Điện cực được bảo vệ bởi một lớp vật liệu điện môi để đảm bảo tách biệt từ
vật thể đang được đo. Đây là một thiết bị xoay chiều cho đáp ứng -3dB tại dải tần
dưới (vài chục MHz) và dải tần số trên cao hơn 200 MHz. Đáp ứng này có thể
được điều chỉnh và có thể thay đổi để phù hợp với một ứng dụng cụ thể. Một điện
kế như vậy không thể sử dụng cặp DC vì điện trường gần bề mặt của trái đất là ~
100-150 V/m.
Trong chế độ đơn thông thường, thiết bị có thể sử dụng để xác định giá trị điện thế;
khi sử dụng trong chế độ khác nó có thể đo điện trường cục bộ; hoặc có thể được
triển khai trong việc cung cấp bản đồ không gian của điện thế (vị trí dẫn điện hoặc
điện môi đặt trong không gian).

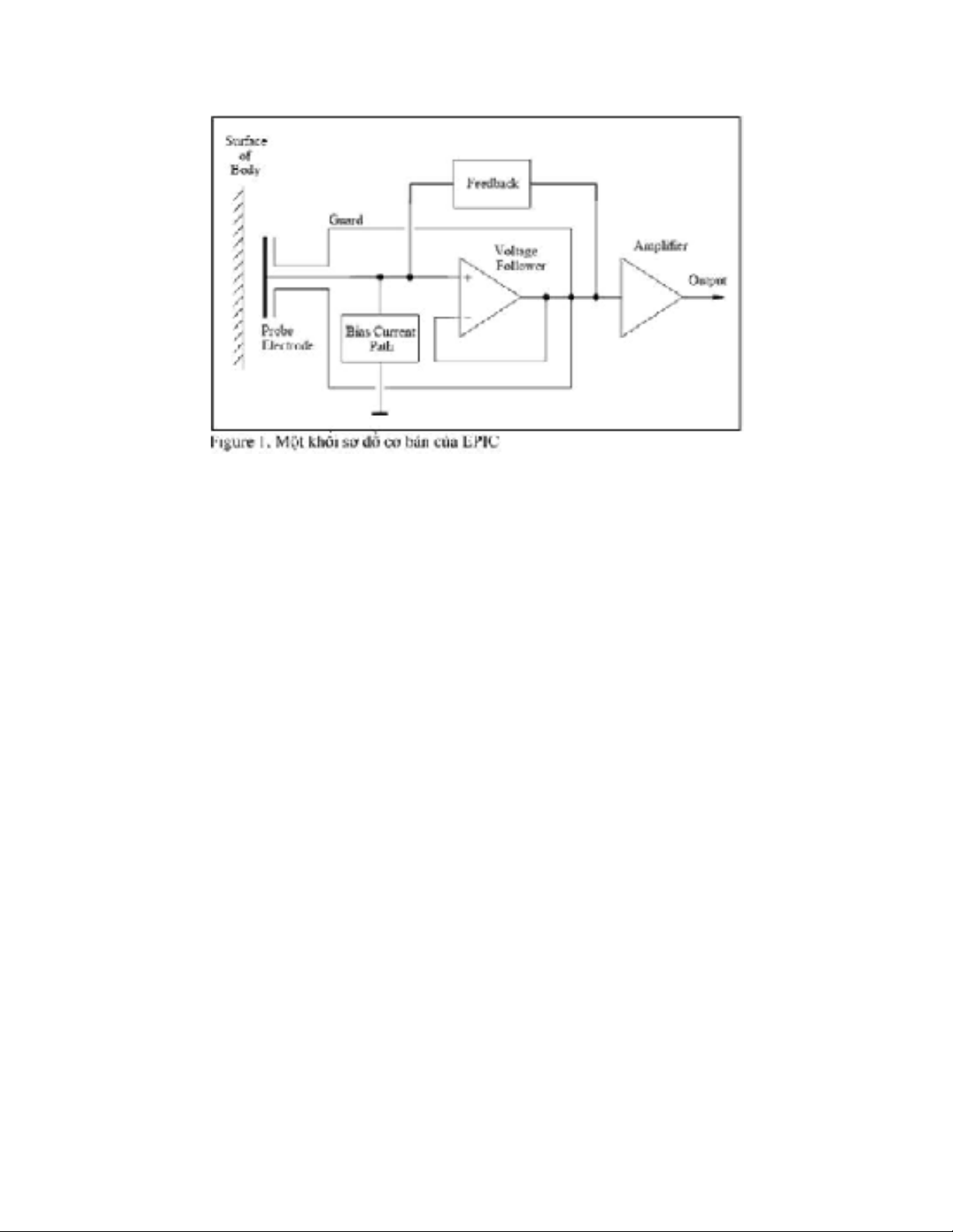
Hình 1 cho thấy một sơ đồ khối cơ bản của cảm biến EPIC. Kích thước của điện
cực là tùy ý và phụ thuộc vào điện dung đầu vào cần thiết cho một ứng dụng cụ
thể. Đối với các phần gần điện cực, kích thước của điện cực là quan trọng và các
hoạt động của thiết bị có thể được hiểu là khớp nối điện dung. Đối với các thiết bị
cách xa vài mét, khớp nối điện dung (được định nghĩa bằng điện dung của bản thân
điện cực và đáp ứng của thiết bị) là một hàm của trở khác đầu vào do tính chất
tương tác với điện trường của nó.
Các kháng đầu vào thiết bị có thể được tăng cường bằng cách sử dụng kỹ thuật
bootstrapping trong khi điện dung đầu vào có thể được giảm bằng cách sử dụng
các kỹ thuật bảo vệ. Điện dung đầu vào có thể được điều khiển ở mức thấp thấp là
10-17 F với trở kháng đầu vào tăng lên các giá trị lên đến khoảng 1015 Ω, do đó

giữ sự tương tác trường mục tiêu đến một mức tối thiểu tuyệt đối và đảm bảo rằng
tất cả các dòng điện là dòng chuyển nhỏ.
Một sự hiểu biết tốt hơn về các cơ chế phản hồi có thể thu được bằng cách xem xét
các bộ đệm đầu vào của bộ khuếch đại và trở kháng kết hợp như được chỉ ra ở
trong hình 2. Các điện trở RG1 và RG2 được sử dụng để thiết lập hệ số khuếch đại
của bước đầu tiên. Cin và Rin đại diện cho điện dung đầu vào và trở thụ động với
bộ khuếch đại, và bao gồm các thành phần ký sinh. Dung lượng Cext thể hiện điện
dung khớp nối.
Khi Cext >> Cin, ta có phương trình 1 :

