
115
π
2
.
P
D
Tmm
m=
tan
2
..
.cons
n
PD
n
T
Nm
mm
m
m
m===
π
Maïch coù :Nm = constan, Hình 4.34.
3-Hieäu suaát cuûa ñoäng cô thuyû löïc.
-Hieäu suaát theå tích cuûa moâ tô:Löu löôïng thöïc cung caáp cho
moâ tô lôùn hôn löu löôïng lyù thuyeát.
η
v
m
m
mm
n
D
Q.
=
Trong ñoù :
η
v
m laø hieäu suaát theå tích cuûa moâ tô.
-Moâ men xoaén cuûa moâ tô tính theo lyù thuyeát laø :
π
2
.
P
Dmm

116
Moâ men xoaén thöïc teá nhoû hôn :
π
η
2
.
.
P
Dmm
t
m
Trong ñoù:
η
t
m laø hieäu suaát cô cuûa moâ tô.
-Coâng suaát lyù thuyeát cuûa moâ tô:
P
Qm
m.
Coâng suaát thöïc teá:
η
0
..P
Qm
m
Vôùi:
η
0
Hieäu suaát chung cuûa moâ tô.
=
η
0×
η
v
m
η
t
m
Baøi taäp 4.9
4.Maïch moâ tô thuyû löc hôû coù ñaûo chieàu.
Hình 4.35.
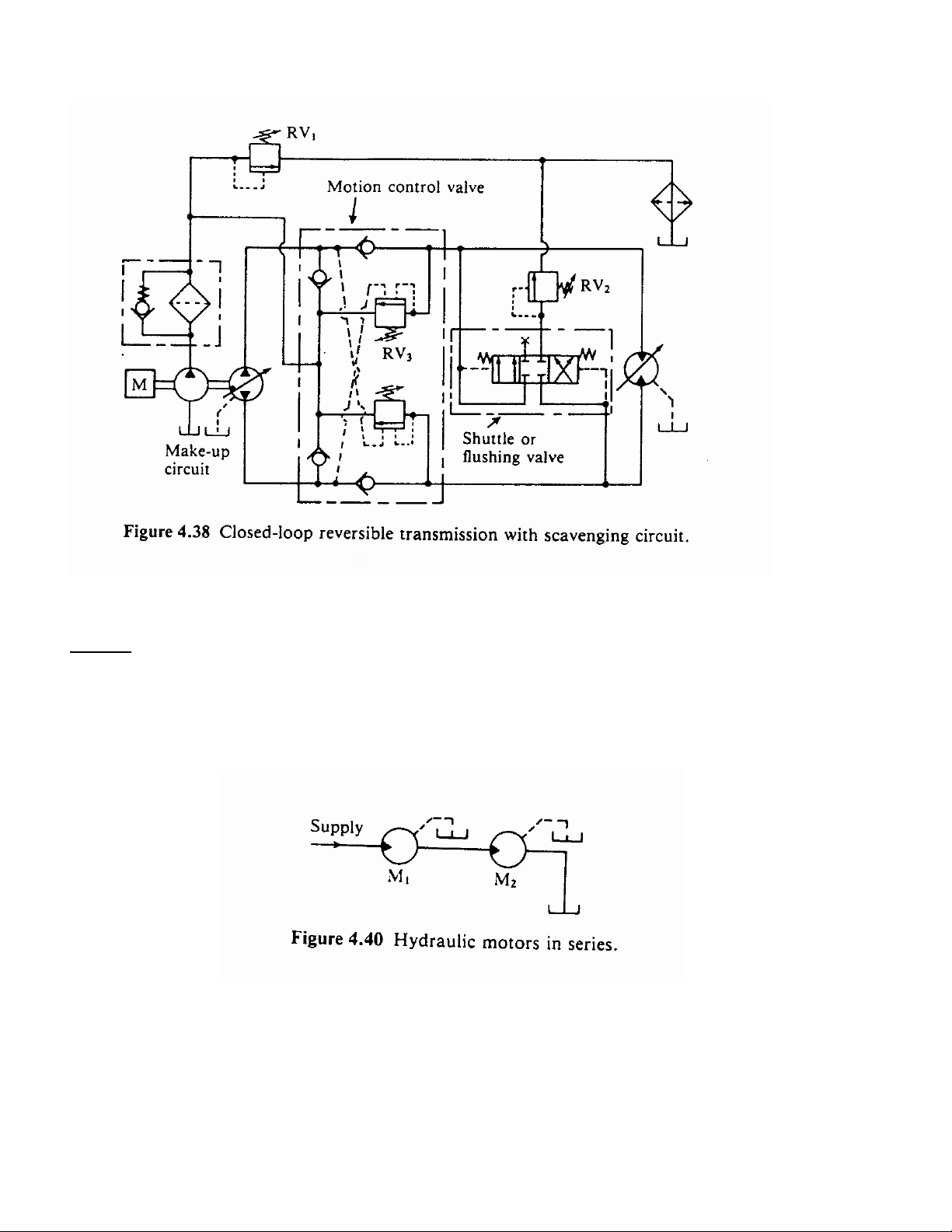
4.4.2.Maïch chuyeån ñoåi kín.

117
Hình 4.36
Hình 4.37

118
Hình 4.38.
4.4.3.Maïch gheùp nhieàu moâ tô.
-Gheùp noái tieáp:
Hình 4.40

119
-Gheùp song song :
Hình 4.42.

