
52
Ch−¬ng IV
Qu¶n lý ®Çu t− vµ x©y dùng
i. Néi dung vµ tr×nh tù qu¶n lý ®Çu t− vµ x©y dùng
Qu¶n lý ®Çu t− vµ x©y dùng lµ qu¶n lý Nhµ n−íc vÒ qu¸ tr×nh ®Çu t− vµ
x©y dùng tõ b−íc x¸c ®Þnh dù ¸n ®Çu t− cho ®Õn kh©u khai th¸c sö dông c«ng
tr×nh theo ®óng môc tiªu ®· ®Þnh.
Dù ¸n ®Çu t− lµ mét tËp hîp c¸c ®Ò xuÊt vÒ viÖc ®Çu t− vèn ®Ó x©y dùng
míi, c¶i t¹o, më réng c¸c c«ng tr×nh nh»m ®¹t môc tiªu ®· ®Þnh trong thêi
gian nhÊt ®Þnh.
ViÖc qu¶n lý ®Çu t− x©y dùng c¬ b¶n, ë mçi n−íc ®Òu kh¸c nhau. ë
n−íc ta trong qu¸ tr×nh ph¸t triÓn còng cã nhiÒu thay ®æi ®Ó héi nhËp thÕ giíi.
- Tr−íc 1980 viÖc qu¶n lý ®Çu t− x©y dùng ch−a cã nh÷ng qui ®Þnh chÆt
chÏ.
- Ngµy 19/9/1985 Héi ®ång bé tr−ëng ra NghÞ ®Þnh 237/H§BT ban
hµnh ®iÒu lÖ thÈm tra xÐt duyÖt thiÕt kÕ c¸c c«ng tr×nh XDCB.
- Theo sù ph¸t triÓn vµ chÝnh s¸ch ®æi míi nªn ngµy 7/11/90 Héi ®ång
bé tr−ëng ra NghÞ ®Þnh 385/H§BT kÌm theo ®iÒu lÖ qu¶n lý XDCB, víi néi
dung qu¶n lý kh¸ chÆt chÏ.
- Ngµy 20/10/1994, ChÝnh phñ l¹i ra NghÞ ®Þnh 177/CP kÌm theo ®iÒu lÖ
qu¶n lý ®Çu t− vµ x©y dùng víi nhiÒu néi dung míi.
- Ngµy 16/7/1996 ChÝnh phñ ra NghÞ ®Þnh 42/CP kÌm theo ®iÒu lÖ qu¶n
lý ®Çu t− x©y dùng. §iÒu lÖ 42/CP so víi ®iÒu lÖ 177 cã nhiÒu ®iÓm chÆt chÏ
h¬n trong x©y dùng c¬ b¶n.
1. Yªu cÇu vµ nguyªn t¾c c¬ b¶n trong qu¶n lý ®Çu t− x©y dùng:
a. ViÖc qu¶n lý x©y dùng c¬ b¶n ph¶i theo c¸c yªu cÇu sau:

53
- B¶o ®¶m ®óng môc tiªu chiÕn l−îc ph¸t triÓn kinh tÕ x· héi trong tõng
thêi kú theo ®Þnh h−íng XHCN. Thùc hiÖn chuyÓn dÞch c¬ cÊu kinh tÕ theo
h−íng C«ng nghiÖp ho¸, hiÖn ®¹i ho¸ ®Êt n−íc.
- Huy ®éng vµ sö dông cã hiÖu qu¶ cao nhÊt c¸c nguån vèn ®Çu t−, khai
th¸c tèt tµi nguyªn tiÒm n¨ng lao ®éng ®Êt ®ai vµ mäi tiÒm lùc kh¸c, chèng
hµnh vi tham « l·ng phÝ trong x©y dùng c¬ b¶n.
- X©y dùng theo qui ho¹ch vµ thiÕt kÕ kü thuËt ®· ®−îc duyÖt. Thùc
hiÖn c¹nh tranh trong x©y dùng nh»m ¸p dông c«ng nghÖ tiªn tiÕn b¶o ®¶m
chÊt l−îng vµ thêi h¹n x©y dùng.
b. Nh÷ng nguyªn t¾c c¬ b¶n cña qu¶n lý ®Çu t− vµ x©y dùng ®èi víi tÊt
c¶ c¸c thµnh phÇn kinh tÕ.
- Thùc hiÖn ®óng tr×nh tù ®Çu t− vµ x©y dùng.
- Ph©n ®Þnh râ chøc n¨ng qu¶n lý Nhµ n−íc víi qu¶n lý s¶n xuÊt kinh
doanh. Qui ®Þnh râ tr¸ch nhiÖm cña c¸c c¬ quan qu¶n lý Nhµ n−íc.
2. Tr×nh tù ®Çu t− vµ x©y dùng:
Tr×nh tù ®Çu t− vµ x©y dùng theo §iÒu lÖ 42 chia lµm 3 giai ®o¹n:
- Giai ®o¹n chuÈn bÞ ®Çu t−
- Giai ®o¹n thùc hiÖn ®Çu t−
- Giai ®o¹n khai th¸c sö dông.
Trong ®iÒu lÖ 42 qui ®Þnh chung cho c«ng tr×nh x©y dùng lµ: C¶ 3 giai
®o¹n trªn ®Òu lµ mét chñ ®Çu t− . V× chñ ®Çu t− lµ ng−êi së h÷u vèn chÞu tr¸ch
nhiÖm tr−íc Nhµ n−íc ph¶i lo kh©u chuÈn bÞ ®Çu t−, sau ®ã thùc hiÖn ®Çu t− vµ
cuèi cïng lµ qu¶n lý khai th¸c thu håi vèn tr¶ l¹i cho Nhµ n−íc.
§èi víi ngµnh Thuû lîi cã ®Æc thï riªng nªn mÊy n¨m gÇn ®©y thùc
hiÖn nh− sau:
- Giai ®o¹n chuÈn bÞ ®Çu t−: Th× thµnh lËp ban chuÈn bÞ ®Çu t−.

54
- Giai ®o¹n thùc hiÖn ®Çu t−: Th× thµnh lËp ban qu¶n lý dù ¸n (tr−íc ®©y
chÝnh lµ ban A cña Bé ®Æt ë c¸c n¬i. Nh− Ban qu¶n lý c«ng tr×nh 410,409...).
- Giai ®o¹n khai th¸c: hiÖn nay thµnh lËp Ban qu¶n lý khai th¸c c«ng
tr×nh thuû lîi.
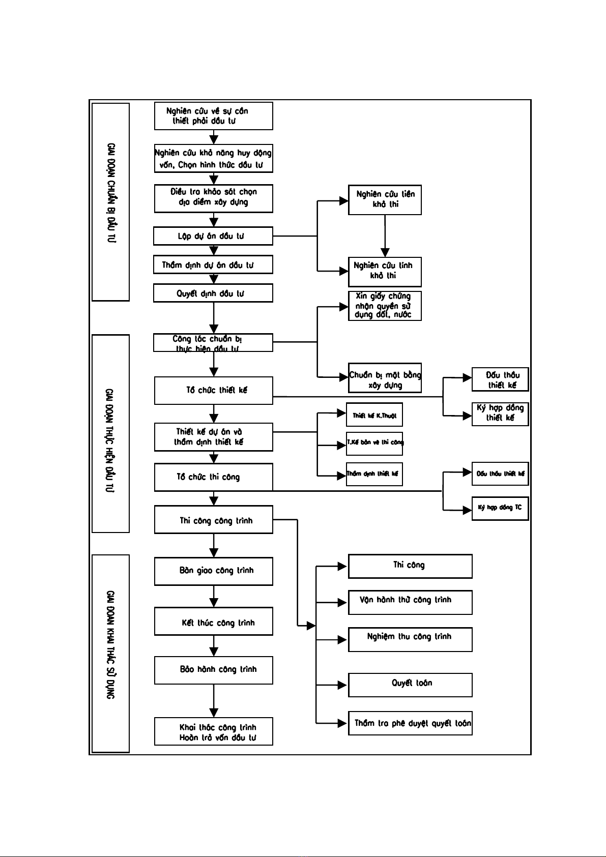
Tr×nh tù qu¶n lý ®Çu t− vµ x©y dùng c«ng tr×nh ë n−íc ta thùc hiÖn theo
s¬ ®å sau:
3. Ph©n lo¹i dù ¸n ®Çu t−:
ë n−íc ta dù ¸n ®Çu t− ®−îc ph©n thµnh 3 nhãm: A, B, C
Nhãm A:
a. Trªn 200 tû ®ång ®èi víi c¸c c«ng tr×nh:
- §iÖn, khai má, luyÖn kim, chÕ t¹o m¸y c¸i, nhiªn liÖu, xi m¨ng.
- Giao th«ng, Thuû lîi, cÊp n−íc ®« thÞ.
b. Trªn 100 tû ®ång ®èi víi c¸c ngµnh:
- C«ng nghiÖp nÆng: Kü thuËt ®iÖn, ®iÖn tö, ho¸ chÊt, ph©n bãn, chÕ t¹o
c¬ khÝ, VLXD.
- C«ng nghiÖp nhÑ: Sµnh, sø, thuû tinh, giµy dÖt, da, may mÆc...
- B−u ®iÖn.
- Ho¸ d−îc, chÕ biÕn n«ng s¶n thùc phÈm, thuû s¶n, SXNN, nu«i trång
thuû s¶n.
c. Trªn 55 tû ®ång víi c¸c ngµnh cßn l¹i.

55
S¬ ®å tr×nh tù ®Çu t− vµ x©y dùng theo ®iÒu lÖ 42

56
Nhãm B: Thuéc c¸c c«ng tr×nh:
a. Thuéc phÇn a nhãm A nh−ng cã vèn ®Çu t− tõ 25 tû ®Õn 200 tû ®ång.
b.Thuéc phÇn b nhãm A nh−ng cã vèn ®Çu t− tõ 25 tû ®Õn 100 tû ®ång.
c. Thuéc phÇn c nhãm A nh−ng cã vèn ®Çu t− tõ 5 tû ®Õn 50 tû ®ång.
Nhãm C: C¸c c«ng tr×nh cßn l¹i
II. Giai ®o¹n chuÈn bÞ ®Çu t− x©y dùng c«ng tr×nh
HiÖn nay trong x©y dùng c«ng tr×nh rÊt coi träng nghiªn cøu tÝnh kh¶
thi. BÊt kÓ c«ng tr×nh x©y míi hoÆc c¶i tiÕn hoÆc c«ng tr×nh më réng ®Òu tiÕn
hµnh nghiªn cøu tÝnh kh¶ thi.
N−íc Mü lµ n−íc sím nhÊt nghiªn cøu tÝnh kh¶ thi. Tõ nh÷ng n¨m 30
®· b¾t ®Çu nghiªn cøu ®Ó x©y dùng c«ng tr×nh thuû lîi.
Trong nh÷ng n¨m gÇn ®©y ph−¬ng ph¸p nghiªn cøu tÝnh kh¶ thi ®·
kh«ng ngõng ph¸t triÓn vµ hoµn thiÖn.
Trong giai ®o¹n chuÇn bÞ ®Çu t−, th× nghiªn cøu tÝnh kh¶ thi lµ cèt lâi.
Trong giai ®o¹n chuÈn bÞ ®Çu t− cã c¸c néi dung sau:
Nghiªn cøu vÒ sù cÇn thiÕt ph¶i ®Çu t−, nghiªn cøu kh¶ n¨ng huy ®éng
vèn ®Çu t−.
Nghiªn cøu tiÒn kh¶ thi.
Nghiªn cøu tÝnh kh¶ thi.
§¸nh gi¸ thÈm ®Þnh dù ¸n ®Çu t− vµ ®−a ra quyÕt ®Þnh ®Çu t−.
1. Nghiªn cøu tÝnh cÇn thiÕt ®Çu t−
NhiÖn vô chñ yÕu cña giai ®o¹n nµy lµ tiÕn hµnh qui ho¹ch ph−¬ng
h−íng ®Çu t−.
ë giai ®o¹n nµy lµ x¸c ®Þnh ph−¬ng h−íng ®Çu t− vµ chän c¸c h¹ng
môc ®Çu t−. XÐt chän c«ng tr×nh nµo lµm tr−íc, c«ng tr×nh nµo lµm sau víi

