
1
Chöông6.Thieát keá maïch ñieàu khieån töï ñoäng khí neùn.
6.1. Caùc phöông phaùp moâ taû hoaït ñoäâng cuûa maïch.
1.Moâ taû baèng ñoà hoïa.
Chu trình hình vuoâng
Chu trình chöõ L

2
2.Moâ taû baèng giaûn ñoà pha(hay bieåu ñoà traïng thaùi).
Söû duïng caùc kyù hieäu chöùc naêng ñeå moâ taû.Phöông phaùp naøy duøng
nhieàu ôû Taây ñöùc
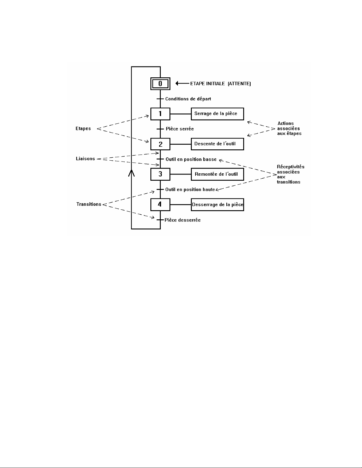
3.Phöông phaùp : GRAFCET-theo löu ñoà tieán trình.
(Graphe Fonctionnel de Command Etap - Transition)
-Söû duïng caùc kyù hieäu ñôn giaûn ñeå moâ taû.Phöông phaùp naøy duøng
nhieàu ôû Phaùp vaø caùc nöôùc khaùc vì roõ raøng vaø deã hieåu.

3
6.2.Caùc loaïi phöông phaùp ñieàu khieån.
Phöông phaùp ñieàu khieån coù nhieàu loaïi nhö :
-Ñieàu khieån baèng tay
-Ñieàu khieån tuyø ñoäng theo thôøi gian
-Ñieàu khieån tuyø ñoäng theo haønh trình
-Ñieàu khieån theo chöông trình baèng cô caáu chuyeån maïch
-Ñieàu khieån theo taàng
-Ñieàu khieån theo nhòp.
-Ñieàu khieån baèng boä choïn theo böôùc.

4
6.3.Caùc phöông phaùp thieát keá maïch.
1.Phöông phaùp thieát keá maïch.
Coù nhieàu phöông phaùp thieát keá maïch ñieàu khieån töï ñoäng khí neùn
nhö :
-Phöông phaùp Karnaugh.
-Phöông phaùp GRAFCET.
Coù 2 daïng baøi toaùn cô baûn :Baøi toaùn logic toå hôïp vaø baøi toaùn
logic tuaàn töï.
a.Caùc baøi toaùn logic toå hôïp. Duøng ñaïi soá Bool vaø baûng Karnaugh
ñeå giaûi .
b.Baøi toaùn logic tuaàn töï. Coù nhieàu phöông phaùp giaûi :
-Duøng bìa Karnaugh
-Phöông phaùp baäc
-Duøng boä tuaàn töï thích hôïp vôùi GRAFCET.
2. Ta khaûo saùt baøi toaùn maùy khoan goã (Hình).
a.Moâ taû hoaït ñoäng cuûa maïch.

5

