
BỘ 12 ĐỀ THI HỌC KÌ 2
MÔN VẬT LÍ LỚP 7
NĂM 2019-2020
(CÓ ĐÁP ÁN)

1. Đề thi học kì 2 môn Vật lí lớp 7 năm 2019-2020 có đáp án - Phòng GD&ĐT
huyện Tân Yên
2. Đề thi học kì 2 môn Vật lí lớp 7 năm 2019-2020 có đáp án - Phòng GD&ĐT
Quận 2
3. Đề thi học kì 2 môn Vật lí lớp 7 năm 2019-2020 có đáp án - Phòng GD&ĐT
thành phố Thủ Dầu Một
4. Đề thi học kì 2 môn Vật lí lớp 7 năm 2019-2020 có đáp án - Trường THCS
Bình Phú
5. Đề thi học kì 2 môn Vật lí lớp 7 năm 2019-2020 có đáp án - Trường THCS
Đức Giang
6. Đề thi học kì 2 môn Vật lí lớp 7 năm 2019-2020 có đáp án - Trường THCS
Hưng Đồng
7. Đề thi học kì 2 môn Vật lí lớp 7 năm 2019-2020 có đáp án - Trường THCS
Minh Tân
8. Đề thi học kì 2 môn Vật lí lớp 7 năm 2019-2020 có đáp án - Trường THCS
Nguyễn Thị Lựu
9. Đề thi học kì 2 môn Vật lí lớp 7 năm 2019-2020 có đáp án - Trường THCS
Nguyễn Tri Phương
10. Đề thi học kì 2 môn Vật lí lớp 7 năm 2019-2020 có đáp án - Trường THCS
Tân An
11. Đề thi học kì 2 môn Vật lí lớp 7 năm 2019-2020 có đáp án - Trường THCS
Tây Sơn
12. Đề thi học kì 2 môn Vật lí lớp 7 năm 2019-2020 có đáp án - Trường THCS TT
Đồng Đăng

PHÒNG GIÁO DỤC VÀ ĐÀO TẠO
ĐỀ KIỂM TRA HỌC KỲ II
HUYỆN TÂN YÊN
Năm học: 2019-2020
Môn thi: Vật lí 7
Thời gian làm bài: 45 phút, không kể thời gian giao đề
I. TRẮC NGHIÊM (5 điểm).
Câu 1. Có thể làm thước nhựa nhiễm điện bằng cách
A. áp sát thước nhựa vào một cực của pin.
B. áp sát thước nhựa vào một đầu của thanh nam châm.
C. hơ nóng nhẹ thước nhựa trên ngọn lửa.
D. cọ xát thước nhựa bằng mảnh vải khô.
Câu 2. Dùng mảnh vải khô để cọ xát thì có thể làm cho vật nào sau đây mang điện tích?
A. Một ống bằng gỗ. B. Một ống bằng sắt.
C. Một ống bằng giấy. D. Một ống bằng nhựa.
Câu 3. Có 4 vật a, b,c và d đã nhiễm điện. Nếu vật a hút b, b hút c, c đẩy d thì
A. vật b và c có điện tích cùng dấu. B. vật a và c có điện tích cùng dấu.
C. vật b và d có điện tích cùng dấu. D. vật a và d có điện tích trái dấu.
Câu 4. Dòng điện là
A. dòng các nguyên tử chuyển động. B. dòng dịch chuyển có hướng của các điện tích
dương.
C. sự chuyển động hỗn độn của các điện tích. D. dòng các điện tích dịch chuyển có hướng.
Câu 5. Nguồn điện là
A. thiết bị tạo ra và duy trì dòng điện. B. thiết bị bảo vệ dòng điện.
C. thiết bị tiêu thụ dòng điện. D. thiết bị đóng ngắt dòng điện.
Câu 6. Trong các vật liệu sau đây, các vật liệu thường dùng để làm vật cách điện là
A. gỗ, sắt, đồng, nhôm. B. sơn, chì, gang, sành.
C. than, gỗ, đồng, kẽm. D. nhựa, nilông, sứ, cao su.
Câu 7. Dụng cụ nào sau đây không phải là nguồn điện?
A. Pin. B. Bóng đèn điện đang sáng. C. Ác quy. D. Đinamô ở xe đạp.
Câu 8. Hoạt động của dụng cụ nào dưới đây dựa trên tác dụng nhiệt của dòng điện?
A. Điện thoại di động. B. Tivi.
C. Rađiô ( máy thu thanh). D. Nồi cơm điện.
Câu 9. Vật nào dưới đây có thể gây ra tác dụng từ?
A. Mảnh nilon được cọ xát mạnh. B. Sợi dây cao su có hai đầu nối với hai cực của pin.
C. Một cuộn dây dẫn có dòng điện chạy qua. D. Một pin còn mới đặt riêng trên bàn.
Câu 10. Để mạ bạc cho một cái hộp bằng đồng thì làm theo cách nào đây?
A. Nối hộp với cực dương của nguồn điện rồi nhúng hộp ngập trong dung dịch muối bạc.
B. Nối hộp với cực âm của nguồn điện rồi nhúng hộp ngập trong dung dịch muối bạc.
C. Nối một thỏi bạc với cực âm của nguồn điện và nối hộp với cực dương của nguồn điện,
rồi nhúng thỏi bạc và hộp ngập trong dung dịch muối bạc để cho dòng điện chạy qua dung dịch
này.
D. Nối một thỏi bạc với cực dương của nguồn điện và nối hộp với cực âm của nguồn điện,
rồi nhúng thỏi bạc và hộp ngập trong dung dịch muối bạc để cho dòng điện chạy qua dung dịch
này.
Câu 11. Ampe (A) là đơn vị của đại lượng nào trong các đại lượng dưới đây?
A. Cường độ dòng điện. B. Lực .
C. Hiệu điện thế. D. Khối lượng riêng.
Câu 12. Dụng cụ dùng để đo cường độ dòng điện là
A. vôn kế. B. ampekế. C. nhiệt kế. D. nhiệt lượng
kế.
Đề thi có 2 trang

Câu 13. Giá trị cường độ dòng điện 0,35 A = ......mA
A. 3,5 . B. 350. C. 35. D. 0,035.
Câu 14. Am pe kế có giới hạn đo 50mA phù hợp để đo cường độ dòng điện nào dưới đây?
A. Dòng điện đi qua bóng đèn có cường độ là 0,35A.
B. Dòng điện đi qua bóng đèn có cường độ là 28mA.
C. Dòng điện đi qua bóng đèn có cường độ là 0,8A.
D. Dòng điện đi qua bóng đèn có cường độ là 0,50A.
Câu 15. Vôn kế là dụng cụ dùng để đo
A. cường độ dòng điện. B. hiệu điện thế . C. độ dài. D. nhiệt độ.
Câu 16. Đơn vị đo hiệu điện thế là
A. vôn (V). B. ampe (A). C. mét (m). D. mét khối (m3).
Câu 17. Trong trường hợp nào dưới đây không có hiệu điện thế (hay hiệu điện thế bằng 0)?
A. Giữa hai đầu một chuông điện đang reo.
B. Giữa hai đầu đèn LED đang sáng.
C. Giữa hai đầu bóng đèn có ghi 3V đang để trong quầy bán đồ điện.
D. Giữa hai cực của quả pin còn mới khi chưa mắc vào mạch.
Câu 18. Giá trị hiệu điện thế 50 V =........kV
A. 50000 . B. 5. C. 0,5 . D. 0,05.
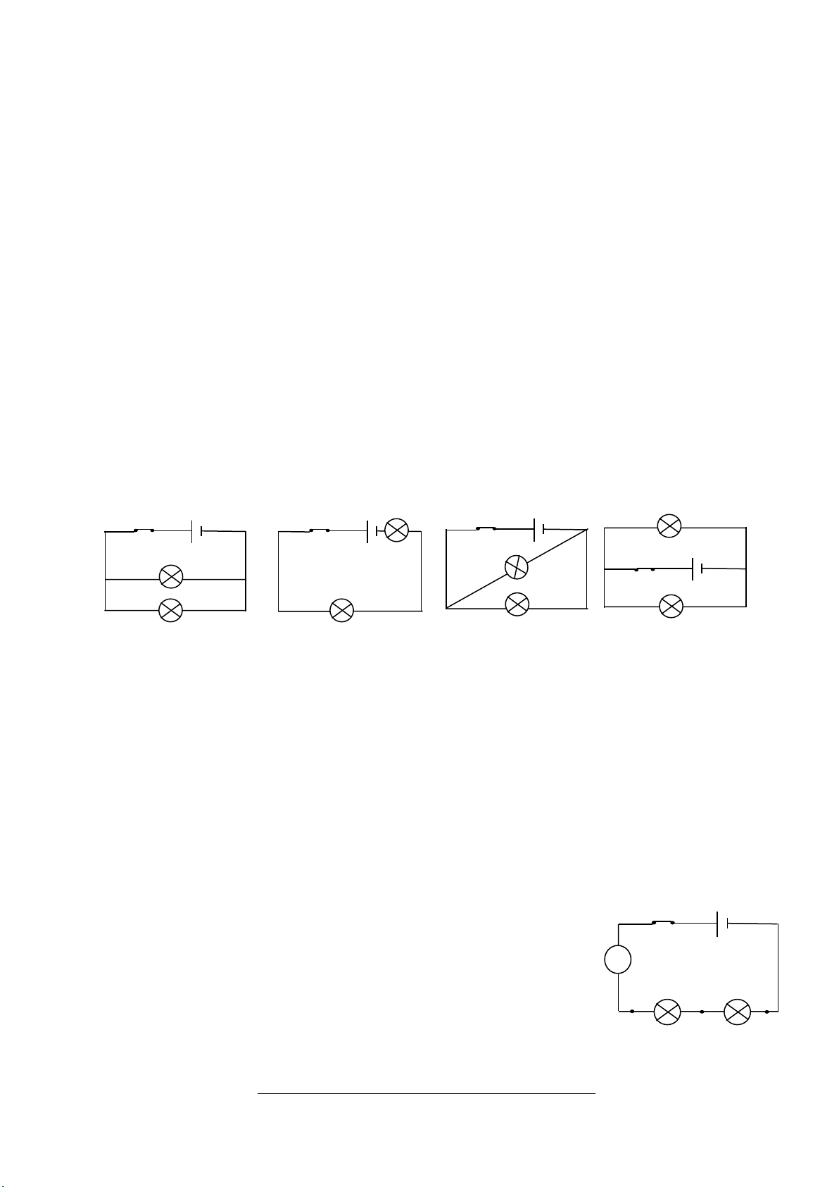
Câu 19. Có các mạch điện với sơ đồ như hình vẽ, cho biết sơ đồ nào hai bóng đèn không mắc song song
với nhau?
A. B. C. D.
Câu 20. Một đoạn mạch gồm hai bóng đèn Đ1, Đ2 mắc song song giữa hai điểm A, B. Dòng điện
chạy qua mỗi đèn có cường độ tương ứng là I1 = 0,3A ; I2 = 0,2A. Cường độ dòng điện (IAB)
chạy trong mạch chính có giá trị là
A. IAB = 0,2A. B. IAB = 0,3A. C. IAB = 0,5A. D. IAB = 0,1 A.
II. Tự luận (5 điểm)
Bài 1 (2điểm). Điền từ hoặc cụm từ thích hợp vào chỗ trống để được câu có nội dung đúng
a. Ta có thể làm nhiễm điện một vật bằng cách........(1)........ Sau khi bị nhiễm điện vật có
khả năng.....(2).....các vật nhỏ khác hoặc ....(3)....bóng đèn bút thử điện. Có ...(4)... loại điện tích.
Các điện tích cùng loại đặt gần nhau thì....(5)..., các điện tích khác loại đặt gần nhau thì...(6)....
b. Khi trời mưa thường xuất hiện sấm và sét. Hãy dùng kiến thức vật lý đã được học để giải
thích hiện tượng sấm và sét đó?
Câu 2 (3 điểm).
Cho mạch điện như hình vẽ. Ampe kế chỉ 0,3A, hiệu điện thế giữa hai
đầu đèn Đ1 là U12 = 3,2V và hiệu điện thế giữa hai đầu đèn Đ2 là U23 = 2,8V.
a. Hai bóng đèn được mắc như thế nào ? Tháo bớt một bóng đèn
thì đèn còn lại có sáng không? Vì sao?
b. Vẽ lại sơ đồ mạch điện và dùng mũi tên biểu diễn chiều dòng
điện chạy trong mạch?
c. Cường độ dòng điện qua đèn Đ1 và Đ2 là bao nhiêu?
d. Tính hiệu điện thế U13 giữa hai điểm 1 và 3 của hai đèn Đ1 và Đ2?
Họ và tên: .................................................... Số báo danh: ........... Phòng thi: ..............
Đ1
Đ2
1
2
3
+ -
K
A
+
_
+ -
K
K
K
+ -
+ -
+ -
K

HƯỚNG DẪN CHẤM HỌC KÌ II
Năm học 2019 - 2020
Môn: Vật lý 7
Phần I : Trắc nghiệm: Mỗi câu đúng 0,25 điểm
Câu
1
2
3
4
5
6
7
8
9
10
Đáp án
D
D
B
D
A
D
B
D
C
D
Câu
11
12
13
14
15
16
17
18
19
20
Đáp án
A
B
B
B
B
A
C
D
B
C
Phần II: Tự luận ( 5 điểm)
Câu 1: a. ( 1,5 điểm). Mỗi từ hoặc cụm từ điền đúng 0,25 điểm
1: cọ xát
4: hai
2: hút
5: đẩy nhau
3: làm sáng
6: hút nhau
b. (0,5 điểm).
Sự cọ xát mạnh giữa những giọt nước trong luồng không khí bốc lên cao là một trong những nguyên
nhân tạo ra các đám mây dông bị nhiễm điện. Khi đó giữa các đám mây này hoặc giữa chúng với mặt đất
xuất hiện các tia lửa điện.
+ Khi có sự phóng điện giữa đám mây với đám mây: Do nhiệt độ cao của tia lửa điện, không khí giãn nở
đột ngột, phát ra tiếng nổ gọi là sấm .
+ Khi có sự phóng điện giữa đám mây với mặt đất: đó là sét .
Câu 2: (3 điểm)
ý
Đáp án
Điểm
a
Hai bóng đèn đước mắc nối tiếp
Tháo một bóng thì bóng còn lại không sáng.
Vì mạch điện bị hở
0.5 đ
0.5 đ
0.25đ
b.
Biểu diễn đúng chiều dòng điện trong mạch
0.75 đ
c
I1=I2= 0,3 A
0.5 đ
d
Vì 2 đèn mắc nối tiếp nên U13=U12+U23= 3.2+2.8= 6V
0.5đ