
Đặc tính nền đáy ao
CHƯƠNG 4
ĐẶC TÍNH NỀN ĐÁY AO
Chất lượng nước có liên quan mật thiết đến tính chất nền đáy củ thủy vực, quá trình
hấp thụ và giải phóng các chất là biến đổi chất lượng nước, đặc biệt là sự hấp thụ và
giải phóng dinh dưỡng của nền đáy. Trong nuôi trồng thủy sản, một số đặc tính của
nền đáy ao sau đây được chú ý:
Bảng 4-1. Tính chất đất được chọn ảnh hưởng đến việc quản lý ao nuôi trồng thủy sản
Tính chất
Kết cấu và kích thước hạt
pH và phèn
Vật chất hữu cơ
Hàm lượng N và tỉ lệ C:N
Điện thế oxy hoá khử
Độ sâu của lớp phù sa
Hàm lượng chất dinh dưỡng
Các quá trình tác động trong ao
Xói mòn và lắng tụ, độ bền vững của bờ ao, thẩm
lậu, sự thích hợp của môi trường sống ở đáy ao
Nguồn chất dinh dưỡng sẵn có, hoạt động của vi
sinh vật, sức sản xuất của sinh vật đáy, độc tính
của H+
Độ bền vững của bờ ao, nhu cầu oxygen, cung cấp
chất dinh dưỡng, sự thích hợp của môi trường sống
ở đáy ao
Sự phân hủy của hợp chất hữu cơ, nguồn dinh
dưỡng sẵn có
Sự sản sinh độc tố, độ hòa tan của chất khoáng
Giảm thể tích ao, sự thích hợp của môi trường sống
ở đáy ao
Nguồn dinh dưỡng sẵn có và năng suất
1 NGUỒN GỐC BÙN AO/PHÙ SA TRONG AO ĐẤT
Trong ao nuôi thủy sản, vật chất lắng tụ ở đáy ao bao gồm các chất vô cơ như phù sa,
vật chất hữu cơ như phân bón, thức ăn thừa, xác chết của sinh vật... Nguồn gốc của
các vật chất lắng tự ở đáy ao bao gồm:
- Sự xói mòn và nước rửa trôi từ bờ ao
- Sự lắng đọng của các sinh vật kích thước nhỏ
- Thức ăn, chất thải của cá
- Chất rắn lơ lửng từ nguồn nước vào
- Nguồn phân bón, đặc biệt là phân chuồng
- Bụi bặm từ không khí
- Thực vật bậc cao.
55

Quản lý chất lượng nước nuôi trồng thủy sản
2 CÁC YẾU TỐ ẢNH HƯỞNG ĐẾN TỐC ĐỘ LẮNG TỤ
Tốc độ lắng tụ của vật chất trong trong ao phụ thuộc vào một số nhân tố như kích cỡ
hạt, tính chất hóa học của nước, sự chuyển động của nước, và sự khuấy động nền đáy.
- Cỡ hạt: vật chất lơ lửng có cỡ hạt khác nhau, vật chất cỡ hạt càng lớn (cát) lắng
tụ nhanh hơn những vật chất có cỡ hạt nhỏ (bùn hay sét)
- Tính chất hóa học của nước: nước có độ độ cứng và độ mặn cao thì tốc độ lắng
càng nhanh.
- Sự xáo trộn và chuyển động của nước: thủy vực nước tĩnh như ao hồ thì tốc độ
lắng tụ vật chất nhanh hơn những thủy vực nước chảy (sông, suối). Ngoài ra,
sóng, gió làm nước chuyển động sẽ làm chậm quá trình lắng tụ của vật chất.
- Khuấy động nền đáy: sự chuyển động của động vật (tôm, cá nuôi) hay quá
trình tìm mồi của sinh vật cũng làm cho chất lắng tụ tái lơ lửng trong tầng
nước.
Hình 4.1. Nguồn cung cấp và sự phân bố vật chất trong thủy vực
56

Đặc tính nền đáy ao
Hình 4-2. Chuyển động vật lý của nước và vật chất hoà tan trong một ao nuôi trồng
thủy sản.
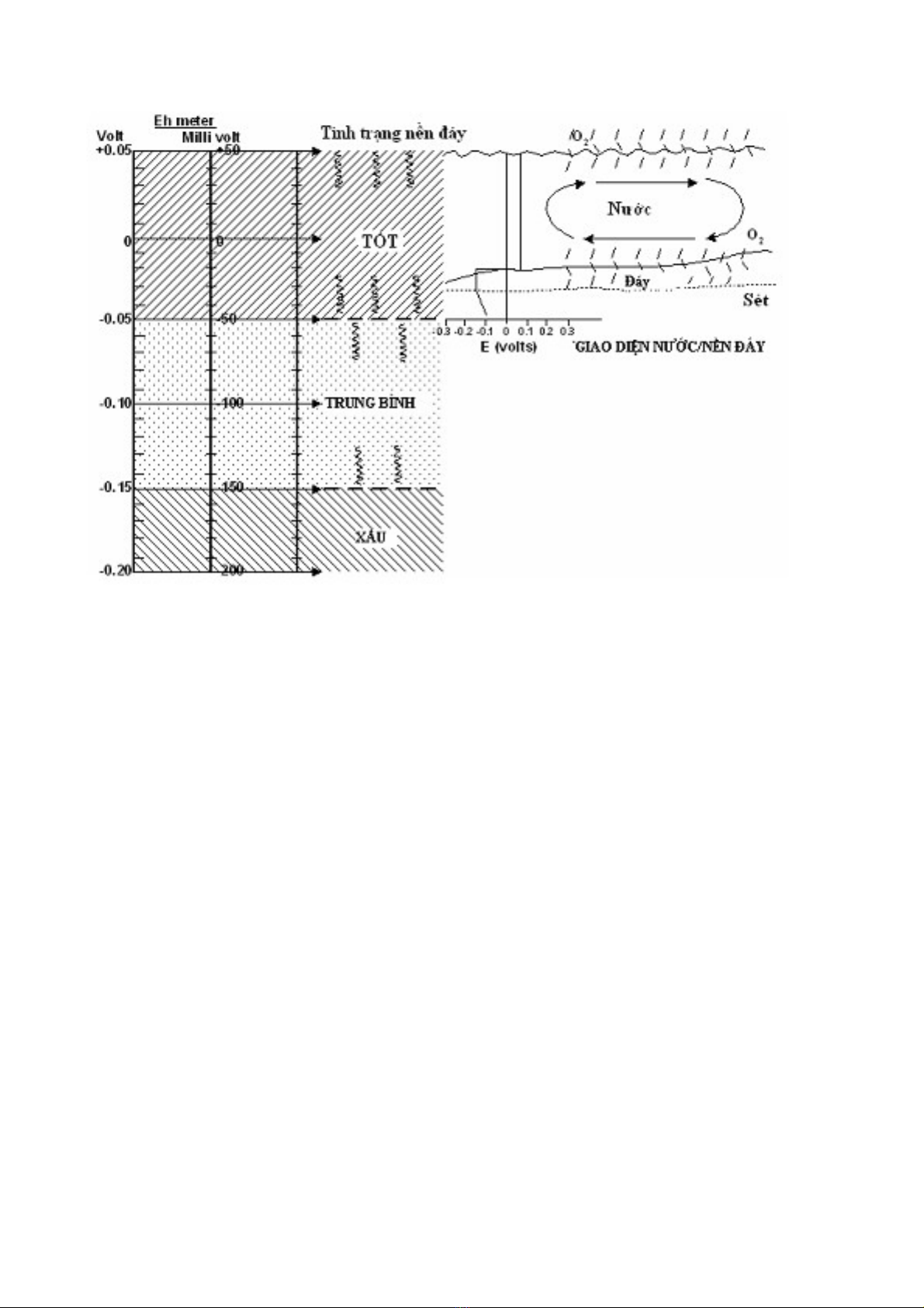
3 ĐIỆN THẾ OXY HOÁ KHỬ (REDOX)
-
Trong phản ứng chất bị oxy hóa là chất mất điện tử (e ) và chất bị khử là chất nhận
điện tử. Vì vậy, chất nhận điện tử được gọi là chất oxy hóa và chất mất điện tử được
gọi là chất khử.
Fe (chất oxy hóa) + e → Fe (chất khử)
Các chất khử trong nước ao: H S, Fe , Mn ..., chất oxy hóa như O (tự nhiên), và
các chất oxy hóa nhân tạo dùng trong khử trùng nước như HOCl hay OCl , O ...
Điện thế oxy hoá khử của một dung dịch là tỉ lệ thành phần chất oxy hoá và chất khử.
được biểu thị bằng giá trị E = +/-V (volt), or mV (milivolt).
Máy đo điện cực Platinum được dùng để đo điện thế oxy hóa khử, để đo giá trị này
chính xác tốt nhất được đo tại hiện trường (đo tại chỗ). Khi dòng điện tử di chuyển từ
dung dịch sang điện cực, dung dịch tồn tại chất khử và giá trị đo được là giá trị âm (-).
Ngược lại, dung dịch tồn tại chất oxy hóa dòng điện tử di chuyển từ điện cực sang
dung dịch và giá trị đo được là giá trị dương (+).
3+ - 2+
2+ 2+
2 2
- 3
57

Quản lý chất lượng nước nuôi trồng thủy sản
Hình 4-1. Điện thế oxy hoá khử cho ao tôm.
4 VẬT CHẤT HỮU CƠ TRONG BÙN
Vật chất hữu cơ (Organic matter -OM) trong bùn có nguồn gốc từ:
- Thức ăn thừa
- Phân bón (phân chuồng, phân xanh...)
- Xác phiêu sinh vật
- Chất bài tiêt của cá
Thức ăn thừa, xác phiêu sinh vật và chất bài tiết của sinh vật thường chứa nhiều N nên
làm chất lượng nước suy thoái nhanh. Phân hữu cơ hàm lượng N thấp nên làm chất
lượng nước suy thoái chậm.
Trong ao nuôi thủy sản thường tích lũy vật chất hữu cơ cao hơn so với đất nông
nghiệp. Vật chất hữu cơ trong bùn biến thiên trong khoảng 1-10% (trung bình khoảng
2 5- % ,)đ ất nông nghiệp có hàm lượng hữu cơ nhỏ hơn 2%.
Hàm lượng vật chất hữu cơ tăng dần theo độ sâu, do tầng sâu hàm lượng oxy hòa tan
thấp đã hạn chế quá trình phân hủy do vi khuẩn làm tăng sự tích lũy vật chất hữu cơ
trong bùn. Ao có nhiều thực vật lớn, ao bón phân chuồng tích lũy nhiều vật chất hữu
cơ hơn các ao thông thường.
Theo Boyd (1970) vật chất hữu cơ và đạm hữu cơ có mối tương quan theo phương
trình sau:
58

Đặc tính nền đáy ao
Y = 10 001 + 0,,
Trong đó,
0 55X (R 2 = 0,87)
Y : phần trăm OM; X: phần trăm đạm hữu cơ
Tỉ lệ C:N trong bùn đáy ao thường nằm trong khoảng 6:1 đến 35:1, ao bón phân
chuồng thường có C:N là 7:1 đến 14:1
Một số đầm lầy than bùn ở nước lợ hoặc nước ngọt có hàm lượng vật chất hữu cơ cao,
khoảng 75% thể tích đất là xác thực vật. Trong điều kiện thiếu oxy, quá trình phân
hủy chậm và đất có tính acid cao.
5 SỰ PHÂN HỦY CỦA VẬT CHẤT HỮU CƠ
Quá trình phân hủy hiếu khí làm giảm oxy trong ao, một số yếu tố ảnh hưởng đến quá
trình phân hủy hữu cơ gồm:
- Nhiệt độ: nhiệt độ tối ưu cho vi sinh vật tùy từng loài. Tốc độ phân hủy tăng
dần từ 2-35 C. Nhiệt độ tăng 10 C thì tốc độ phân hủy tăng 2 lần và tiêu thụ
oxy gấp đôi.
- pH: vi khuẩn thường hoạt động tốt ở môi trường trung tính hay kiềm yếu. Nấm
hoạt động tốt trong môi trường acid. Vật chất hữu cơ bị phân hủy nhanh hơn
trong môi trường trung tính hay kiềm yếu so với môi trường acid.
- DO: Phân hủy hiếu khí xảy ra càng nhanh khi trong môi trường hàm lượng oxy
hòa tan đạt đến mức bão hòa
Một số vi khuẩn có khả năng phân hủy cả trong điều kiện hiếu khí và yếm khí và một
số chỉ phân hủy yếm khí khi oxy hòa tan thấp. Tốc độ phân hủy yếm khí thường chậm
và không hoàn toàn (sản phẩm cuối cùng là alcohol hay acid hữu cơ) so với phân hủy
hiếu khí (sản phẩm cuối cùng là CO 2)
6 ĐẤT ĐÁY AO
6.1 Kết cấu đất
Kết cấu đất chỉ tỉ lệ hạt tương đối với các cỡ khác nhau như cát, phù sa và sét trong
đất. Kết cấu ảnh hưởng đến khả năng sử dụng đất, lượng nước và không khí chứa
đựng trong đất, tốc độ thấm qua đất của nước.
Để xác định kết cấu của một mẫu đất, trước hết phải tách riêng đất mịn có tất cả các
hạt nhỏ hơn 2 mm khỏi những hạt lớn hơn như sỏi và đá. Đất mịn là hỗn hợp của cát,
bùn và sét. Dùng sàng với kích thước mắc lưới khác nhau để xác định tỉ lệ hạt tương
đối và sử dụng sơ đồ tam giác USDA để phân loại đất:
o o
59

