
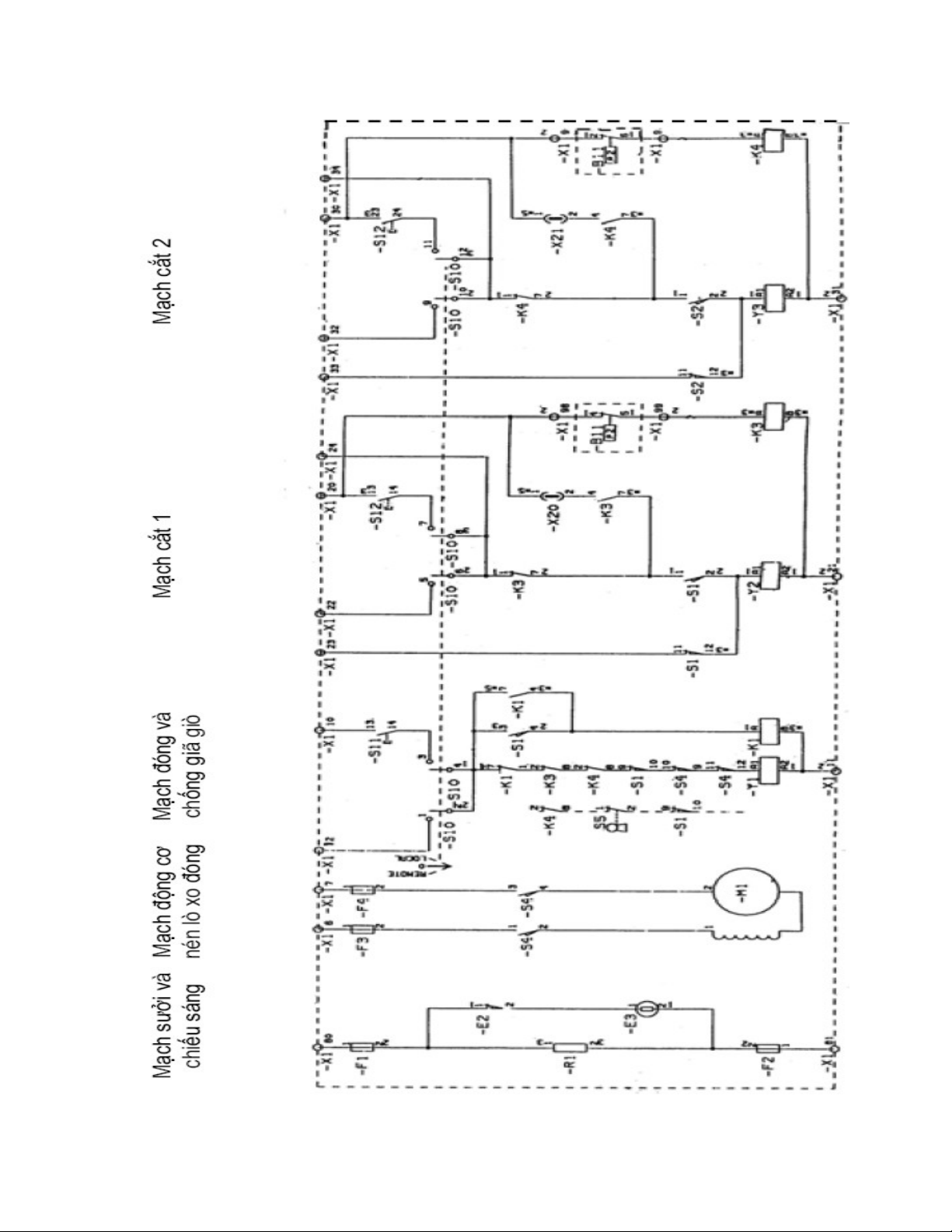
3.5. S đ đi u khi n và tín hi u máy c t SF6ơ ồ ề ể ệ ắ – GL.107
Đ hi u rõ h n v m ch đi u khi n, chúng ta cùng tìm hi u m tể ể ơ ề ạ ề ể ể ộ
ph n m ch nh th m t tr m bi n áp c th .ầ ạ ị ứ ộ ạ ế ụ ể
+ Máy c t GL 107 do Gec Alsthom ch t o dùng khí SF6 đ cáchắ ế ạ ể
đi n và d p t t h quang. Ba c c c a máy c t đ c đ t trên cùng m t giáệ ậ ắ ồ ự ủ ắ ượ ặ ộ
đ b ng kim lo i và có chung m t c c u truy n đ ng lò xo (có hai lo iỡ ằ ạ ộ ơ ấ ề ộ ạ
lò xo: m t lo xo đóng - m t lo xo c t). Giá đ máy c t có hai tr đ và tộ ộ ắ ỡ ắ ụ ỡ ủ
đi u khi n máy c t đ c l p gi a hai tr đ này. Máy c t truy n đ ng baề ể ắ ượ ắ ữ ụ ỡ ắ ề ộ
pha đ ng th i, năng l ng dùng đ đóng - c t máy c t. Giá đ máy c t cóồ ờ ượ ể ắ ắ ỡ ắ
hai tr đ và t đi u khi n máy c t đ c l p gi a hai tr đ này. Máyụ ỡ ủ ề ể ắ ượ ắ ữ ụ ỡ
c t truy n đ ng ba pha đ ng th i, năng l ng dùng đ đóng c t máy c tắ ề ộ ồ ờ ượ ể ắ ắ
đ c tích lu trong các lò xo đóng và lò xo c t.ượ ỹ ắ
Các tín hi u máy c t đ c truy n vào nhà đi u hành đ ng th iệ ắ ượ ề ề ồ ờ
nh n tín hi u đi u khi n t nhà đi u hànhậ ệ ề ể ừ ề
+ M ch đi u khi n máy c t đ c b trí trong t đi u khi n máyạ ề ể ắ ượ ố ủ ề ể
c t, g m có:ắ ồ
- M t m ch s i và đèn chi u sáng khi c a t đi u khi n m raộ ạ ưở ế ử ủ ề ể ở
- M ch c p ngu n và đi u khi n đ ng cạ ấ ồ ề ể ộ ơ
- M ch đóng và ch ng giã giò (không cho máy c t đóng l p l i trongạ ố ắ ặ ạ
tr ng h p l nh đóng v n duy trì mà máy c t b c t ra do r -le b o v )ườ ợ ệ ẫ ắ ị ắ ơ ả ệ
- Hai m ch c t máy c t. Yêu c u c a m ch đi n c t máy c t làạ ắ ắ ầ ủ ạ ệ ắ ắ
luôn luôn tr ng thái t t, s n sàng làm vi c đ m đ c máy c t, nh t làở ạ ố ẵ ệ ể ở ượ ắ ấ
khi máy c t đang tr ng thái “đóng” mà có tác đ ng c a r -le b o v .ắ ở ạ ộ ủ ơ ả ệ

- Chú thích cho m ch đi u khi n b ng ạ ề ể ả

a


