
Hướng dẫn giải Bài tập Cơ lý thuyết - Hệ: Liên thông – Trường ĐHGTVT Page 1
PhÇn ®éng lùc häc(9 bµi)
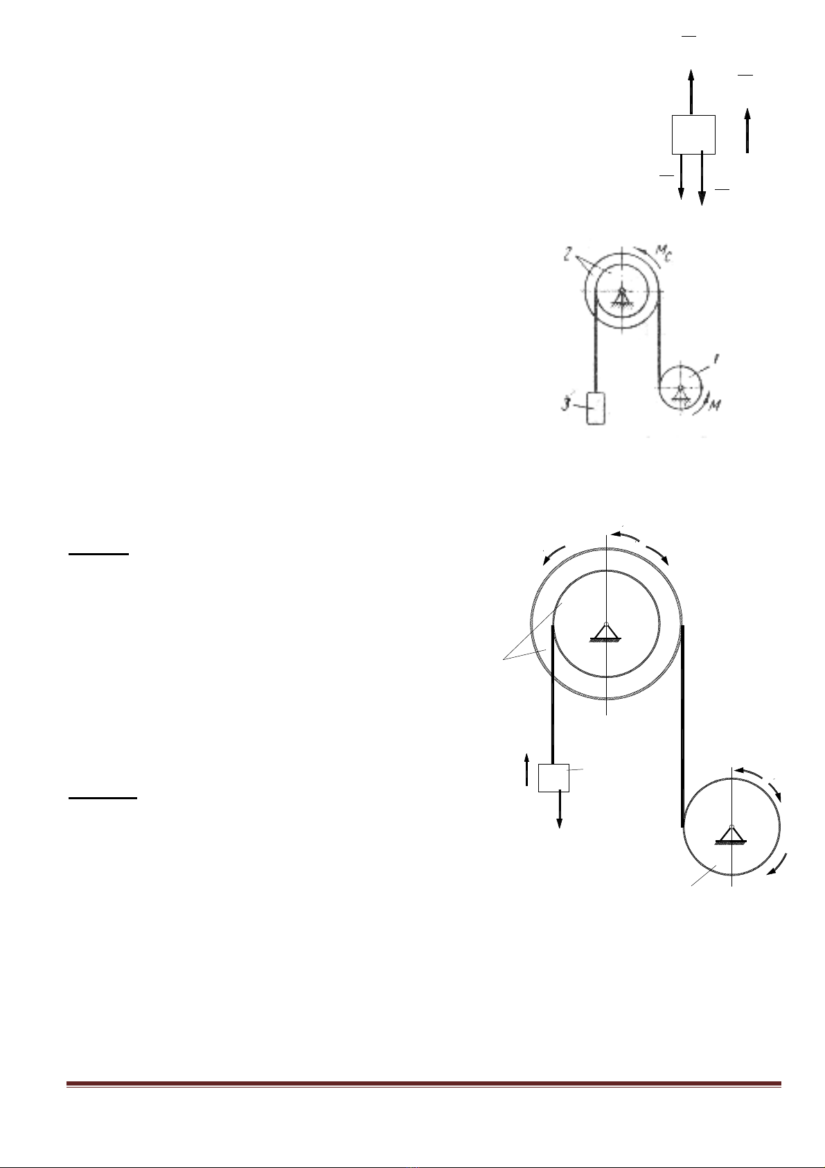
Bµi 1
Cho M,Mc=const;
Khèi l−îng c¸c vËt 1;2;3 t−¬ng øng m
1
;m
2
;m
3
BiÕt vËt 1 lµ h×nh trô ®Æc ®ång chÊt cã b¸n kÝnh R
1
B¸n kÝnh vµnh trong vµ ngoµi cña vËt 2 lµ r
2
vµ R
2
B¸n kÝnh qu¸n tÝnh cña vËt 2 ®èi víi trôc quay lµ
ρ
2
T×m gia tèc cña vËt 3.
HD: Lµm theo c¸c b−íc trong vÝ dô
Bước1: Đưa gia tốc vào cơ hệ như hình
vẽ
-…
-…
-…
Liên hệ gia tốc:
ε
2
=W3/R2;
ε
1
=
ε
2
.r2/R1= W3.r2/(R1.R2);
Bước 2: Bổ xung lực quán tính như hình
vẽ.
F3qt=m3.W3;
M2qt=J02.
ε
2
=m2.
ρ
2
2
.
W3/R2;
M1qt=J01.
ε
1
=(m1.R
1
2
/2). W3.r2/(R1.R2)=….;
Bước 3: Giải phóng liên kết và lập các phương trình cân bằng tĩnh-động
*/ Tách vật (1) và giải phóng liên kết như
hình vẽ:
(Lập phương trình mô men đối với O1)
M
Mc
1
2
3
M
ε
1
1
qt
M2
qt
ε
2
W3
F3
qt
M
M
ε
1
1
qt
Ft
X
Y
1
P
1
1
O1
N

Hướng dẫn giải Bài tập Cơ lý thuyết - Hệ: Liên thông – Trường ĐHGTVT Page 2
*/ Tách vật (2) và (3) rồi giải phóng liên kết:
(Lập phương trình mô men đối với O2)
Giải 2 phương trình với 2 ẩn số W3 và lực tiếp
tuyến Ft.
Nếu bài toán hỏi thêm lực căng của dây thì tách vật (3) và lập
phương trình chiếu các ngoại lực và lực quán tính lên trục thẳng
đứng y.
Bµi 2
Cho Mc, P=const;
Khèi l−îng c¸c vËt 1;2;3 t−¬ng øng m
1
;m
2
;m
3
BiÕt vËt 2 lµ h×nh trô ®Æc ®ång chÊt cã b¸n kÝnh R
2
B¸n kÝnh vµnh trong vµ ngoµi cña vËt 1 lµ r
1
vµ R
1
B¸n kÝnh qu¸n tÝnh cña vËt 1 ®èi víi trôc quay lµ
ρ
1
T×m gia tèc cña vËt 3.
HD: Lµm theo c¸c b−íc trong vÝ dô
Bước1: Đưa gia tốc vào cơ hệ như hình vẽ
-…
Mc M
2
qt
ε
2
W
3
F
3
qt
N
F
t
'
'
X
Y
2
P
2
2
O
2
P
3
W
3
F
3
qt
P
3
T

Hướng dẫn giải Bài tập Cơ lý thuyết - Hệ: Liên thông – Trường ĐHGTVT Page 3
-…
-…
Liên hệ gia tốc:
ε
1
=W3/R1;
ε
2
=
ε
1
.r1/R2= W3.r1/(R1.R2);
Bước 2: Bổ xung lực quán tính như hình vẽ.
M1qt=J01.
ε
1
=m1.
ρ
1
2
.
W3/R1;
M2qt=J02.
ε
2
=(m1.R
2
2
/2). W3.r1/(R1.R2)=….;
F3qt=m3.W3;
Bước 3: Giải phóng liên kết và lập các phương trình cân bằng tĩnh-động
*/ Tách vật (1) và (3) rồi giải phóng liên kết như
hình vẽ:
(Lập phương trình mô men đối với O1)
*/ Tách vật (2) và giải phóng liên kết:
(Lập phương trình mô men đối với O2)
Giải 2 phương trình với 2 ẩn số W3 và lực tiếp
tuyến Ft.
M
1
2
3
ε
2
2
qt
M
1
qt
ε
1
W
3
F
3
qt
P
Mc
O
1
1 3
M
1
qt
1
W
F
3
qt
P
3
P
3
ε
X
Y
1
P
1
1
O
1
F
t
N
M
ε
2
2
qt
Mc
X
Y
2
P
2
2
O
2
N
F
t
'
'

Hướng dẫn giải Bài tập Cơ lý thuyết - Hệ: Liên thông – Trường ĐHGTVT Page 4
Nếu bài toán hỏi thêm lực căng của dây thì tách vật (3) và lập
phương trình chiếu các ngoại lực và lực quán tính lên trục thẳng
đứng y.
Bµi 3
Cho M,Mc=const;
Khèi l−îng c¸c vËt 1;2;3 t−¬ng øng m
1
;m
2
;m
3
BiÕt vËt 1 lµ h×nh trô ®Æc ®ång chÊt cã b¸n kÝnh R
1
B¸n kÝnh vµnh trong vµ ngoµi cña vËt 2 lµ r
2
vµ R
2
B¸n kÝnh qu¸n tÝnh cña vËt 2 ®èi víi trôc quay lµ
ρ
2
T×m gia tèc cña vËt 3.
HD: Lµm theo c¸c b−íc trong vÝ dô
Bước1: Đưa gia tốc vào cơ hệ như hình vẽ
-…
-…
-…
Liên hệ gia tốc:
ε
2
=W3/r2;
ε
1
=
ε
2
.R2/R1= W3.R2/(R1.r2);
Bước 2: Bổ xung lực quán tính như hình vẽ.
F3qt=m3.W3;
M2qt=J02.
ε
2
=m2.
ρ
2
2
.
W3/r2;
M1qt=J01.
ε
1
=(m1.R
1
2
/2). W3.R2/(R1.r2)=….;
W
3
F
3
qt
P
3
T
W
3
F
3
qt
O
2
O
1
M
Mc
1
2
3
M
ε
1
1
qt
M
2
qt
ε
2

Hướng dẫn giải Bài tập Cơ lý thuyết - Hệ: Liên thông – Trường ĐHGTVT Page 5
Bước 3: Giải phóng liên kết và lập các phương trình
cân bằng tĩnh-động
*/ Tách vật (2) và (3) rồi giải phóng liên kết như hình
vẽ:
(Lập phương trình mô men đối với O1)
*/ Tách vật (1) và giải phóng liên kết:
(Lập phương trình mô men đối với O2)
Giải 2 phương trình với 2 ẩn số W3 và lực căng dây
T1.
Nếu bài toán hỏi thêm lực căng của dây treo vật (3) thì tách vật (3)
và lập phương trình chiếu các ngoại lực và lực quán tính lên trục
thẳng đứng y.
W
3
F
3
qt
P
3
T
Mc
2
3
M
2
qt
ε
2
W
3
F
3
qt
X
Y
2
P
2
2
O
2
T'
1
P
3
M
1M
ε
1
1
qt
T
1
X
Y
1
P
1
1
O
1

